На форуме было много споров по поводу "флюгерной утки". Попыток создания "самоустойчивого" самолета очень много (например, в России этим занимался Ботезат). Но недавно нашел весьма примечательный аппарат.
Началось с разбора фото, сделанных в филиале Немецкого политехнического музея в Обершляйсхайм (альбом выоложен здесь: http://www.reaa.ru/cgi-bin/yabb/YaBB.pl?num=1229098820/90
На этом фото - самолет Фридриха Будиг (начало 20-х гг., Германия):
Начал копать, нашел упоминание о том, что автор применил систему автоматического обеспечения устойчивости. И, наконец, наткнулся на сайт:
http://claudel.dopp.free.fr/Les_planeurs/Descriptions_planeurs/Budig/Budig.htm
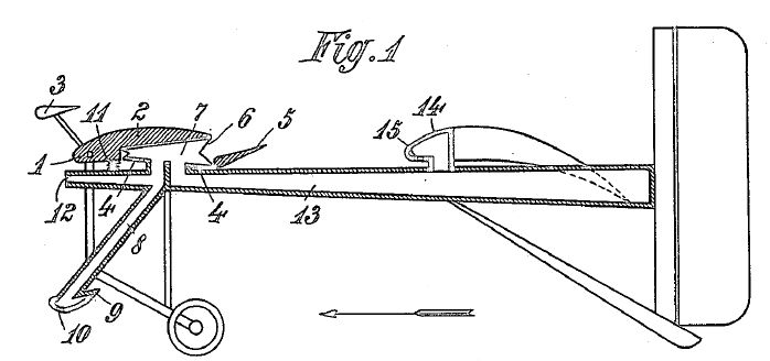
Тут выложены материалы патента, и от принципа работы я слегка офигел. Ближайшим механизмом являются кузнечные меха, или гармоника. Именно это приводило в движение передний стабилизатор:
Вот схема работы системы:
Началось с разбора фото, сделанных в филиале Немецкого политехнического музея в Обершляйсхайм (альбом выоложен здесь: http://www.reaa.ru/cgi-bin/yabb/YaBB.pl?num=1229098820/90
На этом фото - самолет Фридриха Будиг (начало 20-х гг., Германия):

Начал копать, нашел упоминание о том, что автор применил систему автоматического обеспечения устойчивости. И, наконец, наткнулся на сайт:
http://claudel.dopp.free.fr/Les_planeurs/Descriptions_planeurs/Budig/Budig.htm

Тут выложены материалы патента, и от принципа работы я слегка офигел. Ближайшим механизмом являются кузнечные меха, или гармоника. Именно это приводило в движение передний стабилизатор:

Вот схема работы системы:
