Nickk
89613290434
- Откуда
- Новочеркасск
Сергей здравствуй! Собрал рессору все гуд! Спасибо! https://youtu.be/PUB5JQfdk7I
Follow along with the video below to see how to install our site as a web app on your home screen.
Примечание: This feature may not be available in some browsers.

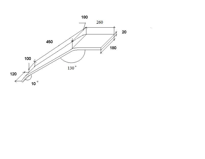
Концы можно заузить до 80мм.Точно, 170 градусов, а взлётный вес до 750 кг. Может сделать чуть уже? Конструктивно, нам даже будет интереснее.