• Вышел новый выпуск программы ФлайтТВ, посвященный современным российским ЮПШ (юношеским планерным школам).
    Видео на Youtube. Ссылки на другие платформы и обсуждение в теме на форуме.

Токарная,фрезерная обработка,литьё алюминия,оксикарбонитрация

Очередной заказик детали крепления подкоса
 

Вложения

  • DSC07460_001.JPG
    DSC07460_001.JPG
    82,4 КБ · Просмотры: 225
Вот такое сделаете? Д16Т.
 

Вложения

  • 1_881.jpg
    1_881.jpg
    55 КБ · Просмотры: 230
А еще фото можно с другой стороны.
попробовать можно из спортивного интереса, для обычного фрезерного деталь не простая.,штампованная, на чпу просится.
 
Ещё. Есть и чертежи, бумажные, правда.
 

Вложения

  • image-0-02-04-04cad7f45f0c567863ca79baf45ff8f2ae0202d5d11598acf8c8834e0924e44b-V.jpg
    image-0-02-04-04cad7f45f0c567863ca79baf45ff8f2ae0202d5d11598acf8c8834e0924e44b-V.jpg
    82,9 КБ · Просмотры: 218
Добрый день. Нужны 2 детальки  д16т цена и сроки.
 

Вложения

  • 107_3658_640x480.JPG
    107_3658_640x480.JPG
    44,5 КБ · Просмотры: 239
Станислав, добрый день!
Что случилось, почему Вы не отвечаете на письма?
Очень жду от Вас оценку стоимости и сроков изготовления.
 
Здравствуйте! Можете сделать переходящее крепление с рессоры на вал колеса (узел) ?
 
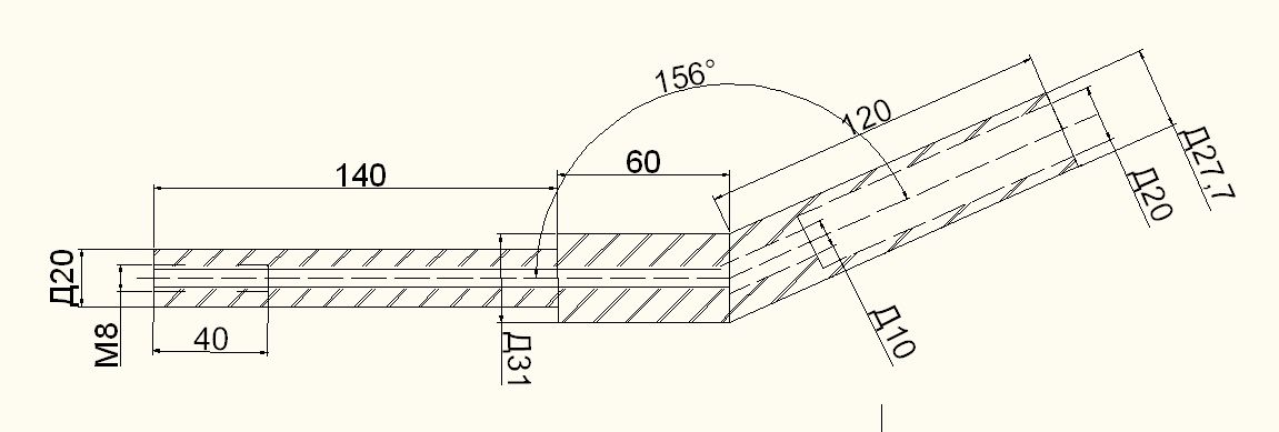
Добрый день. Сколько будет стоить изготовить 2 такие оси из стали?
 

Вложения

  • CHertezh_osi_001.jpg
    CHertezh_osi_001.jpg
    45,3 КБ · Просмотры: 239
Высокие температуры характерны только для цементации, там действительно нагрев идет до 850-950 град. С.  А вот при азотирования температура значительно меньше. Особенно это касается процесса  ионно-плазменного азотирования с созданием технического вакуума.   И температура не поднимается выше 500 грд.С. И термических поводок  практически нет. Хорошая информация о современных методиках получения твердых поверхностей стали, чугуна, титана и проч- на сайте http://azotirovanie.ru Фото- оттуда, хорошо виден процесс  работы тлеющего коронного разряда на поверхности насыщаемой азотированием  детали

И что дальше? Заведите свою ветку и рекламируйте там свои дела.
 
Станислав, добрый день. Написал на почту, по поводу оксикарбонитрации. Жду ответа.
 
Назад
Вверх