Бесшатуннные двигатели-3

Данный рисунок заказан противниками БШМ дабы показать всем
"КАК ПРИ КАЖДОМ ДВИЖЕНИИ ПОРШЕНЬ ВРЕЗАЕТСЯ В ЦИЛИНДР И МЕХАНИЗМ ТУТ ЖЕ КЛИНИТ"
Мне неизвестно, кто там чего заказал, но выглядит вполне работоспособным. Оба предка, и Неандер, и эксцентриковый БШМ, существуют в металле и даже работают.
 
Мне неизвестно, кто там чего заказал, но выглядит вполне работоспособным. Оба предка, и Неандер, и эксцентриковый БШМ, существуют в металле и даже работают.
набиулина и силуанов тоже выглядят вроде как умными
 
набиулина и силуанов тоже выглядят вроде как умными
Наверное, с этим вопросом вам лучше к ним и обратиться, а не срать в камментах тут. Если же есть конкретные замечания - с удовольствием бы ознакомился.
 
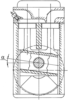
Эксцентриковый вариант такой компоновки выглядит самым пригодным для практической реализации.
Опечатка. Перепутали слова "практической" и "теоретической".
А слово "реализации" тут вообще лишнее.
Никто это делать не будет. Даже Вы не будете. Никогда. Даже если будут все возможности.
Как дойдёт до дела, сядете, ещё раз хорошенько подумаете чего тут нагородили, и скажете "чё за бред"... 😁
 
Опечатка. Перепутали слова "практической" и "теоретической".
А слово "реализации" тут вообще лишнее.
Никто это делать не будет. Даже Вы не будете. Никогда. Даже если будут все возможности.
Как дойдёт до дела, сядете, ещё раз хорошенько подумаете чего тут нагородили, и скажете "чё за бред"... 😁
И вообще никто ничего в РФ делать не будет. Сядет, подумает, выпьет водки, почитает Вас и Костенко и плюнет.... 😊 😊 😊
 
ККМ имеет один но большой недостаток. Его невозможно полностью уравновесить только противовесами коленвала. Это плата за отсутствие соединительного вала с зубчатыми передачами.
Ну, балансирный вал/валы никто не отменял жеж. Зато ККМ имел в истории многочисленные реализации. В ТЧ серийные. Помнится, что паровозы на ККМ ходили. В станочном парке тоже издревле и массово применяется, хотя это именно к ДВС так себе относится.
Имху
 
Я уже писал про это. Народ желает создать себе трудности чтобы их "героически преодолеть".
В посте 169 изображён вариант Н-образной компоновкой и двумя шестернями. Что мешает поставить вместо эксцентриков обычные одноколенные коленвалы и соединить их через спаренную кулису? Имеем спаренную кулису, два камня и два коленвала. Если у обычного ККМ отношение S/D обычно ограничивают величиной 0,8, то в спаренном можно рассмотреть вариант и с S/D=1. Спаренная кулиса разгружает шестерни и является также синхронизатором. Я тут на сайте показывал вариант Н-образного двигателя с золотниковым ГРМ, двигатель 4Н8,5х6,4. Вместо КШМ прорабатывал вариант под спаренный ККМ. Мне сейчас не до этого, полно другой работы, с ней бы разобраться. Так что свет клином не сошёлся на БСМ, есть решения проще и технологичней. Дерзайте.
Я собственно ККМ давно рассматривал как привод для своей ДПМ. Усилиями одного из форумчан, напечатавшего несколько моделек, идея была проверена и слегка причесана. Вполне работает. В ДПМ есть проблема, в ТЧ и с габаритами. Меня интересует, как у ККМ с нагрузками/ресурсом. Я вот по простому рассудил: в ККМ нужно камню обеспечить площадь опоры/контакта с кулисой примерно такую же, как в обычном вкладыше шатуна ДВС-однокласника. Тогда износ, ресурс и ТД будут сравнимы.
Имху
 
ККМ хорош для двигателя с числом цилиндров более 4 в одностороннем варианте. При 4 парах цилиндров в однотороннем варианте достигается полная уравновешенность двигателя. Так как 4 пары кулис с поршнями при движении уравновешивают друг друга как и поршни четырехцилиндрового рядного двигателя.
Для двух и 4 цилиндровых моторов лучше БСМ с симметричным кленвалом.. Это односторонние варианты, если нужны оппозиты, то все умножается на 2.
Посмотреть вложение 575668Посмотреть вложение 575669
В ДПМ полное уравновешивание достигается по умолчанию, просто из самой идеи. Потому что "поршни" движутся по радиусам, а вращающимся коленвала всегда есть противолежащие такие же их уравновешивающие.
 
Очень интересно в ККМ применение не прямого угла для направляющих кулисного камня. Как и дезаксажа...
Посмотреть вложение 575671
Угу. Рассматривал такое. Вообще ККМ для ДПМ оказался очень к месту. Можно "поршни" делать одновременно и кулисой и он же в качестве ползуна выступают. И, при определенных условиях, даже синхронизатора.
 
Мне неизвестно, кто там чего заказал, но выглядит вполне работоспособным. Оба предка, и Неандер, и эксцентриковый БШМ, существуют в металле и даже работают.

Немножко подумав, назвал эту конструкцию, в англоязычном ютубе, "RusYoke" - от "Russian Yoke", потому что внешне похожа на известный "ScotchYoke" (он же - кривошипно-кулисный механизм).

И да, я тот ещё тролль
Смеющийся
 
Немножко подумав, назвал эту конструкцию, в англоязычном ютубе, "RusYoke" - от "Russian Yoke", потому что внешне похожа на известный "ScotchYoke" (он же - кривошипно-кулисный механизм).

И да, я тот ещё тролль
Смеющийся
Лучший троллинг - реализация в металле. Планируете?
 
Лучший троллинг - реализация в металле. Планируете?
Если найду единомышленников - да.
У меня лично - производственной базы нет для реализации, только макет могу напечатать - проверить собираемость, и т.п.
 
т-щу Крейгу определённо зашла схема со спаренными эксцентриками (и овальными поршнями) 🙂
Запилил ещё один видосик)
Screenshot_20250516_111128_org.mozilla.firefox.jpg
 
Назад
Вверх