Бесшатуннные двигатели-3

...есть более жизнеспособные механизмы с зубчатой передачей, в которых эта задача решена, например этот.
Посмотреть вложение 587547
В общем, попробовал я эту конструкцию смоделировать - печалька, не крутится она. "Мотор был очень похож на настоящий, но не работал" 😏
1764346478121.png

красная шестерня вращается совместно с эксцентриком, зеленая большая в зацеплении с ней - не вращается, а колеблется, малая зеленая - интерферирует с неподвижной на корпусе.
 
Какова ниша "вайземана", вы об этом думали? Авиамоделизм? Как вы его сможете масштабировать? Как нарастить число цилиндров? 😎 Да и с балансировкой вопросы.
Это к кому вопрос то? Недостатки этой схемы известны, и уже неоднократно тут озвучены.
 
не крутится она
Патент не гарантирует работоспособность предлагаемого механизма, это при получении свидетельства об изобретении в СССР требовалось доказывать работоспособность, но и тогда неработоспособный конструкции встречались
 
Это к кому вопрос то? Недостатки этой схемы известны, и уже неоднократно тут озвучены.
И это значит, "вайземан" фуфел и Вайземан дальше не пошёл? Озадачил потомков типа. А если кто решит сей ребус, то название он застолбил? В ваших, хм, межушных ганглиях. 😀
 
Последнее редактирование:
В общем, попробовал я эту конструкцию смоделировать - печалька, не крутится она. "Мотор был очень похож на настоящий, но не работал" 😏
Посмотреть вложение 587870
красная шестерня вращается совместно с эксцентриком, зеленая большая в зацеплении с ней - не вращается, а колеблется, малая зеленая - интерферирует с неподвижной на корпусе.
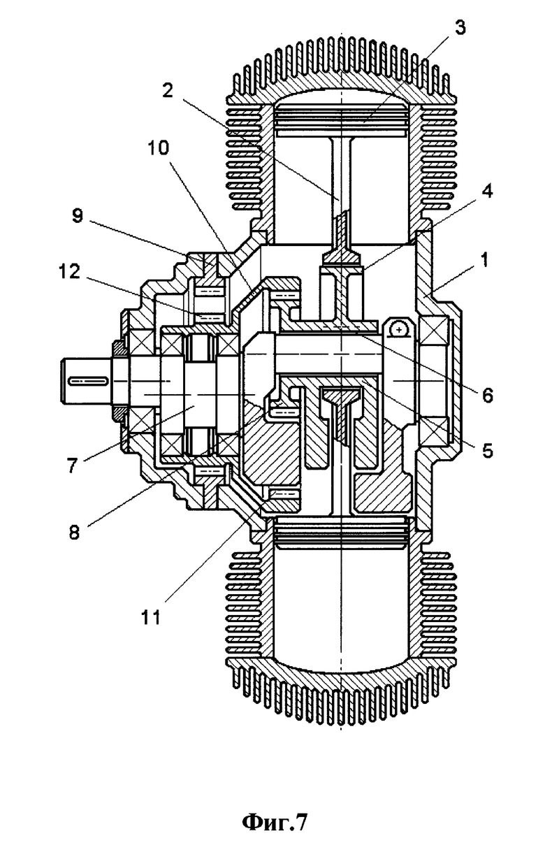
Посмотрим на исходный чертёж. Шестерня 10 благодаря редуктору 12 крутится в обратную сторону от вращения коленвала. Что прибавляет ей длины окружности относительно шестерни суррогата планетарного коленвала (5). И по этому, соотношение её диаметра и диаметра шестерни суррогата ПК не 1/2. Вероятно, можно рассчитать отношения диаметров шестерён так, что передаточное число от шестерни суррогата ПК к шестерне 9 составит 1/2. И только это передаточное число обеспечит работоспособность.
Но, я до сих пор не вижу в этом смысла. Увеличение диаметра шестерни это не способ увеличения нагрузочной способности.
 
И это значит, "вайземан" фуфел и Вайземан дальше не пошёл? Озадачил потомков типа. А если кто решит сей ребус, то название он застолбил?
Механизмы с гипоциклоидной шестеренной передачей - были и до Вайземана. Ссылки я давал выше. Вот, например, ещё один из книги Мищенко (вышла в 1998г.):
1764408128243.png

Ценой некоторого усложнения - можно сгладить их органические недостатки (малый диаметр "шатунной шейки" коленвала и шестерни на эксцентрике - от чего ограничена передаваемая мощность). Например, можно сделать вторую зубчатую пару с обратной стороны эксцентрика. Или сдвоить такой механизм, объединив оба эксцентрика общей штоковой рамой, и применив два КВ противоположного вращения - снизить нагрузку на их шейки вдвое. Получится даже компактнее, чем сдвоенный ККМ у Мищенко, при близкой сложности.
В ваших, хм, межушных ганглиях. 😀
По крайней мере, в моих "межушных ганглиях", в отличии от ваших - что-то есть.

Посмотрим на исходный чертёж. Шестерня 10 благодаря редуктору 12 крутится в обратную сторону от вращения коленвала. Что прибавляет ей длины окружности относительно шестерни суррогата планетарного коленвала (5). И по этому, соотношение её диаметра и диаметра шестерни суррогата ПК не 1/2. Вероятно, можно рассчитать отношения диаметров шестерён так, что передаточное число от шестерни суррогата ПК к шестерне 9 составит 1/2. И только это передаточное число обеспечит работоспособность.
Но, я до сих пор не вижу в этом смысла.
Я тоже так думал. Но нет) Смотрим видео, и делаем выводы.
Увеличение диаметра шестерни это не способ увеличения нагрузочной способности.
Есть не только шестерня, но и шейка вала, диаметр которой - зависит от диаметра шестерни.

Наверное в зазорах (их нехватки) дело было ?!🙄
Судя по характеру движения зеленых шестерен, увеличение зазора тут не поможет.
 
Зелёная солнечная шестерня у вас не вращается, а должна бы. Не ошибка ли это?
Механизмы с гипоциклоидной шестеренной передачей - были и до Вайземана. Ссылки я давал выше.
Перефразируя Крылова: Он вайземан уж тем, что лень менять привычку. И это далеко от объективности.
 
Последнее редактирование:
Пример спаренного БШМ с гипоциклоидной зубчатой передачей. размерность 80/80, диаметр шеек эксцентриков 30мм. Модуль шестерен - 2мм.

Кажется вполне применимым в профессиональном ручном бензоинструменте (в уменьшенном виде, конечно) - т.к. имеет низкую вибронагруженность из-за полной сбалансированности, а также - потенциально весьма высокий ресурс (нет боковых сил на поршне, все пары трения - качения). Но дорого - т.к. три имеет зубчатых зацепления (третье между коленвалами на схеме не показано), и два коленвала.
1764414017133.png

Зелёная солнечная шестерня у вас не вращается, а должна бы. Не ошибка ли это?
Зелёная шестерня должна быть в зацеплении с красной, а красная - вращается именно так, как нужно, для того что бы движение штока было прямолинейным.
 
Зелёная шестерня должна быть в зацеплении с красной, а красная - вращается именно так, как нужно, для того что бы движение штока было прямолинейным.
Занятная постановка вопроса. 😀 Мы все этого хотим, но сделать так, чтобы зубья шестерён ходили сквозь друг-друга не можем.
 
Занятная постановка вопроса. 😀 Мы все этого хотим, но сделать так, чтобы зубья шестерён ходили сквозь друг-друга не можем.
а других вариантов нет, красная - должна вращаться совместно с эксцентриком (или планетарным коленвалом). И от того, что она стала больше диаметром (относительно пары ат-Туси) - её угловая скорость не должна меняться, а то фокус не получится.
 
а других вариантов нет, красная - должна вращаться совместно с эксцентриком (или планетарным коленвалом). И от того, что она стала больше диаметром (относительно пары ат-Туси) - её угловая скорость не должна меняться, а то фокус не получится.
Произведение отношения количества зубьев первой пары и второй пары должно быть 2, ведь они заменяют пару Ат-Туси.
 
Шутки шутками, а по такой схеме моторчик для бензопилы - вполне может получиться, попробовал нарисовать с параметрами как у Тайги-214 (и БШМ Мишенко со спаренным ККМ) - получается покомпактнее, и с приемлемыми на первый взгляд диаметрами валов и шестерен.

1764440319422.png
1764440732520.png


размерность 50/38 (75 кубиков), аналогично прототипу. Диаметр шейки вала (без учёта выборки под игольчатый подшипник) - 12,5мм, модуль мелких шестерен 1мм, крупных 2мм. Добавлением второго поршня - трансформируется в оппозитный (но при этом надо доп.противовесы на валы).
 
Назад
Вверх