Follow along with the video below to see how to install our site as a web app on your home screen.
Примечание: This feature may not be available in some browsers.

Балуев сам руку сунул руку в винт, чтобы не порубило голову,когда сорвался работающий двигатель со стенда.Особенно после рассказов ,про Балуева...
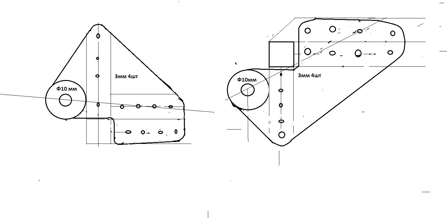
Извилины уже заработали.Попозже отпишусь.Толщина плиты идет 14, 16, 18, 20мм и тд.Для Прапорщика