Аэродинамика экраноплана.

Вложения

  • wow2.jpg
    wow2.jpg
    4,7 КБ · Просмотры: 170
moj Drug primienil dlia svojej dielty 4-lopastnyj vint=iz 38HP
R462 polutshajet 130 kG tjagi i otshien tihuju rabotu
Тихая работа -- за счет к-ва лопастей, тяга -- за счет диаметра, но у дэльты скорость 60-80. А не скорости 150 винт такой винт на тех же оборотах тормозить будет, а на больших реветь начнет.

=diamietr ok.130 cm,
mienshie tshiem u 2-lopastnogo\svojej konstrukcii\...

\ubirajemyje zadnije koliosa\
 

Вложения

  • wiesiek_003_001.jpg
    wiesiek_003_001.jpg
    185,7 КБ · Просмотры: 137
  • wiesiek_011_001.jpg
    wiesiek_011_001.jpg
    188 КБ · Просмотры: 135
Почему ? При возникновении крена  для организации вращения в горизонте всегда приходится брать РУ несколько  на себя, чтобы не опустить нос и не потерять высоту. Наш аппарат показал отклонение вправо при даче газа от вращения винта, значит при развороте вправо нос опускается энергичней , чем влево и РУ берётся на себя больше..Любое отклонение РВ от нейтрали приводит к увеличению сопротивления, которое гасит скорость..Что бы не терять скорость на разворотах практически всегда добавляется газ.

На Иволге пропеллеры вращаются в одном направлении , не учли момент  . 
При одном двигателе  экраноплан лучше вооружить соосными винтами .
 

Вложения

  • ekranoplan__ivolga.jpg
    ekranoplan__ivolga.jpg
    88,6 КБ · Просмотры: 133
будем учить аппарат пока плавать на глиссе
Это каким же образом?
Вам надо радоваться что не тонет ...в водоизмещающем режиме.
а когда научимся - вот тогда с крыльями возможно дойдём и до шторки, хотя большой пользы , честно говоря , на такой конструкции не вижу.
На мой скромный взгляд - до крыльев далековато Вам еще.
А вот воздушную подушку - НОРМАЛЬНУЮ организовывать  - просто необходимо.
"..глиссер" - получите обязательно...хотя и ненадолго.
или в УАЦ -таки... не обеспечили необходимыми знаниями?
И есть мысль опустить РВ в поток от винта.
Бесполезно.
(...лучше аккумулятор перенести в удлиненный хвост.)
 
Кстати, лобовая сила от крыла самолета в какую сорону направлена?
Вот-вот!
Запоминаем для начала:
Крыло самолета и планера НЕ СОЗДАЕТ никакой  ...силы.
Абсолютно.
Это понятно?
Крыло самолета ОТВЕЧАЕТ на приложенную к нему(или потоку) силу.
Чтобы еще стало Вам понятнее:
и полет планера - это - тоже реакция на силу.
Здесь - реакция  на силу тяготения.
Ньютон - 7 класс.
Пробуйте формулировать вопросы  более тщательнее...
 
@ Gravio-1
С успешным клонированием, Gravio! С удачным "побегом" из отстоя! ;D
Руку можно заменить протезом, а мозг не переделаешь.
 
а мозг не переделаешь.
А зачем собственно переделывать-то?
Вам вроде пытались пояснять раньше и другие люди... азы аэродинамики,- не так ли?
Начать Вам следует с понимания простого:
1.Любое крыло не создает никаких сил(но - сопротивляется если к нему СИЛА приложена).
2.Наделав "винегрета"  отрывочных знаний из аэродинамики в своей голове (создав кучу "сил") и не понимая сути Законов физики - Вы продолжаете обижаться...
3.Не флудите по - возможности а пробуйте понять азы.
Не думаю, что для Вас это так уж и сложно!
Даже уважаемый мною Лапшин - вполне уже понял свою ошибку - и теперь не станет утверждать что дополнительное сопротивление установленное на ЛА = увеличивает тягу...
Очередь - за Вами.
Возможно Вы поймете(в дальнейшем), что и уменьшение сопротивления крыла - ТОЖЕ НЕ УВЕЛИЧИВАЕТ располагаемой тяги.
 
При одном двигателе  экраноплан лучше вооружить соосными винтами
+

http://www.time.com/time/health/article/0,8599,1931455,00.html

-a mozhet stoit podumat ob ejectionnom privodie=AIR MULTIPLIER=
\kak v vientiliatorie Dysona...\?

http://www.homebuiltairplanes.com/forums/attachments/general-experimental-aviation-questions/2492d1226611006t-saunders-jethawk-any-builders-ducted-fan-layout

-avtor pishet,shto polutshil na dvuh propiellierah uvielitshenije tjagi na 10%...
 

Вложения

  • hall7_ejector.gif
    hall7_ejector.gif
    3,1 КБ · Просмотры: 167
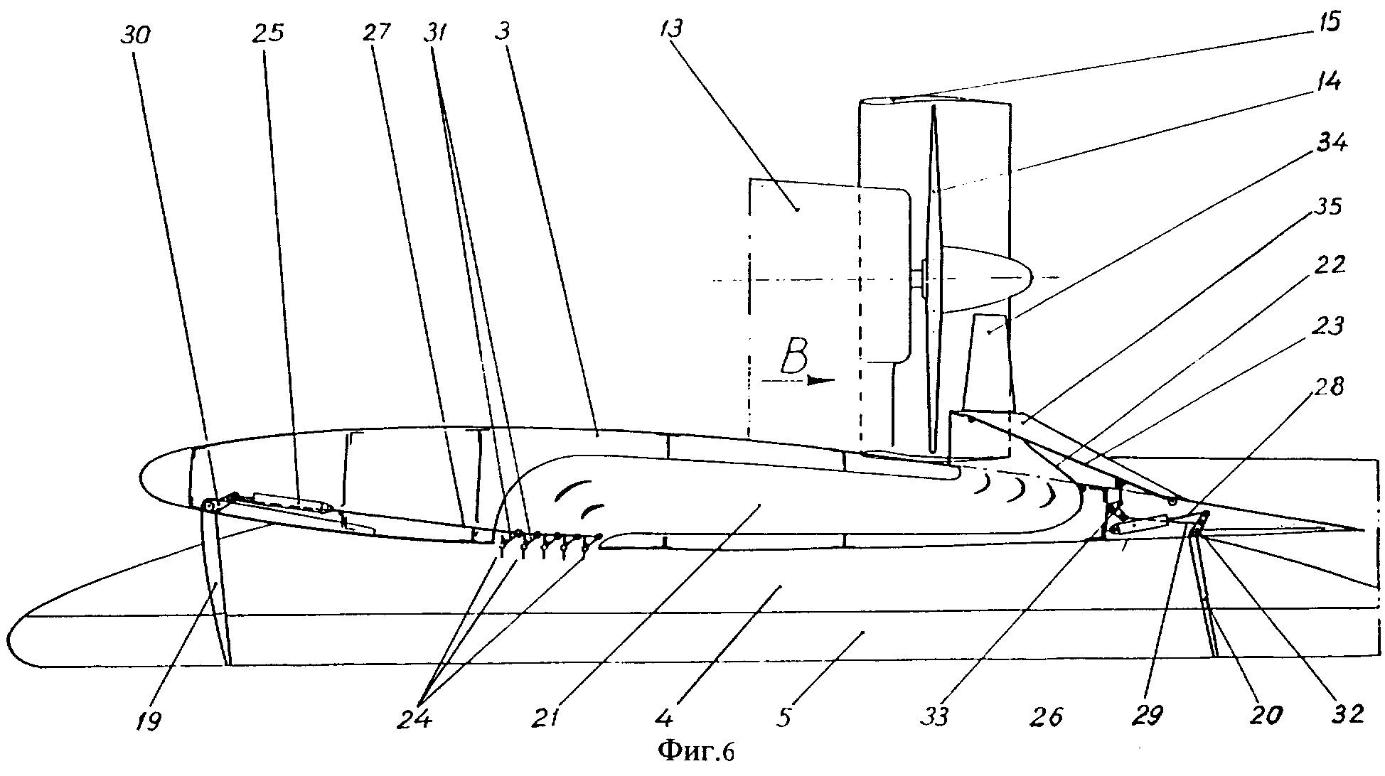
На СМ-6 (прототип Орлёнка А-90) установили обычный винт , на  Орлёнке А-90  винты  соосные . Вопрос : пытались устранить момент или случайно применили НК-12 с соосными винтами ?

Пытался найти фотографии орлёнка которому удалось добраться до берега без хвоста - инфа засекречена , нету фоток .
 

Вложения

  • 019__1_.jpg
    019__1_.jpg
    13,1 КБ · Просмотры: 122
  • 026_006.jpg
    026_006.jpg
    11,9 КБ · Просмотры: 121
3.Не флудите по - возможности а пробуйте понять азы.

У Вас  гравитация процесс понимания не подтормаживает ?
Продолжайте любезный...
И помните:
Никогда не позволяйте морали удерживать вас от правильных поступков.
 
http://www.findpatent.ru/patent/225/2254251.html

http://www.findpatent.ru/patent/229/2297933.html
 

Вложения

  • 9528402.gif
    9528402.gif
    32,3 КБ · Просмотры: 133
  • 955148.gif
    955148.gif
    32,4 КБ · Просмотры: 143
Все проще: машины разного класса по полетной массе: СМ-6 - 27 т; Орленок -140т.
И все остальное.

В мемуарах о влиянии винта на управляемость СМ-6 инфы нету .
Мемуары лётчика испытателя  были-бы значительно интереснее .
 
a mozhet stoit podumat ob ejectionnom privodie
Я уже писАл, что винт в кольце (и другие способы эжектирования) для "наших" задач не более, чем увеличение эффективного диаметра винта, без его реального увеличения. Кроме того, получаем ограждение, еще пару-тройку плюсов, конструктивный геморр, теряем немного КПД и т.д. "По скорости" все эти приблуды ведут себя практически также, как и увеличенный в диаметре винт.
Если есть конструктивная возможность увеличить диаметр винта (при правильном соблюдении его поступи и оборотов), -- лучшего способа увеличить тягу  на определенном диапазоне скоростей нет. Природу не обманешь. И опять же конструктивность (простота) решения.

если вооружить такую утку стабилизатором американской утиной системы
если вооружить нижнюю поверхность крыла  "Транспортёром для отгребания воздуха от передней кромки и равномерного распределения давления под крылом 
Эти решения имеют рациональное зерно на бумаге (теоретически, математически), но из них не выходит инженерного конструкторского решения.
 
Если есть конструктивная возможность увеличить диаметр винта (при правильном соблюдении его поступи и оборотов), -- лучшего способа увеличить тягу  на определенном диапазоне скоростей нет. Природу не обманешь.
Для того что бы -получить подъёмную силу , делают пластину (крыло) , без неё конечно же было бы проще и дешевле и технологичней и конструктивней , но увы - не будет подъёмной силы..Так же можно сказать и про аэродинамическое кольцо - человечество озаботилось этим процессом ещё в тридцатые прошлого века. Изучили процессы - вывели вердикт, который сейчас не оспаривается - даёт прибавку тяги в определённом диапазоне скоростей, где и полезно. Ещё определили , что в этом диапазоне винт в кольце эффективней изолированного ! Это же и проходило красной нитью  в обсуждении на паралельной ветке , про которое Феликс скромно заметил - не учавствовал, но всё таки слегка то было ..  Зачем @ PFELIX нужно опять мутить воду и говорить про эффективность увеличенного диаметра ? А если винт увеличенного диаметра опять поставить в кольцо, он будет ещё эффективней на определённом диапазоне скоростей и т.д. и так до бесконечности..Правильно , думаю Хенрик ставит вопрос
-a mozhet stoit podumat ob ejectionnom privodie=AIR MULTIPLIER=
\kak v vientiliatorie Dysona...\?
  .Здесь речь видимо о полукольце Кастера .Вентилятор Дайсона эжжектирует  поток по окружности, у экра нижняя полусфера "озабочена " экранным эффектом и не эжжектирует, значит идеально речь идёт о полуколце ! Эжжекция сверху , подсасывая верхнележащие слои воздуха изменяется  скос всего потока и возникает существенная прибавка подъёмной силы ! Я уже купил РМЗ 500 и начал делать полукольцо , что бы в реальном эксперименте проверить этот эффект !
 
Ещё определили , что в этом диапазоне винт в кольце эффективней изолированного !

Испытывал влияние кольца на винт водного мотоцикла  (водомёт ).
1. При зазоре между винтом и стенкой трубы 0.1 мм аппарат резко ускоряется и шустро выходит на максимальную скорость .
2. При зазоре между винтом и стенкой трубы 0,5 мм и более динамика разгона  пропадает ,  аппарат медленно но выходит на максимальную скорость и резко теряет скорость при каждом крутом развороте . 
Для водного мотоцикла динамика разгона главный момент  популярности аттракциона .
Воздушный винт  на резкий старт не заточен по определению - плотность воздуха не позволяет ( упереться некуда ).
По кольцу воздушного винта есть  труды ЦАГИ с продувками в трубе , вывод примерно такой :
Кольцо увеличивает тягу воздушного винта  но на скорости аэродинамическое сопротивление кольца уничтожает весь прирост тяги . Овчинка выделки не стоит .
 
Эжжекция сверху , подсасывая верхнележащие слои воздуха изменяется  скос всего потока и возникает существенная прибавка подъёмной силы 
Ошибочное мнение.
В указанном Вами случае (аэростатическое разрежение НАД крылом) не приводит к увеличению отклонения суммарного потока вниз.
Следовательно и говорить о подъемной силе - нельзя.
Уложите на стол лист бумаги и дуйте на него сколь угодно долго - лист не шевельнется до тех пор пока...часть Вашего "дутья" не попадет ПОД листок...
Я уже купил РМЗ 500 и начал делать полукольцо
Делать полукольцо ...очень напрасно.
Даже спрофилированное как крыло (горбик сверху) оно "включится" в общую работу (создание подъёмной силы) при достижении достаточной (воздушной) скорости Вашим экранопланом.
Разумеется - если на нем уже есть штатное крыло.
А если его нет?
Не выйдете на глиссирование даже и под "Лайкомингом"...
 
Назад
Вверх