• Вышел новый выпуск программы ФлайтТВ, посвященный современным российским ЮПШ (юношеским планерным школам).
    Видео на Youtube. Ссылки на другие платформы и обсуждение в теме на форуме.

Аэродинамика экраноплана.

и возможно...учесть ошибки в будущем, и иметь какой-то  конечный результат,поскольку проект тот был громко анансирован на 2-х форумах. 
Не всё так просто под луной..Проблема  оказалась длиннее чем подразумевалось сначала.. Само понимание  физической сути экранопланного эффекта дорогого стоит и результат конечно же когда - нибудь будет !
 
Проблема  оказалась длиннее чем подразумевалось сначала.. Само понимание  физической сути экранопланного эффекта дорогого стоит и результат конечно же когда - нибудь будет !
Сейчас во всю обсуждается проблема горизонтального старта космических носителей. Есть два варианта - со спины "Мрии" или со спины экраноплана.
Вроде бы побеждает второй... 🙂
 
Сейчас во всю обсуждается проблема горизонтального старта космических носителей.

  Уже лет 50 как обсуждается , а Ро[ch769]берт (Роберто) Лю[ch769]двигович Барти[ch769]ни был готов потратить деньги КПСС на "Авианосцы на подводных крыльях" или авианосцы экранопланы .

Э.А. АФРАМЕЕВ, кандидат технических наук
(ЦНИИ им.Крылова)
«Вестник авиации и космонавтики» №4 2001 г.

http://www.testpilot.ru/review/wsl.htm
 

Вложения

  • 987_003.jpg
    987_003.jpg
    127,4 КБ · Просмотры: 253
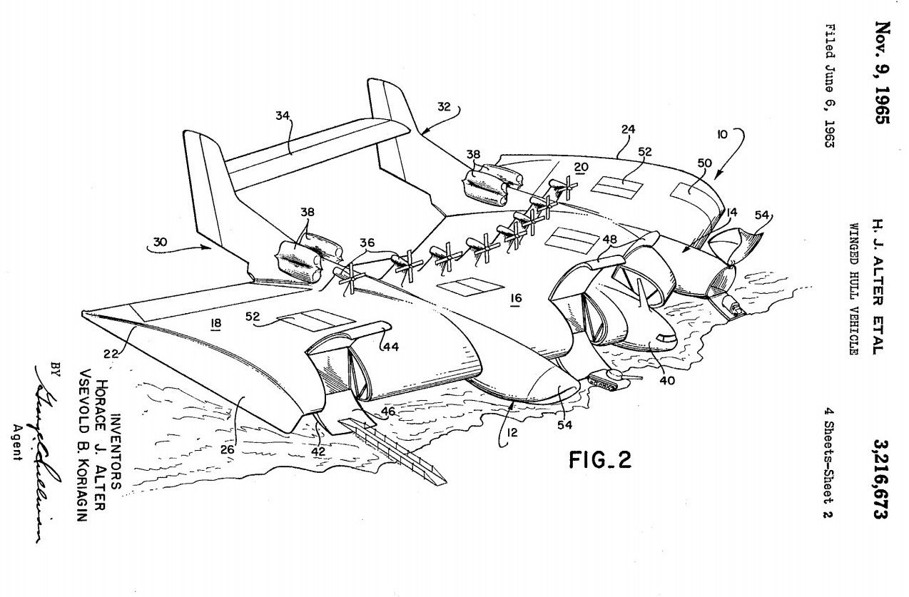
Интересно , на этой модели изучали американский вариант экраноплана или мысль осенила  почти одновременно головы изобретателей ?
 

Вложения

  • 3_216_001.jpg
    3_216_001.jpg
    61,3 КБ · Просмотры: 264
  • 3_216_673.jpg
    3_216_673.jpg
    133,9 КБ · Просмотры: 258
А Вам фамилия Всеволод Корягин (под рисунком) ничего не говорит? Не совсем англосаксонская, однако ж....
Да и в Кузнецово (на ЦКБ по СПК) и в Каспийске америкосы бывали ещё в начале 90-х, и Берт Рутан там тоже был в их делегации...
 
Валера , минимальные доработки для ВЖИКА  и по льду мож испытать .  Две трубы и кусок тента . Киль и стабилизаторы тож
не проблема .

  https://www.youtube.com/watch?v=MZbCfXkYXVQ

https://www.youtube.com/watch?v=nxEQBTmjEzw

https://www.youtube.com/watch?v=cRMLdtWXTiA

7 000 просмотров  - экранопланами в ФИНЛЯНДИИ  почти не интересуются  .
 
Бёрт Рутан  вооружил схему УТКА  узким стабилизатором с большим удлинением -  улучшил характеристики .
  Вопрос : узкий стабилизатор с тонким профилем и большим удлинением  экраноплану  - устойчивости добавит ? 
 

Вложения

  • longez-1.gif
    longez-1.gif
    142,3 КБ · Просмотры: 273
  • 2934859-o.jpg
    2934859-o.jpg
    35,3 КБ · Просмотры: 277
Рутан добивался этим плавного и постепенного развития срыва на ПГО.
А показанному катеру с аэродинамичесой разгрузкой  он зачем?
 
Рутан добивался этим плавного и постепенного развития срыва на ПГО.
А показанному катеру с аэродинамичесой разгрузкой  он зачем?

При одинаковой площади стабилизаторов  эффективность узкого с большим удлинением , тонким профилем  + цельноповоротный  - будет лучше ?
 
Всё в кучу! Стабилизатор с большим удлинением будет эффективнее. Насчёт цельноповоротности-не уверен,что на пользу. Тонкий профиль-то зачем?
 
Тонкий профиль-то зачем?

Сопротивление уменьшить и  прочности добавить .

Вы уж определитесь и сопромат со строительной механикой вспомните попутно.

С чего это вдруг тонкий профиль на крыле (стабилизаторе) большого удлинения ему прочности добавит?

Кроме того, при полёте на экране относительная толщина профиля крыла менее 12% чревата большими неприятностями в лётной эксплуатации - вспомните ЛП с "ОРИОН-ом" в Петрозаводске год назад. В.В.Колганов описал это ЛП в деталях на заседании Госдумы ЗА ТРИ ГОДА до того, как это ЛП произошло (есть и видеозапись того самого заседания Госдумы). Просто потому, что он аэродинамику полёта на экране учил у самого Бартини....
 
Вы уж определитесь и сопромат со строительной механикой вспомните попутно.

С чего это вдруг тонкий профиль на крыле (стабилизаторе) большого удлинения ему прочности добавит? 

1. Стабилизатор цельноповоротный , одна пластина - уже жёстче .
2 . Режем из цельного куска дюрали или титана  .
3. Крепим на двух килях .
   Предполагаю , что конструкция получиться покрепче .
 
 
 
 
Вы уж определитесь и сопромат со строительной механикой вспомните попутно.

С чего это вдруг тонкий профиль на крыле (стабилизаторе) большого удлинения ему прочности добавит? 

1. Стабилизатор цельноповоротный , одна пластина - уже жёстче .
2 . Режем из цельного куска дюрали или титана  .
3. Крепим на двух килях .
   Предполагаю , что конструкция получиться покрепче .
 
 
  

А рассчитать и сравнить уже не в состоянии? И про массу такой конструкции вспомнить не помешает (в сравнении с "оболочечными" конструкциями крыла и стабилизатора). Выигрыш будет лишь в технологичности обработки.

:IMHO
 
Здравствуйте.
Кто-нибудь может дать ссылку на выступление В.Колганова
в Госдуме?
Надеюсь это не секрет. Можно в личку. Хотелось бы посмотреть.
Буду очень признателен. Спасибо.
С уважением.
 
Спрошу у колгановцев, если подскажут дату того заседания в Госдуме, тогда и можно будет найти в Интернете. Сейчас они в Джакарте, вернутся под Новый год...
 
А рассчитать и сравнить уже не в состоянии? И про массу такой конструкции вспомнить не помешает (в сравнении с "оболочечными" конструкциями крыла и стабилизатора). Выигрыш будет лишь в технологичности обработки.

От размеров аппарата  тож зависит .
 
   Съёмка падения  «Орион-20»
 
https://www.youtube.com/watch?v=CuEsR8DFjHI
 
 
Кроме того, при полёте на экране относительная толщина профиля крыла менее 12% чревата большими неприятностями в лётной эксплуатации

У АМФИСТАРА  толщина профиля явно меньше 12% .
 
Назад
Вверх