• Вышел новый выпуск программы ФлайтТВ, посвященный современным российским ЮПШ (юношеским планерным школам).
    Видео на Youtube. Ссылки на другие платформы и обсуждение в теме на форуме.

Альтернативные варианты кинематических схем авиационных двигателей

Вот тоже монстр. Судя по четному числу цилиндров двухтактник и с турбиной. Значит можно, судя по всему, ставить турбокомпрессор на двухтактник.
Жалко с другой стороны не нашел фото этого чуда.
Это Zoche Diesel - 161г/ч/л.с. - пишут это на 25% меньше других аэродвигателей...
Turbo-charging-diesel-engine.jpg

8-cylinder-aero-diesel.jpg


Это как раз и есть 2т безклапанный! дизель...
Z0-02A - 300л.с. весит 123кг 65см диаметр звезды... Его первый запуск был в январе 1995г! (а ещё все говорят что рынок выбирает лучшее 🙂 )
 
Последнее редактирование:
На танковом дизеле 5ТДФ делали комбинированный привод. На малых холостых компрессор крутился от вала, на средних, высоких - от турбины. Как там это было организованно не знаю. Видел лишь схему. ИП кажется ее выкладывал в нашей давнишней баталии. По мне так проще всего такую систему оргпнизовать на электроприводе, за что тогда как раз и выступал. Т. Е. турбина крутит генератор заряжая акб, а от акб питается мотор клмпрессора, ну и остальная электрика. Плюс в произвольном регулировании наддува. Хоть наихолостых дуй под завязку, хотьтна максимале снижай, чтобы не передуть лишку.
+батарея + инвертор = доп вес. Проще турбину с избыточное производительностью и перепускным клапаном.
 
+батарея + инвертор = доп вес. Проще турбину с избыточное производительностью и перепускным клапаном.
Такто турбина с избыточной производительностью и перепускным клапаном это тоже избыточный вес. Акб на борту так и так нужна, генератор тоже, инвертор в общей массе СУ и тем более всего аппарата мизер. Нужно смотреть, что можно получить за этот "перевес".
Имху
 
Гладко было на бумаге, да забыли про овраги, а по ним ходить
Главное что двигатель работал и показал ресурс 2000ч... Да, он не продавался, поскольку они хотели авиа-сертификацию, но им её не дали... 🙂
Нам с Вами плевать на их сертификацию... с 95 года все патенты просрочены... Если Вы считаете что можно сделать двигатель лучше - пишите...
буклет тут

P.S. Об этом никто не думал, но двигатель-звезда имеет ещё одно преимущество - если использовать электро-трансмиссию (генератор/эл.моторы) то ставить его поперек потока не обязательно...
 
Последнее редактирование:
но им её не дали
Не дали по какой-то причине. Значит не всё было ладно в "датском королевстве", что-то они не договаривают. Вообще, дизелестроение это удел серьёзных моторных заводов, а не маленьких стартапиков. По каким-то параметрам они не устроили сертификационную комиссию, ну а наработать 2000 моточасов можно по разному. 2-х тактный малолитражный дизель с продувкой Шнюрле ещё то "счастье". Такого типа дизели лучше использовать на малокубатурных силовых агрегатах, то бишь в качестве "двигателей общего назначения".
 
Это Zoche Diesel - 161г/ч/л.с. - пишут это на 25% меньше других аэродвигателей...
Посмотреть вложение 524337
Посмотреть вложение 524338

Это как раз и есть 2т безклапанный! дизель...
Z0-02A - 300л.с. весит 123кг 65см диаметр звезды... Его первый запуск был в январе 1995г! (а ещё все говорят что рынок выбирает лучшее 🙂 )
Интересно, а как у него КШМ устроен?
Или он не только безклапанный, но еще и безшатунный?
Никому не попадался разрез этого Zoche Diesel
 
Значит не всё было ладно в "датском королевстве", что-то они не договаривают
Действительно, проблемы у этого движка есть:
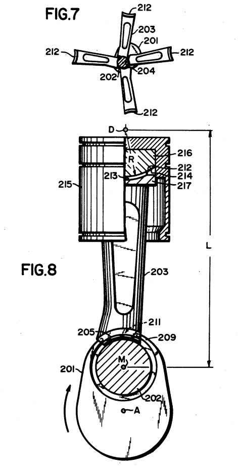
1. Видимо из расчета на постоянно повышенное давление над поршнем был сделан "революционный" КШМ, в котором шатуны только опираются на поршни и КВ:
Zoche.png

Теперь понятно почему 8х звезда состоит из двух 4х... Такое решение возможно только при высоком прижимающем поршни давлении и может иметь проблемы на высоких оборотах... Это смелый немец - он захотел прижать все 4 шатуна к одной шейке...
2. Хоть они и заявляют что клапанов нет, но очевидно они таки есть - пневматические в системе впуска-выпуска, которая должна выдерживать полное давление дизеля... Это самое проблемное решение - я надеялся что продувка производится снизу через открываемое поршнем окно/окна...
2т дизель.png


Вопрос стоит так - сможем ли мы сами сделать продувку высоким давлением снизу через окно/окна, скажем за 15-20 градусов оборота КВ?
 
Вообще, дизелестроение это удел серьёзных моторных заводов, а не маленьких стартапиков.
Заводы строят люди, было бы что клепать...
Посмотрите на стартапик Тесла - когда они начинали никто не верил, зато теперь построили огромные заводы (даже в центре Германии)...
Что касается двигателей, то цель избавиться от главного тормоза - КШМ... Но пока сойдет даже простой 2т дизель...
 
Никому не попадался разрез этого Zoche Diesel
Наверное и не попадётся, потому как очередное шапкозакидательство закончилось так, как и должно было - т.е. ничем.

Вопрос стоит так - сможем ли мы сами сделать продувку высоким давлением снизу через окно/окна, скажем за 15-20 градусов оборота КВ?
Мы это кто ?
 
Действительно, проблемы у этого движка есть:
Какую интересную информацию Вы откапали!

Наверное, рассуждали они так:
Система прицепных шатунов классическая для звезд под дизель мало пригодна. Потому что, тоненькие пальцы на нижних головках прицепных шатунов для дизеля не годятся, а если поставить пальцы нормальной размерности, то прицепной узел главного шатуна оказывается очень громоздким. Но не это главное. Толстые пальцы увеличат офсет между осями пальцев и осью шейки, что приведет к бОльшим искажениям работы поршня (особенно плохо для двухтактника) и увеличат перекосные нагрузки. А в паре с дизельными силами, это вообще печалька получается.
Значит надо делать втыковые шатуны.
Но с ними тоже не все ладно. Короткий шатун значительно уменьшает угол обхвата шатуном шейки в таком исполнении. Это уже далеко не 90 град. Значит надо как-то удлинять шатун.
И тут они придумывают очень оригинальную конструкцию - выносят ось верней головки шатуна аж выше поршня. Тем самым, фактически удлинили шатун не удлиняя сам шатун.

Вот только упустили или опустили одну важную деталь. Для двухтактника шатун надо иметь как можно короче. Потому что короткий шатун увеличивает время прохождения поршнем НМТ, что способствует лучшей продувке, и предохраняет КШМ (массой поршня) от пиковых нагрузок вблизи ВМТ.
У двухтактников шатун и так довольно длинный из-за высокого поршня.

Кстати, нижние головки шатунов с частичным обхватом лучше делать в виде вилки, тогда обхват увеличивается в два раза. У меня тоже была в проектах такая схема, только с традиционным пальцем в поршне.
 
Видимо из расчета на постоянно повышенное давление над поршнем был сделан "революционный" КШМ, в котором шатуны только опираются на поршни и КВ:
Ничего там революционного нет. Подобная схема известна минимум с 30-х годов прошлого века.
 

нарисовано шикарно. Только все-таки гораздо логичнее будет не оппозитное движение поршней а
именно V образное в развале на 180 градусов. всего 4 цилиндра. не 2
и противовесы встроены в шестерни. 4 пары шестерен и 4 цилиндра.
 
Смущает борьба с боковым давлением поршней - на фуагра? 🙂))
Основной износ идет строго от острых граней компрессионных колец, которые действуют как фрезы.
Достаточно убедиться в этом потрогав верхний край цилиндра.
Что касается трения, то оно легко уменьшается обкаткой трущихся поверхностей роликами или шариками для создания определенного процента масштаба и площади масляных карманов, что приближает трение поверхностей к жидкостному.
Все это давно известно и опробовано, о чем же сыр бор?
 
нарисовано шикарно. Только все-таки гораздо логичнее будет не оппозитное движение поршней а
именно V образное в развале на 180 градусов. всего 4 цилиндра. не 2
и противовесы встроены в шестерни. 4 пары шестерен и 4 цилиндра.
Согласен, ... Красиво. Но, для дизайнера владеющего современным САПРом, этот обычное дело. ( Я так не умею )
А вот, чем 4 шестерни + 4 вала + 4 шатуна на каждом "лучше", чем 1+1+1 на те же 4 цилиндра (?) "Убей Бог", ума не приложу...

А в качестве гимнастики для ума - вполне хороший пример.
 
Согласен, ... Красиво. Но, для дизайнера владеющего современным САПРом, этот обычное дело. ( Я так не умею )
А вот, чем 4 шестерни + 4 вала + 4 шатуна на каждом "лучше", чем 1+1+1 на те же 4 цилиндра (?) "Убей Бог", ума не приложу...

А в качестве гимнастики для ума - вполне хороший пример.

компактней. короткие коленвалы - меньше вес
 
Смущает борьба с боковым давлением поршней - на фуагра? 🙂))
Основной износ идет строго от острых граней компрессионных колец, которые действуют как фрезы.
Достаточно убедиться в этом потрогав верхний край цилиндра.
Что касается трения, то оно легко уменьшается обкаткой трущихся поверхностей роликами или шариками для создания определенного процента масштаба и площади масляных карманов, что приближает трение поверхностей к жидкостному.
Все это давно известно и опробовано, о чем же сыр бор?

на практике истирается цилиндр на яйцо только в путь
 
Назад
Вверх