Конструкция редукторов, виды в разрезах и сечениях

Хлопчики,

А нет ли у кого на руках чертежика переходного стакана на Черновский редуктор от двигателя Хонда Д15? Кое чего нужно уточнить, а мотора на руках уже давно нет.
 
Александр Александрович, позвольте узнать стоимость: редуктор тип А (передаточное отношение 2.5), плита переходная двигателя 1kr-fe. Приводной вал входит в комплект?
Можно в ЛС. Спасибо!
 
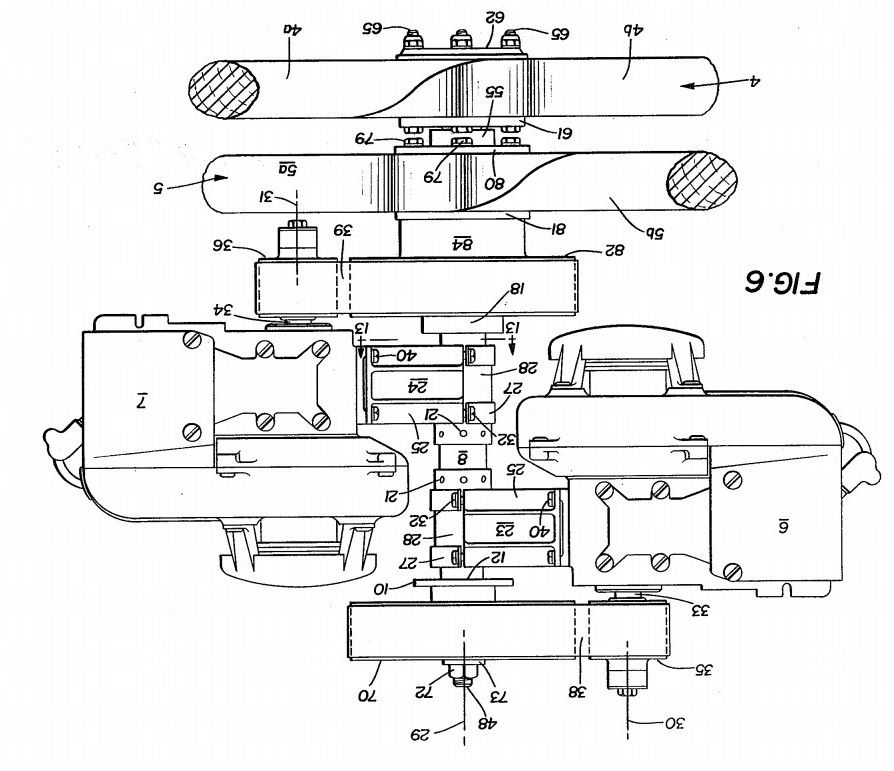
http://www.google.com/patents/US4426049?pg=PA3&dq=4426049&hl=ru&sa=X&ei=m68OUaKXNsWl4gTc6oGYCA&ved=0CDQQ6AEwAA#v=onepage&q=4426049&f=false
 

Вложения

  • US_4426049.jpg
    US_4426049.jpg
    96,5 КБ · Просмотры: 198
http://www.rotaryeng.net/psrus.html
 
Из автомобильных коробок .
 

Вложения

  • DON-DUN3__1_.GIF
    DON-DUN3__1_.GIF
    21,5 КБ · Просмотры: 220
  • Short-block-schema__2_.jpg
    Short-block-schema__2_.jpg
    101,7 КБ · Просмотры: 204
http://www.geareddrives.com/faqs.htm#What_about_planetary_gears_in_a_PSRU__I_choose_to_use_the_best_for_safety_and_dependability_in_the_Geared_Drive._For_this_reason,_I_am_against_the_use_of_planetary_gears_in_a_PSRU._Consider_what_they_were_designed_for;_to_change_an_automatic_transmission_from_one_gear_and_into_another._They_were_designed_to_work_at_high_RPM_for_only_short_periods_of_service._They_are_very_small_and_turn_at_ultra_high_RPM_when_in_continuous_use,_and_from_twenty_plus_years_of_personal_experience_in_professional_auto_racing,_my_personal_opinion_is_that_there_is_any_way_that_planetary_gears_can_possibly_hold_up_long_term._The_strongest_and_most_dependable_kind_of_gear_is_a_straight_cut_spur,_which_is_what_I_chose_to_use_in_the_Geared_Drive_PSRU._1

Часто задаваемые вопросы
 

Вложения

  • planetar.jpg
    planetar.jpg
    65,6 КБ · Просмотры: 145
Справочник по муфтам

http://rutracker.org/forum/viewtopic.php?t=3554337

http://rutracker.org/forum/viewtopic.php?t=2847982
 
Чернение стали .
Интесно , а какой химией  на фабрике чернят изделия  Калашникова Михаила Тимофеевича ? Очень стойкое покрытие .
 

Вложения

  • CHERNENIE_STALI.jpg
    CHERNENIE_STALI.jpg
    199,8 КБ · Просмотры: 153
   Авиационные редукторы
http://www.reaa.ru/cgi-bin/yabbB/YaBB.pl?num=1365794713/0#0

+  BMW  GT2
+  Авиационные зубчатые передачи и редукторы
 
   Муфта  BMW   TakeOff
 

Вложения

  • B_M_W____S.jpg
    B_M_W____S.jpg
    66,9 КБ · Просмотры: 175
  • 2013-05-30_152930.jpg
    2013-05-30_152930.jpg
    183,3 КБ · Просмотры: 182
Подскажите кто-нибудь, как контролировать силу натяжения поликлиновых ремней на ременном редукторе (Данилюка) для РМЗ-500? И что произойдет, если перетянуть?
 
Подскажите кто-нибудь, как контролировать силу натяжения поликлиновых ремней на ременном редукторе (Данилюка) для РМЗ-500? И что произойдет, если перетянуть?

Чем поликлиновой ремень на редукторе отличается от поликлинового ремня на автомобиле ?  Смотрим на каком авто установлены аналогичные ремни и находим книгу по ремонту данной модели ( если нужны рекомендации ) .  Если перетянуть больше нагрузка на подшипники и ремень . С третей практической попытки регулировки - Вы профи . Всего делов .
 
Муфта  BMW   TakeOff.
Оппозитный 2-цилиндровый двигатель имеет большую неравномерность крутящего момента. Поэтому демпфер крутильных колебаний (муфта с резиновым диском) не справляется с ними на низких и средних оборотах. Фрикционная центробежная муфта (ЦМ) служит дополнительным демпфером крутильных колебаний. ЦМ имеет большую массу, стоимость и снижает надежность силовой установки. При этом ЦМ на самолете практически бесполезна. Нужно поставить вместо ЦМ еще один демпфер крутильных колебаний, - сделать двойной демпфер.
 

Вложения

Нужно поставить вместо ЦМ еще один демпфер крутильных колебаний, - сделать двойной демпфер.

В редукторе ROTAX 912  на большой шестерне установлено  ДВА демпфера . Механизм получается сложным и дорогим в производстве .
 
  Шаг винта , механизм .

http://www.google.com/patents/US3245475?dq=US3245475&hl=be&sa=X&ei=0Se-Ub6oC8vltQac54GwAQ&ved=0CDIQ6AEwAA

http://www.ratier.org/helmet_.html

Этот механизм похоже   от   FW - 189

http://www.google.com/patents/US2326308?dq=US2326308&hl=be&sa=X&ei=xym-UcCbD4bxsgbowYGAAQ&ved=0CDIQ6AEwAA
 

Вложения

  • UPRAVLENIE_SHAGOM.jpg
    UPRAVLENIE_SHAGOM.jpg
    104,4 КБ · Просмотры: 154
  • dir_vent_moul.jpg
    dir_vent_moul.jpg
    24,9 КБ · Просмотры: 157
  • moulinet.jpg
    moulinet.jpg
    39,6 КБ · Просмотры: 159
Mz. В ТНПЦ АОН (г.Тюмень) разработан рабочий проект редуктора для двигателей BMW R1150, R1200 и т.п. Между двигателем и редуктором установлен двойной демпфер крутильных колебаний (муфта с двумя последовательными резиновыми дисками). Двойная муфта имеет только 1 дополнительную деталь. Ведомое зубчатое колесо посажено на конус. Затяжка конуса регулируется упорной втулкой. Это гораздо проще, легче, надежнее и дешевле центробежной или фрикционной предохранительной муфты. Увеличенный внутренний диаметр выходного вала позволяет разместить внутри электропривод ВИШ. Сменная проставка позволяет применять двигатели других типов.
 
Делали уже и два демпфера, и три, и даже двухмассовый маховик с полиуретановыми шайбами, который позволял скручиваться коленвалу и ведомому фланцу на 23 градуса в одну и другую стороны. В итоге летаем опять с центробежными муфтами.
Ни в коем случае не призываю Вас опускать руки. Возможно, вы пойдете по другому пути и все будет ОК.
 
Jimmi. Тогда уж лучше использовать фрикционную предохранительную муфту от ротакса 912. Она надежнее и весит 1,7кг, против 2,5кг примитивной центробежной муфты от редуктора BMW R1150.
 

Вложения

Назад
Вверх