Конструкция редукторов, виды в разрезах и сечениях

mz писал:
В редукторе Виноградова демпфера  НЕТУ , есть соединительная муфта с резиновыми втулками ".

Да то что применяет Виноградов называется МУВП - муфта упругая втулочно-пальцевая.
Но ее демпфирующие свойства гораздо хуже.            
 
Да то что применяет Виноградов называется МУВП - муфта упругая втулочно-пальцевая.
Но ее демпфирующие свойства гораздо хуже.

Справочник по муфтам :   Дубль два , всё подробно .

http://rutracker.org/forum/viewtopic.php?t=3554337

http://rutracker.org/forum/viewtopic.php?t=2847982
 
Инфы немерено , читать надо

Уважаемый mz , инфы там действительно немерено (целых 11 страниц), дабы не сделать поспешных выводов - перечитал два раза.
Чертежи выложенные Дмитрием Черносвитовым не открываются, ссылки не работают.
Всё остальное - словоблудие на разные темы , кроме одного поста .

Лыжникписал:
Отзыв о работе данного редуктора.
Наработка......1 час в режиме опробования мотора и пробежек.
Выявленные недостатки:
1. Масло из сапуна выбрасывает, но до каких пор пробовать не стали, доливали.
2. Фланец винта подтягивали три раза, но он всё равно после каждой пробежки разбалтывался и люфтил во всех направлениях (осевое, радиальное, плоскостное, вращательное).
3. К концу часа испытаний появился хруст, разобрали, фото выкладываю.
4. Предполагаю что  вал винта отвалится вместе с винтом
в месте его состыковки с фланцем винта, потому что там его растягивает гайка, ломает гироскопический момент, витки резьбы для концентрации разрушающей нагрузки, и при этом, очень уж мал диаметр по первым прикидкам.


Я в лёгком недоумении. :-[
Поэтому вопрос у меня так и остался открытым.
А раз уж тема данной ветки - Конструкция РЕДУКТОРОВ , виды в разрезах и сечениях , может у кого есть чертежи данного агрегата ?
Про ресурсные испытания и опыт эксплуатации тоже свербит узнать , но опасаюсь, что этот вопрос выходит за рамки темы.
 

Вложения

  • 130920111301_001.jpg
    130920111301_001.jpg
    30,4 КБ · Просмотры: 174
  • 130920111308_001.jpg
    130920111308_001.jpg
    52,6 КБ · Просмотры: 173
Зачем чертежи , на картинках все видно .


http://www.youtube.com/watch?v=P53K7e8hDrs
 

Вложения

  • 3_510.jpg
    3_510.jpg
    41,5 КБ · Просмотры: 203
  • 4_376.jpg
    4_376.jpg
    51 КБ · Просмотры: 203
  • 255_ts4_001.jpg
    255_ts4_001.jpg
    97,2 КБ · Просмотры: 177
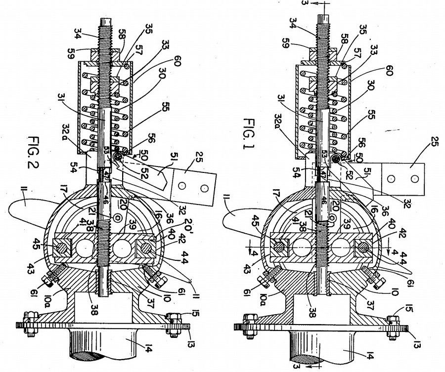
Принцип регулировки  угла лопастей вращением  центрального  болта . На чертеже автоматическая регулировка , принцип тот же .

http://www.google.com/patents/US2694459?dq=2694459&hl=be&sa=X&ei=aZrIUe3CDNHHswb52oHgDA&ved=0CDIQ6AEwAA
 

Вложения

  • 2694459.jpg
    2694459.jpg
    158,4 КБ · Просмотры: 146
Инфы немерено , читать надо

Уважаемый mz , инфы там действительно немерено (целых 11 страниц), дабы не сделать поспешных выводов - перечитал два раза.
Чертежи выложенные Дмитрием Черносвитовым не открываются, ссылки не работают.
Всё остальное - словоблудие на разные темы , кроме одного поста .

Лыжникписал:
Отзыв о работе данного редуктора.
Наработка......1 час в режиме опробования мотора и пробежек.
Выявленные недостатки:
1. Масло из сапуна выбрасывает, но до каких пор пробовать не стали, доливали.
2. Фланец винта подтягивали три раза, но он всё равно после каждой пробежки разбалтывался и люфтил во всех направлениях (осевое, радиальное, плоскостное, вращательное).
3. К концу часа испытаний появился хруст, разобрали, фото выкладываю.
4. Предполагаю что  вал винта отвалится вместе с винтом
в месте его состыковки с фланцем винта, потому что там его растягивает гайка, ломает гироскопический момент, витки резьбы для концентрации разрушающей нагрузки, и при этом, очень уж мал диаметр по первым прикидкам.


Я в лёгком недоумении. :-[
Поэтому вопрос у меня так и остался открытым.
А раз уж тема данной ветки - Конструкция РЕДУКТОРОВ , виды в разрезах и сечениях , может у кого есть чертежи данного агрегата ?
Про ресурсные испытания и опыт эксплуатации тоже свербит узнать , но опасаюсь, что этот вопрос выходит за рамки темы.
Да мыльный пузырь-эти редуктора, который лопнул.Я пытался купить его по предоплате, бог отвел.
 
Да мыльный пузырь-эти редуктора, который лопнул.Я пытался купить его по предоплате, бог отвел.

Что же делать, раз уж я его приобрёл .
Буду ставить, но сначала попробую сделать принудительную смазку моторным маслом из системы двигателя и доработать узел посадки ступицы винта.
 
Что же делать, раз уж я его приобрёл .
Буду ставить, но сначала попробую сделать принудительную смазку моторным маслом из системы двигателя и доработать узел посадки ступицы винта.

Шестерня на этой картинке установлена в одном подшипнике ( судя по фотке ) . Если подшипник по конструкции аналог подшипнику передней ступицы  ВАЗ 2108 - это уже лучше . Если подшипник просто шариковый ( один подшипник ) и на зтом ещё висит и диск сцепления ?  При таком варианте конструкции лучше установить редуктор на Бетономешалке . 
Второй опорой валу видать предполагали подшипник установленный в маховике ?  Без масляной ванны подшипники долго не продержаться .
Редуктор должен иметь непобедимый звук .(испытания покажут)
 

Вложения

  • 3_510_001.jpg
    3_510_001.jpg
    41,5 КБ · Просмотры: 177
Шестерня на этой картинке установлена в одном подшипнике ( судя по фотке ) . Если подшипник по конструкции аналог подшипнику передней ступицы ВАЗ 2108 - это уже лучше . 

Вот я и ищу точные чертежи, еще лучше с технологическими картами.
Но похоже найти их не представляется возможным, поэтому приступил к разборке агрегата.

Второй опорой валу видать предполагали подшипник установленный в маховике ? 

Хвостик первичного вала до маховика не дотягивается. Хотя в теме про этот редуктор написано что вал трёхопорный.
Но даже если бы он туда входил, я бы его отпилил.
Должно быть или два конических, или Восьмёрочный ступичный.
Третий будет явно лишним, если не сказать вредным, т.к.фланцевое соединение двигателя с редуктором от поперечного (радиального) смещения ни чем не подстраховано.
Болты крепления не компрессионные и центрирующие штифты не предусмотрены.
ДА и штифты устанавливаются индивидуально, после проверки концентричности .
 
Вот я и ищу точные чертежи, еще лучше с технологическими картами.
Но похоже найти их не представляется возможным, поэтому приступил к разборке агрегата.

Аналогичный по принципу редуктор установлен  на осях ВОЕННЫХ  УАЗИКОВ . Заменить колесо пропеллером  - всего
делов .
  При использовании переднего моста  подучаем  пропеллер с Изменяемым Вектором Тяги .
 

Вложения

  • 144_006.jpg
    144_006.jpg
    222,3 КБ · Просмотры: 211
  • 145_003.jpg
    145_003.jpg
    201,2 КБ · Просмотры: 177
Да, конструкция очень похожа, и работает надёжно.
Не пойму, где же искать косяк в редукторе Черносвитова ?
Остаётся только грешить на прослабленные шлицы на выходе вторичного вала.
Как писал Лыжник - Фланец винта подтягивали три раза, но он всё равно после каждой пробежки разбалтывался и люфтил во всех направлениях (осевое, радиальное, плоскостное, вращательное).
Начну с этого узла , кстати в придачу к редуктору продавец вручил мне вторичный вал с фланцем, на котором более серьёзные шлицы. В этом новом соединении не ощущается люфта даже без гайки.
Сегодня уже поздно, а завтра позвоню продавцу и выясню происхождение этой доработки.
 

Вложения

  • IMG_6877_001.JPG
    IMG_6877_001.JPG
    25,7 КБ · Просмотры: 144
Не пойму, где же искать косяк в редукторе Черносвитова ?

  В редукторе УАЗ  малая шестерня опирается на роликовые подшипники  25  и 19 , + ещё два подшипника на валу .  В Вашем варианте малая шестерня  висит консольно .   
 
Ведущая шестерня главной передачи УАЗа (и большинства других авто) тоже висит консольно, но это не мешает ей работать долго и надёжно.

Я думаю, что первичный вал редуктора слишком короткий чтобы он мог прогнуться или поймать резонансные колебания.
 
Как пояснил мне  Сергей.ев эксплуатировавший данный редуктор, в течении четырёх часов произошло следующее :
1) съело пальцевую муфту, из за отсутствия соосности между коленвалом  и первичным валом редуктора
2) подшипники вторичного вала не отрегулировать без "хирургического вмешательства", (что там мешает пока не разобрался)
3) фланец ВВ невозможно удержать от разбалтывания ( шлицевое соединение прослаблено, упереться фланцу особенно некуда , поджать его трудно, у гайки шаг просто огромный - наверно миллиметра три вместо 1,25мм-1.5мм.
В результате разрушение редуктора (шестерен и корпуса), хорошо не в полёте а на земле перед вылетом.


Продавец - Виктор diletant пояснил ,что запасной вторичный вал шел с редуктором как улученная доработка, хотя гайка осталась прежняя.

Короче говоря: буду устранять косяки , сделаю принудительную смазку подшипников и на испытания.
О результатах доложу.
 
Hitek писал (№457):
Как уживаются 4 подшипника качения на одном валу?

У Виноградова уживаются и 5 шарикоподшипников качения (№107 и 106) на одном валу.
Резиновые втулки муфты МУВП - от рессор "Волги".
Фланец ВВ (шлицевое соединение) - также возможно разбалтывание.
 
Стриж писал(а) Вчера :: 22:02:33:
У Виноградова уживаются и 5 шарикоподшипников качения (№107 и 106) на одном валу.

Наверно это какие-то шибко точные подшипники... или мне читали неправильные "Детали машин

Все подробно :

http://rutracker.org/forum/viewtopic.php?t=470687
 
Соосник из USA

http://www.ctie.monash.edu.au/hargrave/radioplane_engines.html

http://www.ctie.monash.edu.au/hargrave/radioplane_engines2.html
 

Вложения

  • righter_2-Gs-17_cutway_750_001.jpg
    righter_2-Gs-17_cutway_750_001.jpg
    83,2 КБ · Просмотры: 166
  • righter_0-15-1_01_500_001.jpg
    righter_0-15-1_01_500_001.jpg
    60,6 КБ · Просмотры: 178
  • 2-gs-17.jpg
    2-gs-17.jpg
    43,1 КБ · Просмотры: 179
Разобрал Черносвитовский редуктор, замерил, сделал чертёж.
Нашел причину по которой не регулировались подшипники вторичного вала.
Как пояснил мне Сергей.ев эксплуатировавший данный редуктор, в течении четырёх часов произошло следующее :
1) съело пальцевую муфту, из за отсутствия соосности между коленваломи и первичным валом редуктора
2) подшипники вторичного вала не отрегулировать без "хирургического вмешательства", (что там мешает пока не разобрался)
3) фланец ВВ невозможно удержать от разбалтывания ( шлицевое соединение прослаблено, упереться фланцу особенно некуда , поджать его трудно, у гайки шаг просто огромный - четыре мм. вместо 1,25мм-1.5мм.
2) Между подшипниками (внутренними обоймами) стояла дистанционная втулка , на чертеже я её убрал.
3) Вторичный вал заменил на доработанный, поставил втулку в которую упёрся фланец ВВ. .
3) Соосность с двигателем ещё не проверял.
И ещё: обнаружил недостаточную прочность зубов ведущей шестерни , надо отдать специалистам на анализ.

Хотел заменить роликовые-конические на  шариковый радиально-упорный и роликовый со свободной обоймой, для компенсации тепловых расширений. Но пока передумал, т.к. даже у радиально-упорного осевая нагрузка меньше чем у роликового-конического (19-26 кН против 56-77 кН.)
 

Вложения

  • Sborka_reduktora_s_konicheskimi_podshipnikami.JPG
    Sborka_reduktora_s_konicheskimi_podshipnikami.JPG
    49,6 КБ · Просмотры: 193
  • Sborka_reduktora_s_konicheskimi_podshipnikami_2.JPG
    Sborka_reduktora_s_konicheskimi_podshipnikami_2.JPG
    59,6 КБ · Просмотры: 191
  • Sborka_reduktora_s_konicheskimi_podshipnikami_3.JPG
    Sborka_reduktora_s_konicheskimi_podshipnikami_3.JPG
    42,3 КБ · Просмотры: 190
Назад
Вверх