Самолет из г.Красный Сулин

Делаю впускной коллектор под 1 карбюратор. Купил на строительном рынке стальные отводы 90 гр. внутренним диаметром 36 мм, толщиной стенки 3 мм, и приварил электродом к фланцам, вырезанным из стальной пластины толщиной 6 мм. Перемычка из алюминиевой трубы внутренним диаметром 38 мм, толщина стенки 1 мм. Вес впускного коллектора на сегодня примерно 1,5 кг. (стальные патрубки 2 шт. по 625 грамм, перемычка из алюминиевой трубы 250 грамм). Осталось вырезать из алюминиевой пластины толщиной 8-10 мм и приварить к ал трубе фланец под карбюратор.

вх колл.jpg


вх колл и алюм труба.jpg
 
Jeka55
Хочу сразу предупредить, что мы тоже сперва ставили один волговский карб, но мотор развивал не полную мощность, как только поставили два Бинга 54 и синхронизатор мотор запел и тяга была 130 кг на 3300 с 1,6 м винтом.Для одного карба нужен хитрый ресивер иначе смеси не хватает ему. Виталич конечно летает, но это совет пройденного этапа. Центровка нормальная 25% считается, на нос не стоит особо грузить, висеть будет на ручке.
 
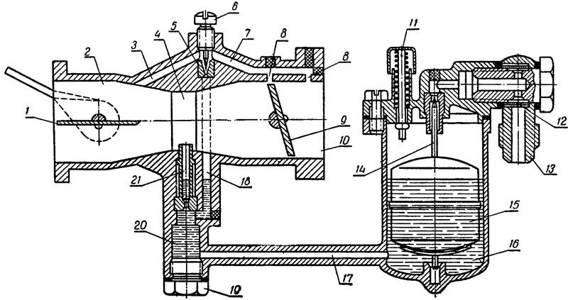
По поводу карбюратора для фольксвагена, писал не однократно. Если двигатель крутится до 4000 об/ мин. не нужно два карба не нужен карб двух камерный. Не нужен "хитрый", закругленный впускной коллектор. Один карбюратор, диффузор Ф 24 - 26 мм смесительная камера 34 - 36, обеспечит все, на что способен ваш двиг объемом 2 л. Закругления коллектора , несколько камер, несколько карбов, все это дает результат если обороты более 6000. Для VW CU отлично подойдет К -124 от УАЗ. с простым нижником. К-125 от ЗАЗ тоже хороший вариант но тут надо расточить диффузор и смесительную камеру ,жиклеры я определил опытным путем. Топливный ГДС Ф1.25мм топливный холостого хода 0,60 мм. Есть еще не значительные доработки, если нужно напишу.

З.Ы. для устойчивой работы на х.х нужно обеспечить подогрев коллектора под карбом.

что мы тоже сперва ставили один волговский карб, но мотор развивал не полную мощность, как только поставили два Бинга 54


100% "дело было не в бобине" Процес доводки карба под конкретный мотор, не простой и многие не получив ожидаемого результата начинают менять карбы, пока случайно не попадут в нужные характеристики.
 
Приветствую . можно ннсколько фоток по работе над обшивкой СТЭФом крыльев.
 
Vitalich
🤣 ..................нееее, там работал спец настоящий, просто вероятнее всего он пошёл более простым путём.
 
Приветствую . можно ннсколько фоток по работе над обшивкой СТЭФом крыльев.
Фоток по обшивке СТЭФом крыльев не нашел.
При обшивке СТЭФом крыльев самое "трудное" было подсунуть СТЭФ между передним лонжероном крыла и дюралевым листом (толщина 0,5 мм) обшивки носика крыла, что бы обшивка была по потоку воздуха.
Подсунув СТЭФ как можно глубже (практически до заклепок , которыми приклепан алюминиевый носок к переднему лонжерону), прочерчивал фломастером на СТЭФе линию где проходит край лонжерона.
Достав СТЭФ, смотрел что бы расстояние от линии до кромки СТЭФа было не менее 15 мм (по 5 мм от края СТЭФа и лонжерона, и 4 мм на заклепку). Если расстояние было меньше 15 мм, в районе заклепок держащих носик крыла с лонжероном делал небольшие полукруглые вырезы, что бы СТЭФ залез глубже между лонжероном и носиком крыла. Затем сверлил в крайних точках 2 отверстия по 3,5 мм, и закреплял 2-мя белыми саморезами. После этого между этими саморезами через 4-5 см сверлил отверстия диаметром 4 мм сквозь: носок крыла из листа алюминия 0,5 мм - СТЭФ - лонжерон крыла.
Прочерчивал по нервюрам и задней кромке крыла линии отреза СТЭФа.
Потом вытаскивал СТЭФ, срезал на лонжероне заусеницы от сверления, продувал места сверления компрессором, пылесосил.
Середину нервюр и места будущих отверстий под заклепки прочерчивал черным фломастером. Я вначале этого не делал (думал что СТЭФ немного прозрачный и я все увижу), но несколько отверстий просверлил не точно по центру полки нервюры.
СТЭФ обрезал по размеру ножницами по металлу, углы немного обрезал и закруглял напильником по металлу.
Затем устанавливал опять на свое место СТЭФ и вставлял не затягивая заклепочником вытяжные заклепки (чем больше, тем лучше).
Сквозь СТЭФ и нервюры (кроме нервюры на которой будет стык с очередным листом СТЭФ), а так же задний лонжерон и заднюю кромку крыла сверлил отверстия 4 мм, вставлял заклепки. После того как просверлил все отверстия 4 мм, снимал заклепки (кроме заклепок на переднем лонжероне), приподнимал СТЭФ, срезал заусеницы в отверстиях, продувал компрессором, пылесосил.
Затем все отверстия проклепывал заклепочником.

клепка стэф.jpg
 
Разболтается СТЭФ при таких больших линейных размерах. Слишком разные коэффициенты линейных расширений у металла и СТЭФа. Да и тяжеловат он в сравнении с тканью. Я повыбрасывал такую обшивку.
 
Разболтается СТЭФ при таких больших линейных размерах. Слишком разные коэффициенты линейных расширений у металла и СТЭФа. Да и тяжеловат он в сравнении с тканью. Я повыбрасывал такую обшивку.
Продумывал и вариант с обшивкой крыла тканью, но тогда площадь ткани, нужна была примерно в 2 раза больше, чем площадь СТЭФа (вот фото для сравнения площади обшивки крыла), т.к. нужно было обтягивать еще носик крыла и другие части крыла сзади переднего лонжерона уже обшитые дюралевым листом, а так же не забывать о перехлесте ткани и всяких усилительных лентах из ткани. У ткани пропитаннной эмалитом и покрашенной, вес примерно 400-450 грамм на 1м.кв., у СТЭФа толщиной 0,5 мм вес=800-850 гр. на м.кв. Веса думаю не намного больше набрал, чем с тканью.
С разными коэффициентами линейных расширений СТЭФа и алюминия не должно быть больших проблем, т.к. самые большие куски обшивки из СТЭФа размером 1000х800 мм. Хотя если честно признаться, собирался обшивать листами СТЕФа 2000х1200х0,5мм, но такого размера на складе не оказалось, пришлось купить СТЭФ размером 1000х1200х0,5 мм.

IMG_20190727_170951__1_.jpg
 
Для интереса посчитал на сколько миллиметров увеличится лист СТЭФа длиной 1 метр при увеличении температуры на 1 градус. Коэффициент линейного расширения СТЭФ равен 0,000008. Т.е. при увеличении температуры на 1 градус, лист СТЭФа длинной 1 метр увеличиться на 0,008 мм.
У алюминия коэффициент линейного расширения 0, 000024. Т.е. при увеличении температуры на 1 градус, лист алюминия длинной 1 метр увеличиться на 0,024 мм.
Разница между алюминием и СТЭФом равна 0,016 мм на 1 градус.
Т.к. зимой летать не собираюсь, то диапазон температур для полетов берем от 0 до 35 градусов С. Клепал я СТЭФ к крылу в отапливаемом гараже при температуре примерно 17,5 градусов. Т.е. обе стороны температурного диапазона остается по 17,5 градусов. 17,5 х0,016=0,28мм. Если ошибся, поправьте.
 
Помогите опознать карбюратор, который стоял на двигателе Вихрь-30. На нем есть только надпись MIKUNI. По поиску в интернете похожего Микуни не нашел. Диаметр на выходе 36 мм.

микуни фланец.jpg


микуни сверху.jpg


микуни возд фильтр.jpg
 
Попробую этот неизвестный карбюратор Микуни поставить. Он горизонтальный (высота примерно 12 см), отлично вписывается в подкапотное пространство самолета. Диаметр диффузора у него 36 мм, т.е. точно такой как на родном впускном патрубке двигателя Фольксваген объемом 1970 см.куб. Кстати карбюраторов мототехники с размером диффузора более 34 мм по поиску в интернете не нашел.

Karb.jpg


unnamed.jpg
 
Попробую этот неизвестный карбюратор Микуни поставить. Он горизонтальный (высота примерно 12 см), отлично вписывается в подкапотное пространство самолета. Диаметр диффузора у него 36 мм, т.е. точно такой как на родном впускном патрубке двигателя Фольксваген объемом 1970 см.куб. Кстати карбюраторов мототехники с размером диффузора более 34 мм по поиску в интернете не нашел.

Посмотреть вложение 434788

Посмотреть вложение 434789
А вы попробуйте.
Помню, был у меня мотоцкл "Минск" и стоял там карбюратор с которым вечно приходилось мучаться. А знакомый, разбирающийся поболее моего, за даром поставил карб у него имеющийся (уже и не вспомню, но явно название немецкое). Имеющий примитивный вид, такую же систему и даже фильтра у него не было(В прямом смысле этого слова. Вообще ничего, даже марли), но это уже наш косяк был. Ничего из имеющегося не подошло. Оставили на потом, так он благополучно два теперь уже, поколения и отходил. Проблемы ушли вообще. За это время его так больше никто и не регулировал. И как не странно, он по входному отверстию меньше чем нужно, а тяга, не сравнимо больше.
 
Это простейший карбюратор. Скорее всего от пускача или лодочного мотора. В принципе можно поставить но экономичной работы добиться будет сложно. У этого карба нет системы полной мощности, которая бы обогащала смесь при полном открытии дросселя. Если его отрегулировать на полную мощность то в крейсере будет перерасход бензина. Если отрегулировать на экономичную работу, не будет выдавать всю мощность при полном дросселе. Но попробовать можно. Обязательно вывести ручку подсоса (воздушной заслонки) в кабину и пользоваться ей как корректором смеси. Подбором главного жиклера добиться, что бы на крейсерском режиме свечи были светло коричневые, а на взлете не много давать подсос. С провалом при резкой даче газа придется смириться.

060.jpg
 
Последнее редактирование:
Пришел по почте блок Микропроцессорной системы зажигания "SECU-3 Micro".

Без названия.jpg
 
Нашел стальной шкив коленвала с реперным диском 60-2 от ВАЗ. Шкив генератора с резинкой вырезал, остался реперный диск весом 411 грамм. Посрезал с него еще металл, остался диск весом 243 гр.

IMG_20200621_080244.jpg


IMG_20200621_130805.jpg


IMG_20200624_151942.jpg
 
Из нержавейки толщиной 1мм вырезал круглую пластину, вставил внутрь реперного диска.

IMG_20200625_091218.jpg


IMG_20200625_110043.jpg


IMG_20200625_110051.jpg
 
Назад
Вверх