• Вышел новый выпуск программы ФлайтТВ, посвященный современным российским ЮПШ (юношеским планерным школам).
    Видео на Youtube. Ссылки на другие платформы и обсуждение в теме на форуме.

Socata в России

Ребята, подскажите, кто делал СЛГ, в перечне документов требуют бортовой журнал, поделитесь пожалуйста своим опытом, может у кого то есть образец борт. журнала!?
 
Ребята, подскажите, кто делал СЛГ, в перечне документов требуют бортовой журнал, поделитесь пожалуйста своим опытом, может у кого то есть образец борт. журнала!?
мы ведем в таком виде.

Можете сделать копию для своего аккаунта в гугле и в гугл таблицах заполнять.

Согласно п. 2.22 ФАП-128 Бортжурнал может быть в электронном виде. Требования по заполнению и системе обеспечивающей контроль внесения изменений - в ФАП-128 указаны.
 
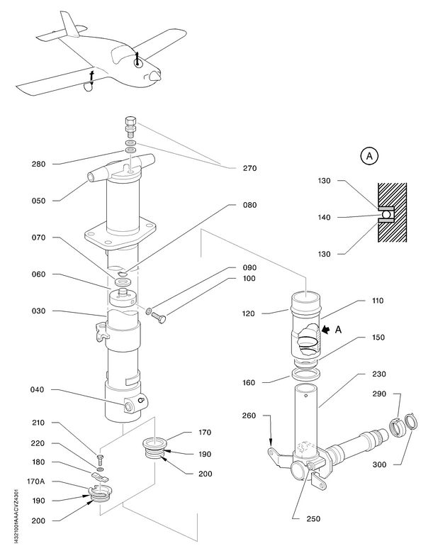
День добрый! Кто не будь перебирал основные стойки на ТБ10? Где сейчас модно заказывать ремкомплекты? На спрусе не нашел - Соката же с уникальными партномерами. Или может местные резинки подходят? Засопливилась основная стойка - грамм 5-6 в неделю вытекает, ...несколько капель, но неприятно в луже стоять.
 
Если кому то поможет - переписка с Дахером о резинках на стойки (сполер - идите в Симавиа в Краснодаре):
В приложении страница из мануала с номерами резинок + чертеж переделки поршня для добавления допколец, для уменьшения вероятности протечек (требуются дополнительное количество резинок).


Good day Sergey,
There is no specific kit available for shock absorber repair on TB10.
However with reference to IPC 32-10-11, please find below needed P/N for shock absorber repair :
  • Item 120 O-RING P/N : 7423081037 Qty 1
  • Item 130 RING P/N : 7061080731 Qty 2
  • Item 140 O-RING P/N : 7423081059 Qty 1
  • Item 150 RING P/N : 7061080732 Qty 1
  • Item 160 RETAINING RING P/N : 7135110001 Qty 1



image002.png


I also take the opportunity to inform you about an existing approved technical solution (attached drawing) to reduce shock absorber oil leaks occurrences.
This modification allow the installation of 2 supplementals seals on the sliding tube after reworking it.
If you apply this modification you will in this case the same parts for the repair but with different quantity :
  • Item 120 O-RING P/N : 7423081037 Qty 2
  • Item 130 RING P/N : 7061080731 Qty 4
  • Item 140 O-RING P/N : 7423081059 Qty 2
  • Item 150 RING P/N : 7061080732 Qty 1
  • Item 160 RETAINING RING P/N : 7135110001 Qty 1


Concerning ordering the parts you will have to contact one of our authorized spare parts distributor.
For Russia I would recommend to contact SIMAVIA located in Krasnodar. (SIMAVIA Contacts)
Focal point :
Vladimir Sereda
+7988-602-94-42
service@simavia.com
Hope this helps,
Do not hesitate to contact us if you have any questions,
Kind regards
image001.png


Subject followed by :
Tanguy CAREL
Tel +33 5 31 74 03 78
M +33 6 33 63 66 98


Customer & Network Care Representative
AIRCRAFT DIVISION


TBM Care Hotline : +1 833 TBM CARE


TBM AOG Hotline 24/7/365 : +1 844 4 TBM AOG
tbmcare@daher.com


Tarbes Lourdes Pyrénées Airport - 65290 - LOUEY


www.daher.com - www.tbm.aero

image002.png
 

Вложения

Неожиданная и необходимая информация по ремонту стоек Socata. Огромное спасибо за вашу отзывчивость, за джентельменское отношение к вашим собратьям и коллегам!!!))))
 
(продолжение поста 588)
Наступила хмурая подмосковная осень и подошло время заняться двигателем. Поскольку давление масла на прогретом моторе устойчиво стоит в правой стороне зеленого сектора на всех режимах, а компрессия оставляла желать лучшего, принято решение ограничиться топ оверхолом. Пришли долгожданные коробушки из мировой оси зла🙂

photo_2021-09-27_10-14-01.jpg
 
в конце зимы у нашего форумчанина купил весь инструмент для работ по двигателю, в том числе оправку для колец

photo_2021-09-27_10-13-54.jpg
 
в один из неожиданных солнечных осенних дней с 10 утра начали сборку от голого блока с торчащими шатунами, предварительно приковав цепью к самолету сертифицированного мастера по ремонту лайкомингов (чтоб не убежал, пока не запустимся! 🙂 )

photo_2021-09-27_10-13-31.jpg


photo_2021-09-27_10-13-50.jpg


photo_2021-09-27_10-13-45.jpg
 
Последнее редактирование:
Назад
Вверх