Экраноплан.

Уму не постижимо , что может заставить на обыкновенном профиле Р-11 при обдувке спереди в носик ,  заставить сместиться вектор  пониженного ЦД вперёд и даже двигать профиль вперёд 

Бросайте это непонятное дело , от него одни расстройства !!!  😉
 
Валерий!
Странный Ты человек, ей богу!
Обижаешься, когда Тебе пытаются правду сказать и не слышишь, когда Тебе пытаются что-то объяснить. Укаждого в голове свои тараканы, видать...
 
Когда сказать нечего, а укусить сильно хочется ,поступают именно так.. Я для вас @ Lapshin не ГОЙ , а вы для меня не Гуру ..Посвященный узнает о чём речь !
Кусаться вовсе не имелось в виду - скорее, дать подзатыльник не слушающему резонных доводов, но продолжающему выдумывать из головы что попало.
На авторотируемом  профиле лопасти вертолётного винта поток поступает сильно снизу. профиль располагается на огромном угле атаки и за счёт этого ЦД смещается вперёд !
Авторотирует никакой не профиль (он может быть, в принципе, любым - лучше безмоментным), а несущий винт; у автожира авторотация вообще происходит в течение всего полета. С какого перепуга профиль находится на ОГРОМНОМ угле атаки (в каждом сечении лопасти он разный, но не огромный и далекий от критического); кто сказал, что ЦД смещается вперед ( безмоментный профиль имеет и практически не изменяющийся до критических углов, ЦД)?
Это воинствующее невежество уже порядком достало: гению, утирающему сопли основоположникам аэродинамики (каковым вы мните себя совершенно без причины) пристало бы показать на деле - полетами и характеристиками, подтверждающими ваши безумные теории: но ВЖИКУ, в защиту концепции которого было истрачено столько ресурса голосовых связок, боюсь, суждено так и остаться маломерным судном, плавающем в водоизмещающем режиме.
Отговорки типа "Ванька дома - Маньки нет; Манька дома - Ваньки нет" уже сильно приелись.
 
Доброго дня, прошу, так сказать, прощение что прерываю столь высоко ученный спор. Но есть нужда Вас потревожить по ряду вопросов.
Если не затруднит -
1) Если ЭСКА 1 поставить на два надувных полноценных поплавка и полностью вынуть фюзеляж из воды тем самым сделать полноценный катамаран, будет из этого толк?
2) Можно ли использовать для обшивки крыла типа ЭСКА 1 ПВХ ткани которые используются для изготовления надувных поплавков?
3) Стоит ли связать лонжероны на ЭСКА подкосом (при условие что он будет находится над водой всё время), как вариант такой связки крайние точки лонжеронов которыми опирается на поплавки.
4) Мне не понятно почему винт на ЭСКА  находился прямо над головой пассажира?
спасибо.   
 
1) Если ЭСКА 1 поставить на два надувных полноценных поплавка и полностью вынуть фюзеляж из воды тем самым сделать полноценный катамаран, будет из этого толк?

Это [highlight]казак[/highlight]а надо спросить,у него как раз на поплавках ,наверное уже он оценил ситуацию !  🙂
 
1) Если ЭСКА 1 поставить на два надувных полноценных поплавка и полностью вынуть фюзеляж из воды тем самым сделать полноценный катамаран, будет из этого толк?

Уже было сделано на "Иволге" у Колганова. Только поплавки у него не надувные, а пластиковые.
22886803.jpg

А надувные поплавки-баллонеты были на нижегородских акваползах "ВОЛГА-2" и "АКВАГЛАЙД".
1166050.jpg

s25540202.jpg

Свою задачу вроде бы выполняли..

2) Можно ли использовать для обшивки крыла типа ЭСКА 1 ПВХ ткани которые используются для изготовления надувных поплавков?

Зависит только от удельной нагрузки на крыло и способа крепления мягкой обшивки к силовому набору крыла.

3) Стоит ли связать лонжероны на ЭСКА подкосом (при условие что он будет находится над водой всё время), как вариант такой связки крайние точки лонжеронов которыми опирается на поплавки.

А смысл в этом какой?  :🙂
Выиграть по массе 3 - 5 кг и проиграть в аэродинамике и в эксплуатационных удобствах?

4) Мне не понятно почему винт на ЭСКА  находился прямо над головой пассажира?

Авиационными правилами такое расположение воздушного винта НЕ РЕКОМЕНДУЕТСЯ. Посмотрите на чертежи ЭСКА-1 в профиль более внимательно: плоскость вращения воздушного винта всё-таки находится чуть-чуть позади головы пассажира.
8309_ekranoplan_2.gif

   
 
Если ЭСКА 1 поставить на два надувных полноценных поплавка и полностью вынуть фюзеляж из воды тем самым сделать полноценный катамаран, будет из этого толк?
Полноценные поплавки для самолётов не бывают надувными! Ибо у последних плохая гидродинамика.
И это будет не ЭСКА, а другой аппарат. У Липпиша толк был. 😉
2) Можно ли использовать для обшивки крыла типа ЭСКА 1 ПВХ ткани которые используются для изготовления надувных поплавков?
Обшивку крыла нужно делать жёсткой, чтобы на ней загорать, нырять, рыбачить, ставить и снимать сети  с неё! 🙂
4) Мне не понятно почему винт на ЭСКАнаходился прямо над головой пассажира?
Для охлаждения двигателя необходим был тянущий двинт+Двигатель заводили за винт из кабины. Эл. стартеры были в дефиците.
 
@ Alex_520
@ KAA
Спасибо за развернутые ответы.
Мне вот что подумалось, для легкого двух местного экрана (мне всякие лазы -леты режет слух, типа Добролет) ЭСКА, как Вы сами говорите лучшее что есть на данный момент и если бы можно было бы расширить время эксплуатации и на зимний период было бы на много лучше. Но вот изначальный Грунивский вариант для этих целей как мне кажется не очень, поэтому и вопрос про схему катамаран.
Далее
Полноценные поплавки для самолётов не бывают надувными! Ибо у последних плохая гидродинамика.
Согласен конечно же - хуже, но ведь есть и вполне приемлемые не дорогие относительно жестких поплавков варианты, допустим как на фото ниже (этот вариант дорогой).
Обшивку крыла нужно делать жёсткой, чтобы на ней загорать, нырять, рыбачить, ставить и снимать сети  с неё!
Может быть, но это сильно удораживает конструкцию крыла когда можно наверно применить более дешевый трубкотряпко вариант (может только жесткий пластиковый лоб сделать для крепости при легких столкновениях, пример - с чайками), а для придания прочности конструкции вести этот подкос который свяжет плоскости и не даст поплавкам разъезжаться. Тем более ведь возможно что касание при посадки на воду и на лёд будет приходится на одну плоскость.
На счет ткани ПВХ, как мне видеться классическое решение применяемое в авиации не очень подходят из -за близости воды, а современные ткани ПВХ будут самый раз тем более плотность у них бывает разной.  Вот статья про эти ткани http://katerlodkamotor.ru/articles/lodki-iz-tkani-pvh
 

Вложения

  • P1120181_001.JPG
    P1120181_001.JPG
    84,8 КБ · Просмотры: 178
Еще вопросы
1) На ЭСКА применены два профиля КЛАРК У и ЦАГИ Р II, можно ли оставить один из них и какой? Тем более все равно авторы спрямили нижнею дужку до прямой и как известно можно спрямить у верхней  дужки заднею часть за максимальной высотой профиля, что тем образом оставляет от профиля только лоб. 
2) Убрать крутку крыла?
Это надо для того что бы упростить конструкцию, подогнав к тряпко турбко.
3) Если лобик делать по технологии сэндвич, сильно ли будет он воду набирать? Этот вопрос относится и к фюзеляжу. Допустим если пенопласт будет в 10 мм экструдированный, кривые выклеены из резанных пластин, затем вышкуренных и обклеяных стеклом (так видел катера собирают)? 
Конечно же встаёт вопрос, конфликта материалов. Но думаю что можно обойти это тем, что плоскость короткая и тепловое удлинение трубы АМГ будет не сильное, что вполне можно компенсировать гибкими связями между трубой лонжерона и сындвичем
 
Обратитесь к Грунину Е.П. со своими вопросами.

Тут года два назад человек из его КБ как раз пытался рассказать кое-что про грунинские наработки в экранопланной теме. Его ник на форуме browzer (как-то так, вроде бы)...
 
Для Казака:

Валерий!
Почитай на досуге вот это - http://cyberleninka.ru/article/n/ustoychivost-upravlyaemost-i-printsipy-avtomatizatsii-upravleniya-ekranoplanom-na-kreyserskom-rezhime-poleta

Для Вадима 2,0:

Попробуй выйти на browzer-а через личку этого форума. Мне он отвечал как-то...
 
самые мощные вектора почему то  все впереди, особенно мощные над профилем на экране даже уходят  сильно вперёд
И всё таки , кто ни-будь на форуме может объяснить , почему Е.Грунин  нарисовал векторы пониженного давления на профиле сверху(  и даже повышенного Р+ !!!снизу под профилем    😱 😱 😱) вверх и далеко вперёд профиля ? 
Так Вы и сами можете ответить на этот вопрос. Наложите график распределения коэффициента давления на профиль. Посмотрите, где пиковые значения разрежения и вспомните, что давление действует по нормали к поверхности.
Если Вы еще вспомните, что такое критическая точка и где она расположена, то все окончательно встанет на свои места.
 
Еще вопросы
1) На ЭСКА применены два профиля КЛАРК У и ЦАГИ Р II, можно ли оставить один из них и какой? Тем более все равно авторы спрямили нижнею дужку до прямой и как известно можно спрямить у верхней  дужки заднею часть за максимальной высотой профиля, что тем образом оставляет от профиля только лоб. 
2) Убрать крутку крыла?
Это надо для того что бы упростить конструкцию, подогнав к тряпко турбко.
3) Если лобик делать по технологии сэндвич, сильно ли будет он воду набирать?   


Та простота, к которой вы стремитесь, была реализована Груниным и со на Бланике с гибким крылом. К фюзеляжу планера вместо крыльев были приделаны две дугообразные трубы - лонжероны, расчаленные тросами, на которые натягивалась ткань. Экраноплан нормально летал. Однажды из-за ошибки, даже свалившись на 30 метрах, устойчиво парашютировал пока не лег на экран. Планировали к фюзеляжу пристыковать лодку, но забросили.... Люди, к сожалению, не всегда могут делать то, что им нравится.

В вашем катамаранном варианте развитие этой идеи мне видится в куполообразном крыле, опирающемся своими концами на поплавки. Без крутки тут не обойдешься - она получается автоматически из условия нахождения задней кромки в одной плоскости. Пропеллер должен находится, хотябы частично, перед крылом. Исходя из аналогов размах крыла должен быть порядка 5 метров, что создает большие проблемы жескости связей поплавков и транспортировки подобной конструкции. В этом смыле ЭСКА с отстыковывающимися консолями оптимальна.
 
@ Приморец
Спасибо.
Мой рисунок, просто как идея. Там все просто хребтовая рама основа труба примерно так 6000х115х2 и на ней все навешано и пристыковано. Все размеры плоскостей как на ЭСКА.
Плоскости крыла то же можно пристыковывать не чего сложно в этом нет.
Это только идея для носителя экспериментального двигателя, но если не получиться с моим моторм можно и РМЗ 500 поставить.
А ниже Липпиша Х 114
 

Вложения

  • JEkran_koncept_001.jpg
    JEkran_koncept_001.jpg
    63,9 КБ · Просмотры: 172
  • RFG-X-114-Airfoilboat-4.jpg
    RFG-X-114-Airfoilboat-4.jpg
    134,7 КБ · Просмотры: 166
На ЭСКА применены два профиля КЛАРК У и ЦАГИ Р II, можно ли оставить один из них и какой? Тем более все равно авторы спрямили нижнею дужку до прямой и как известно можно спрямить у верхней  дужки заднею часть за максимальной высотой профиля, что тем образом оставляет от профиля только лоб.  
Вот к стати в поисках нашел наложение одного профиля на другой, мне показалось интересно
 

Вложения

  • 7_274.jpg
    7_274.jpg
    5,5 КБ · Просмотры: 206
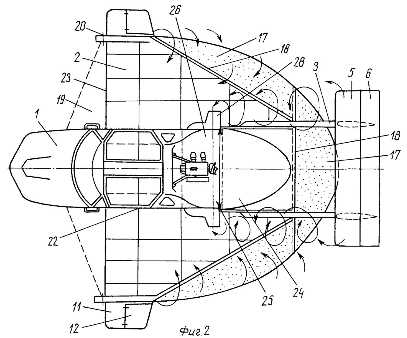
Лично мне не нравится толкающая схема в экранопланах из за потери возможности поддува под крыло. Компромисом будет схема экранолета Макарова (Патент RU 2185979). Кроме этого она привлекательна тем, что за счёт полуокружности на задней кромке позволяет получить большую среднюю хорду. Я, в отличии от Макарова, не аэродинамик, но чутье и исторические примеры самолётов с таким планом крыла (ARUP) подсказывают, что истина рядом.
 

Вложения

  • JEkr_Makarova_1.jpg
    JEkr_Makarova_1.jpg
    84,1 КБ · Просмотры: 173
  • JEkr_Makarova_2.jpg
    JEkr_Makarova_2.jpg
    144,6 КБ · Просмотры: 170
Назад
Вверх