Конструкция редукторов, виды в разрезах и сечениях

Я, как производитель готов с любым дилером рассмотреть  дилерское соглашение.
Это в дальнейшем касается редукторов,дисков,пластика,моторов.
Есть хорошая книга.Ли Яккока."Карьера менеджера".Дилер не спекулянт и не ловкий парень.

   Дилер должен быть очень ловким парнем и спикулем ! Смело должен рекламировать товар .
   Чернов , учись как рекламу на твой редуктор  писать надо .
1000 часов , а потом возможно придётся заменить сальники .

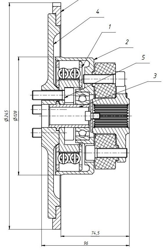
SPG-2.
Общая информация:
Редуктор предназначен для 4-тактных авто двигатель преобразования до 140HP и их использование с винта для НЕ СЕРТИФИЦИРОВАННАЯ экспериментальные сверхлегких летательных аппаратов, судов на воздушной подушке, airboats и др. Он может быть использован для трактора и толкатель макеты. ТБО-около 1000 часов. Рекомендуется проверить и, возможно, изменить подшипников и резинотехнических увлажнитель после 1000 часов работы.
 
Я, как производитель готов с любым дилером рассмотретьдилерское соглашение.Это в дальнейшем касается редукторов,дисков,пластика,моторов. Есть хорошая книга.Ли Яккока."Карьера менеджера".Дилер не спекулянт и не ловкий парень.Р.С.Про изю и наполеона,про чехова-это образы С. Довлатова. 

Есть много хороших книг. Вопрос кто что из каждой книги выносит. Если прочитав хорошую книгу, ты утвердился в мнении что нормально получить предоплату, обещать конкретные изделия в конкретные сроки, а дальше рассказывать про "завтра" месяцами, (зачем торопиться если денег не будет - уже получены, при этом другие приходившие с "живыми деньгами" редуктора получали) значит это твой путь.

Ищи дилеров, делись своим вИдением дилерства. Еще добавь идеи своего "друга" про то что дилер поработает-раскрутит твои изделия, а потом можно начать продавать напрямую "за 1000 руб с доставкой". Может построишь свою дилерскую сеть.

Ко мне обращались люди с вопросами кто такой Чернов, почему больше нет его редукторов, можно ли купить напрямую. Писали письма чтоб я переправил тебе. Я отвечал что редуктор рабочий, напрямую можно, но посредничать не буду и гарантий что отправив деньги Вы получите изделие в срок (или вообще) дать не могу исходя из опыта.

Как производитель ищу надежных поставщиков комплектующих для МДП (редукторы, пластик, диски, деталировка). Сам поставляю комплектующие для производства доступные на рынке Северной Америки. 
 
Говорил тебе, что могу помирить с Черновым  🙂
Ты тогда на меня сердился 🙂 Но вот заметь, не всегда я лгу ;D
Видишь почти помирился ;D
Василий пиши проще. Нужны редуктора! Всё равно кто делает.
Главное без предоплаты, с отсрочкой и побольше 🙂
 
Ко мне обращались люди с вопросами кто такой Чернов, почему больше нет его редукторов, можно ли купить напрямую. Писали письма чтоб я переправил тебе. Я отвечал что редуктор рабочий, напрямую можно, но посредничать не буду и гарантий что отправив деньги Вы получите изделие в срок (или вообще) дать не могу исходя из опыта.

Василий Тараканов , друзья так не поступают . Друзья не посредничают , а просто дают ссылку на сайт Чернова .
Не вижу никаких проблем в этом вопросе . Достаточно разместить рекламу на 5-ти мировах сайтах (самых посещаемых ) и всего делов .

Прав "mz"  нужно делать английскую версию своего сайта и работать спокойно самому без посредников.

Кулаго , сайты на английском недорого .  Сайт выйдет на просторы через 8 часов , отсчёт от точки недорого .

Кулаго , поздравляю с выходом на ресурс в 1000 часов до замены сальников .


С лета 2012 года, мы используем новые системы преобразования нашего двигателя конверсий. В-160 редуктор был разработан с использованием наш 12-летний опыт работы с рабочим преобразования. Оно предназначено для 4-тактных авто-мото двигателя преобразования до 165HP .  ТБО-это более 1000 часов. Рекомендуется проверить и, возможно, изменить подшипников и резинотехнических увлажнитель после 1000 часов работы.

   За 280 сил субару это не шутка , тоже 1000 часов гарантия ?
 
С лета 2012 года, мы используем новые системы преобразования нашего двигателя конверсий. В-160 редуктор был разработан с использованием наш 12-летний опыт работы с рабочим преобразования. Оно предназначено для 4-тактных авто-мото двигателя преобразования до 165HP .ТБО-это более 1000 часов. Рекомендуется проверить и, возможно, изменить подшипников и резинотехнических увлажнитель после 1000 часов работы.

За 280 сил субару это не шутка , тоже 1000 часов гарантия ? 
Саша, из этого абзаца я ничего не понял.
И чисто человеческая просьба. Фамилия моя склоняется. Не я её себе придумал. Не позорься в таких  моментах.
 
Говорил тебе, что могу помирить с Черновым 
Ты тогда на меня сердилсяНо вот заметь, не всегда я лгу
Видишь почти помирился
Василий пиши проще. Нужны редуктора! Всё равно кто делает.
Главное без предоплаты, с отсрочкой и побольше 
Утри слезу.
 
Александр "mz" вот какой будет муфта сцепления редуктора для БМВ у нас.
Выскажи пожалуйста своё мнение.
Похожая у знакомых наработала уже 400 часов.
Удачи!
 

Вложения

Мужики, вот вы, чем ругаться, лучше что-нибудь полезное про редукторы народу рассказали!

Я вот не спец в самолетах, зато в автомобилях профи. И у меня, например, вызывает недоумение вопрос смазки редуктора моторным маслом. Это ж абсурд! В наше время есть суперские трансмиссионные масла для редукторов, например, CASTROL  SAF-X, специально разработанное для дифференциалов повышенного трения. Оно держит масляную пленку при огромных давлениях в пятне контакта (в этом суть работы таких дифференциалов). Все спортсмены его льют в коробки и главные передачи.
И в том же автоспорте применяются редукторы с принудительной смазкой от насоса. Но никому и в голову не придет лить туда моторное масло! Льют хорошую современную синтетическую трансмиссионку.

Или авиация - настолько консервативная область, что как придумали в 30-х годах прошлого века решения, так их и юзают по сей день?
 
Саша, из этого абзаца я ничего не понял. 

Все очень просто - это реклама с канадского сайта .
С лета 2012 года, мы используем новые системы преобразования нашего двигателя конверсий. В-160 редуктор был разработан с использованием наш 12-летний опыт работы с рабочим преобразования. Оно предназначено для 4-тактных авто-мото двигателя преобразования до 165HP .  ТБО-это более 1000 часов. Рекомендуется проверить и, возможно, изменить подшипников и резинотехнических увлажнитель после 1000 часов работы.

Редуктор заявлен под мощу 165 сил , ресурс заявлен 1000 часов до замены сальников .  Редуктор  субару до 280 сил  тоже прорекламирован .  Информации о том , что 12 лет продавались редукторы немножко другого производителя естественно нету .

Похожая у знакомых наработала уже 400 часов.

  Наработала похожая муфта или точно такая как на чертежах ?
Вопрос : Сколько раз включалась муфта  40 , 140 , 400, 800 ?
Накладки тоже выдержали заявленный ресурс ?
Заявленный результат  Es einfach die Phantastik .
 
И в том же автоспорте применяются редукторы с принудительной смазкой от насоса. Но никому и в голову не придет лить туда моторное масло! Льют хорошую современную синтетическую трансмиссионку.
Когда редуктор приходит в ремонт, то ощущение иногда. что лили внутрь смолу,гудрон.Снаружи все в грязи...
Я сейчас принципиально не буду брать в ремонт в таком состоянии.

Однажды прислали в ремонт редуктор, так мы думали. что он не эксплуатировался...-его похоже перед отправкой спиртом мыли.к такому и с уважением относишься.
Совершенно ясно, что моторное и трансмиссионное разные масла.
Но еще следует заменить-чем дороже, тем и чаще идет подделка.
 
Александр "mz" вот какой будет муфта сцепления редуктора для БМВ у нас.
Выскажи пожалуйста своё мнение.
Похожая у знакомых наработала уже 400 часов.
Удачи!
Проблемы НЕработоспособности муфты в показанном виде лично мне известны.И они на практике себя показали.
Похожая муфта(друзей) имеет отличие и оно основополагающее.
 
  Муфта  BMW в редукторе  Чернова покрепче исполнена .
По ресурсу и конструкции этих муфт у Чернова большой практический опыт , начиная от Таракановского образца .
Чернов на все эксперименты с муфтами реально денег потратил ,
с вопросом по ресурсу в 400 часов надо у него уточнять .

Ну очень знакомая картинка с чертежом муфты , а кто у тебя главным конструктором в КБ ? Нашёл общие  корни предков .
ZLINOV  , ошибки в размерах это для китайской разведки ? Скопировать муфту у Чернова  слабо ?
 

Вложения

  • Mufta_SB.jpg
    Mufta_SB.jpg
    142,7 КБ · Просмотры: 141
  • 1133.jpg
    1133.jpg
    73,7 КБ · Просмотры: 146
  • 345_009.jpg
    345_009.jpg
    146,4 КБ · Просмотры: 151
Совершенно ясно, что моторное и трансмиссионное разные масла.
Я о чем и говорю! Более того, масло маслу рознь!
Я вот уже немолодой человек, жизненного опыта и знаний хватает. И мотор откапиталить - это раз плюнуть.
Так вот когда не было качественных масел - моторы на минералке ходили 100-150 тысяч, и при разборке внутри все были забиты спекшимся говном. А сейчас моторы на синтетике ездят по 500-800 тысяч, уже все износятся внутри, зазоры везде  - но чистенькие! И не клинят! Ходят до последнего, пока стук не надоест...
Так вот я и думаю - может МС-20 и смазку редуктора от мотора - в утиль? 🙂
А про смазку редуктора. Зачем моторное масло? Есть готовые решения - автоспортивные, катерные. Маленький электрический масляный насос, фильтр, качественная синтетика. Манометр и термометр на панель. Даже если откажет насос - сбрось обороты  на всякий случай и тяни спокойно до аэродрома.
 
Я о чем и говорю! Более того, масло маслу рознь!

Я выставлял перевод с американского сайта по маслам которые необходимо заливать в редуктор . Дедушка пишет , что каждый раз заливая новое масло редуктор его желательно проверить -  даже в штатах элементарно купить подделку .
 
Так вот я и думаю - может МС-20 и смазку редуктора от мотора - в утиль?
Вы пробывали использывать это масло в автомобильном двигателе? Я во времена СССР пробывал. Так вот кроме вязкости там всё замечательно. И в кроссовые мотоциклы ЧЗ по мануалам можно было лить только Могул спешиал или МС-20 и МС-40, наверное Чехи тогда нихрена не разбирались в маслах... 😉 На ЖД транспорте тоже идиоты наверное, поскольку МС-20 используют...
Да, и кстати, существуют механические автомобильные КПП, в которые нужно лить не трансмиссионку, а моторное, а также автоматное (все мехкоробки БМВ, часть коробок Форд и т.п.). Так что кесарю кесарево, если что.
 
Ну очень знакомая картинка с чертежом муфты , а кто у тебя главным конструктором в КБ ? Нашёл общие  корни предков .
ZLINOV  , ошибки в размерах это для китайской разведки ? Скопировать муфту у Чернова  слабо ? 
Есть разница-отсутствует 62 стопорное кольцо...
 
Да муфтой, что у Чернова у нас и близко не "пахнет".
Эта муфта взята  у литовцев. А те, то же не особо заморачивались. Взяли за образец муфту от газонокосилки.
Конструктор у нас  в порядке. Буду рад если у всех такие будут.
Эту муфту за 4 часа в деталировке выдал.
В целом наш редуктор на БМВ будет  довольно интересен и прост.
Мы используем в обработке электро эрозионную резку. А она позволяет обрабатывать  закаленные(улучшенные) детали. Вот такую например. Она основа всей муфты.
 

Вложения

Да муфтой, что у Чернова у нас и близко не "пахнет".

Эт точно , Чернов  разместил в корпусе муфту с наружным диаметром 138 мм , а вам что не позволило ? Куда упёрлись в стартер или в стенку корпуса редуктора ?

В целом наш редуктор на БМВ будет  довольно интересен и прост.

Интересен вопрос какой у него будет ресурс . В принципе политика правильная , Тараканов заявляет ресурс в 1000 часов до замены сальников - и не париться . В рекламе характеристики обязательно должны быть лучше чем у конкурентов в 2 раза минимум .  Испытания нужны ресурсу .  Так сколько циклов пуска выдерживают накладки муфты ?

Эт ты Тараканова  нервную систему картинками решил дабиць .  Смотри Васёк какая маржа мимо твоих карманчиков пролетает -  Чумачечие деньжищищии !!!

Конструктор у нас  в порядке. Буду рад если у всех такие будут.

Красиво рисует и быстро - мастер .

На картинке размер который вам не удалось впихнуть в корпус выделен красным квадратиком с цифрой 138 .  Слабаки !!!
 

Вложения

  • 1133_001.jpg
    1133_001.jpg
    76,9 КБ · Просмотры: 146
Да муфтой, что у Чернова у нас и близко не "пахнет".

Чернову в этом вопросе можно верить.

Есть разница-отсутствует 62 стопорное кольцо...

Фирма решила собирать редуктор скользящей  посадкой на подшипник .

Видать корпус размером маловат ?  Фотографии корпуса выставляй для созерцания .
 

Вложения

  • 1133_002.jpg
    1133_002.jpg
    82,8 КБ · Просмотры: 134
Назад
Вверх