• Вышел новый выпуск программы ФлайтТВ, посвященный современным российским ЮПШ (юношеским планерным школам).
    Видео на Youtube. Ссылки на другие платформы и обсуждение в теме на форуме.

Одноместный сверхлёгкий вертолет Ка-56.

Bobby сказал(а):
Да какой там чертёж?!
Если Вы не можете посредством чертежа донести до станочника, что Вы хотите получить из заготовки, то он Вам выточит то, что он хочет, а не Вы. Квалифицированные станочники, вообще, без чертежа не берутся за работу. И Вы привыкайте.
 
Если Вы не можете посредством чертежа донести до станочника, что Вы хотите получить из заготовки, то он Вам выточит то, что он хочет, а не Вы. Квалифицированные станочники, вообще, без чертежа не берутся за работу. И Вы привыкайте.
Вот в том то и проблема, что найти квалифицированного станочника стало большой проблемой.
На предприятиях оснащённых хорошим оборудованием на пять станочников - один охранник, т.е. даже отойти по нужде больше чем на 5 минут грозит докладом и штрафом. Если идти оффициальным путём, то всё становиться дорого и мало доступным, ибо какие бы не были чертежи, а стоять надо над "душой" чтобы было сделано всё правильно.
Есть "конторы" которые берутся сделать всё, но станки оставляют желать лучшего..
 
http://warbirdinformationexchange.org/phpBB3/viewtopic.php?f=3&t=13327&hilit=F4F&start=375

фотки качественные .
 

Вложения

  • gyrodyne009XRONthreeinflight.jpg
    gyrodyne009XRONthreeinflight.jpg
    48,3 КБ · Просмотры: 387
  • gyrodyne012USNAirCushionVehicle.jpg
    gyrodyne012USNAirCushionVehicle.jpg
    131,3 КБ · Просмотры: 372
https://deanjeffrey.wordpress.com/2011/08/03/horace-t-pentecost-and-the-hoppi-copter/

http://airandspace.si.edu/collections/artifact.cfm?id=A19520054000

http://www.google.by/imgres?imgurl=http%3A%2F%2Fupload.wikimedia.org%2Fwikipedia%2Fcommons%2F5%2F56%2FPentecost_Backpack_Helicopter.JPG&imgrefurl=http%3A%2F%2Fen.wikipedia.org%2Fwiki%2FBackpack_helicopter&h=1024&w=768&tbnid=2q_0PsgM9w4QkM%3A&zoom=1&docid=rCSDnUZJbjYGxM&hl=ru&ei=l0WHVJn_Koj1ap3AgFg&tbm=isch&ved=0CDgQMygXMBc&iact=rc&uact=3&dur=732&page=1&start=0&ndsp=41

Пятидесятница HX-1 Hoppi-Copter

В 1940-х и начале 1950-х годов, ряд новых конструкций для Страпон вертолеты появились. Если солдаты могли подняться в воздух только с оборудованием на спине, тогда они могли действовать независимо от громоздкой инфраструктуры, необходимой для поддержки обычных самолетов и будет иметь беспрецедентную свободу передвижения на короткие расстояния. Несколько инженеров пытались применять вновь разработанные вертолет технологии идее, с надеждой, что такие продукты также коммерческих или спортивных приложений. Гораций Пятидесятница была одним из более успешных пионеров в этой области, но, в конечном счете, эти фантастические конструкции не хватает утилиты для гарантии безопасности риски, связанные с полетами такие элементарные самолетов.

Первые попытки разработать практические ультра-легких вертолетов произошло в Австрии во время Второй Мировой Войны. В Baumgartl Heliofly III и Наглер-Rolz NR 54 V2 (см. NASM коллекции) как не как практические модели, но понятия не заканчиваются. Работая Boeing винтокрылых инженер в 1944 году, Гораций Пятидесятницы начали предусматривают одно-человек вертолетов в качестве альтернативы дорогостоящим десантно-штурмов, предпринятых в ходе Второй Мировой Войны. В свободное время он начал конструкция рюкзака-установлен двигатель, который работает два вращающихся соосных винтов. Пятидесятница почувствовал, проектом предусмотрен пехотинец с той же подвижностью, как десантник, но с возможностью выбора точной зоны посадки. Он места эта конструкция, как и HX-1 Hoppi-вертолет, потому что пилот бы просто прыгать в воздухе во время взлета. К концу 1945 года, Пятидесятница завершено строительство дизайн и левой Boeing сформировать Hoppi-вертолеты, Inc. чтобы работать полный рабочий день на тестирование HX-1.

41 кг (90 фунтов) "самолет" состоял из 20-сильный мотор, повернул два 3.66 м (12 ft) диаметр деревянный роторов при 440 об / мин. Весь аппарат, прикрепленный к пилоту с двумя металлическими сводами, которые опирались на плечи. Холст ремни держали в сборе. Пилот использовал за-висит циклических ручка для контроля направления и поддерживается yaw control через twist grip на палку, которая дифференцированно разнообразный коллективного шага между двумя роторами. Палка перемещается вертикально для управления коллективным шагом для обоих роторов. На левом плече держал управления дроссельной заслонкой.

В ходе первоначального тестирования, пятидесятников и других "тест-пилотов" обнаружил, что рюкзак расположение было просто слишком неловко, чтобы справиться с гироскопических сил вращающегося ротора с лопастями. В сочетании с тяжелым весом штуковина, пилот мог легко оступиться, заставляя лезвия, чтобы ударить по земле и отправить потенциально смертоносных осколков во всех направлениях. Пятидесятники отказались тестирование HX-1, прежде чем он мог успешно покинуть площадку, и сразу же началось перепроектирование самолета с большим двигателем и трехопорным шасси, чтобы выдержать вес всего самолета. На этой новой модели, места, как 101, пилот принял обычные сидячем положении. В 1949, это Hoppi-Copter дизайн эволюционировал через 102, 103, и 104 вариации. Этот последний дизайн летел хорошо, но, как и в более ранних моделях, пилоты обнаружили, элементы управления очень чувствительные. Также, как и другие ультра-легкий вертолет проектов, дезориентация была существенная проблема на значительных высотах над землей. Hoppi-Copter пилотов не было никаких самолетов структуры для приведения в соответствие с горизонта, чтобы обеспечить адекватный визуальный справочник для управления самолетом, и вибрации и постоянного движения воздушных судов, оказываемых свои кинестетические чувства бесполезно.

Во время Hoppi-Copter тесты, Вооруженных Силах не поделиться Пятидесятницы видение легких вертолетов в качестве замены традиционных средств ВДВ и не издал какого-либо производства или научно-исследовательских контрактов. Hoppi-вертолеты их начали рынке их проектирование спортивных самолетов. Просто, так как компания готова разместить Hoppi-Copter в производство, Пятидесятница бывшая жена заставили его покинуть компанию, когда она успела стать мажоритарным акционером. Компания дремала до 1956 года, когда группа инвесторов взял на себя, с намерением добиться окончательной эволюции Пятидесятницы более ранних конструкций, но они не могли собрать достаточно денег, и попытка не удалась. По иронии судьбы, к этому времени военно-наконец-то заинтересовался сверхлегкий вертолет проектов, таких как Хиллер YROE-1 Rotorcycle (см. NASM коллекции). Пятидесятницы началась еще одна вертолетная Компания на рынке pulsejet-питание дизайн, но это также не удалось. Hoppi-Вертолеты, Inc. пожертвовал HX-1 в Смитсоновский институт в 1952 году.

Диаметр ротора: 3.66 м (12 ft)

Высота: 1,52 м (5 футов)

Вес: пустой, 41 кг (90 фунтов)

Двигатель: 20 л.с.

Ссылки и дополнительная литература

Hoppi-Copter кураторской файл, авиационное подразделение, Национальный музей авиации и космонавтики

Пересмотренный 10/30/01: Р. Д. Коннор

Физическое Описание:
Человек-вертолет; соосных винтов; нависающие ручки управления; желтый лопастей ротора; натуральный металл двигателя и топливных баков; хаки коричневый жгут.

Страна происхождения
Соединенные Штаты Америки
Тип
CRAFT-Rotary Wing
Материалы
Топливные баки - алюминиевые
Жгут - холст, ткань, стальная трубка
Ротор - дерево
Размеры
Общая: 60in. (152,4 см)
Другие: 156 x 60in. (396.2 x 152.4 см)
 

Вложения

  • helicopters_for_everbody_3.jpg
    helicopters_for_everbody_3.jpg
    158,2 КБ · Просмотры: 370
KAA сказал(а):
Насколько я знаю, "страпон"-привязной ЙУХ на лямках. Прежде чем публиковать на специализированном форуме ТАКОЕ, следовало бы грамотно отредактировать!
Дальше читать не стал.

Трудности перевода . Никогда не подозревал , что капиталисты  додумались до такого ( спротезировать и повесить на стропах прибор который по определению должен иметь вертикальное положение в пространстве ), да ищо и так мудрёно обозвать .
Приношу извинения , за нанесение Вам переводчиком от ГУГЛА психологической травмы и потерей способности читать .
А вот советского человека никаким заморским словом привести в состояние ступора (отключить сознание )было  просто  невозможно .
 

Вложения

  • trudnosti_perevoda.jpg
    trudnosti_perevoda.jpg
    79,9 КБ · Просмотры: 325
По поводу моторов....


http://www.aixro.de/produkte/wankelmotor-xr50/


здесь за них уже говорили.... 33кВт как раз то что нужно... Только вот цена...
 
В 1949, это Hoppi-Copter дизайн эволюционировал через 102, 103, и 104 вариации. Этот последний дизайн летел хорошо, но, как и в более ранних моделях, пилоты обнаружили, элементы управления очень чувствительные. Также, как и другие ультра-легкий вертолет проектов, дезориентация была существенная проблема на значительных высотах над землей. Hoppi-Copter пилотов не было никаких самолетов структуры для приведения в соответствие с горизонта, чтобы обеспечить адекватный визуальный справочник для управления самолетом, и вибрации и постоянного движения воздушных судов, оказываемых свои кинестетические чувства бесполезно.

Пилот от вибраций  утрачивал способность ориентироваться в пространстве , эт в подвешенном состоянии . (если гугл правильно перевел ).

Кто в конструкции втулки ротора силён - мот они шарниров на лопасть не весь необходимый комплект установили ?
 

Вложения

  • 900_002.JPG
    900_002.JPG
    43 КБ · Просмотры: 390
  • 901.JPG
    901.JPG
    119,6 КБ · Просмотры: 418
Похоже отсутствует общий шаг и соответственно возможность авторотации, управление оборотами на разных режимах вгоняет конструкцию в резонансы, шарниров втулки не видно, отсутствие  хвостовой балки и стабилизатора с килем делает полет на скорости неустойчивым. Жалко  летчика...
В общем машинка не серьезная. Типа современного японского GEN H-4.
 
А без общего шага авторотация разве невозможна? 

Авторотация и с шагом - цирковой трюк для везунчиков, а без шага и возможности "подрыва"  - вообще невозможна.

Да и кто этих диверсантов будет учить авторотации и как!?

Вы себе представляете, что дивер прочитав инструкцию например КА-56 перед тренировкой должен самостоятельно (!!!) набрать метров 300, отключить двигатель (убрать газ), перевести угол установки в автожирный (грубо)... Несясь к земле и поддерживая обороты НВ в нужном диапазоне загрузкой(!!!) должен с первого раза (!!!) чётко выбрать момент "подрыва" в метрах 3 - 5 от земли, загрузить винт чётко в нужной точке... Ошибка на тренировке - и в лучшем случае разбитый верт.

А реал будет ещё на меньшей высоте... он даже инструкцию не успеет вспомнить и тем более отработать.

Никто не будет рисковать дорогим диверсантом для подобных тренировок. Выходит надежда только на мотор.

И не будут ставить на этот один мотор успех всей операции, которая обычно долго готовится и учавствуют немалые силы и средства...

Так есть ещё птицы, ЛЭП, одиночные столбы и деревья... Дзынь... и будет зря ждать подлодка.

Моё мнение, что эти замечательные вертолёты остались лишь в прототипах именно по причине неудовлетворительной надёжности для серьёзных задач, где нет права на ошибку.

Отказ мотора - убился, или попался. Без вариантов.

Даже лётчика стоимостью 9 млн. долл. и носителя информации - рисково спасать таким способом - сам надёжней добредёт по тихому...
 
Моё мнение, что эти замечательные вертолёты остались лишь в прототипах именно по причине неудовлетворительной надёжности для серьёзных задач, где нет права на ошибку.

Поддерживаю!!!
 
Уже как-то писал, что вопрос даже о возвращении , не то что о спасении не просматривается.  Японских камикадзе обучали только взлетать, лететь и атаковать. Гарантией выполнения миссии была последняя рюмка саке.
 
Ещё один образец аппарата от американского эдисона который получил два метра площади в музее .

Изобретатель  видать не ознакомился с конструкцией МИ-12 в котором простые советские парни внедрили достаточно ноу-хау и научили аппарат летать .
  Система трансмиссии МИ-12  отличается большой сложностью, с редукторами двигателей и промежуточным редуктором в центроплане и трансмиссионными валами для синхронизации и передачи мощности в случае отказа одного или даже двух двигателей с одной стороны.
  Система управления МИ-12 двухкаскадная с основными и промежуточными гидроусилителями, отличается большой протяженностью и включает автоматические устройства для регулирования нагрузки. Управление типовое для вертолетов поперечной схемы: продольное управление осуществляется одновременным изменением циклического шага обоих винтов и их наклоном, путевое — дифференциальным изменением шага винтов и их наклоном в разные стороны; поперечное — дифференциальным управлением общим шагом винтов. Управление общим шагом несущих винтов синхронизировано с управлением рулями высоты, а отклонение руля направления повышает эффективность путевого управления.
 

Вложения

  • SOLO_TRESK.jpg
    SOLO_TRESK.jpg
    43,5 КБ · Просмотры: 319
  • SOLO_TRESK_1.jpg
    SOLO_TRESK_1.jpg
    57,8 КБ · Просмотры: 330
  • SOLO_TRESK_2.jpg
    SOLO_TRESK_2.jpg
    91 КБ · Просмотры: 342
Вот к такому вертолёту надо стремиться:

[media]https://www.youtube.com/watch?v=Z83t1iejpc8[/media]
 
А без общего шага авторотация разве невозможна? 

Невозможна, т.к. угол атаки лопасти уменьшать надо при отказе двигателя, иначе винт теряет обороты, а аппарат падает. 🙂
Возможность авторотации определяется кривой авторотации для данного профиля лопасти и диапазоном углов установки лопасти . Если угол установки лопасти находится в точке разрыва кривой авторотации, то  ротор попадает в зону где авторотация замедляется до нуля и ротор может перейти в режим обратного вращения.
Не уверен, что конструктор выбрал угол установки лопасти в точке разрыва. Скорее всего угол установки выбран в точке максимальной авторотации, т.е. в точке где обратное качество профиля минимально. Т.о. при отказе мотора аппарат переходит в режим авторотации даже при отсутствии возможности изменения общего шага. Хотя, с трудом представляю себе вертолет без этого устройства. Как он вообще тогда летать-то будет?
 
Вот к такому вертолёту надо стремиться:

Вертолёт весит значительно больше чем пилот . Получается , что большая часть энергии затрачивается на перемещение железа , а не пилота .   Летает аппаратик очень шустро .
 
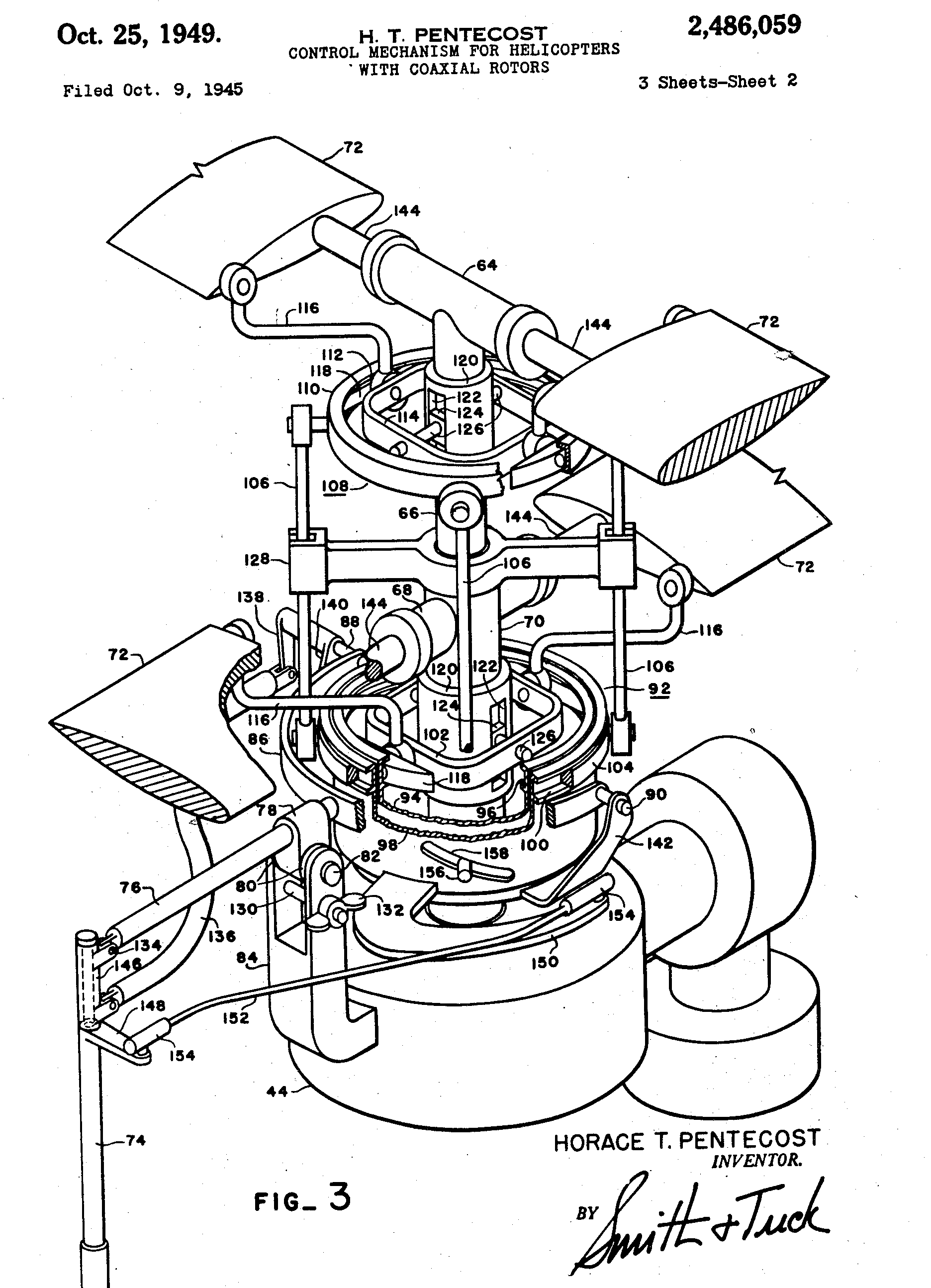
https://www.google.by/search?q=coaxial+rotor+helicopter&biw=1680&bih=916&noj=1&tbm=pts&ei=0nKRVLaMFomGzAPOw4K4Cg&start=30&sa=N

заявлен в 1945 году .

https://www.google.by/patents/US2486059?dq=coaxial+rotor+helicopter&hl=ru&sa=X&ei=s3CRVJ-zD8bcywO944DYCw&ved=0CDcQ6AEwAw

Интересно , по какой причине соосники не производят малые фирмы - неконкурентный ценник на выходе ?
 

Вложения

  • US2486059-0.png
    US2486059-0.png
    41,2 КБ · Просмотры: 456
  • US2486059-1.png
    US2486059-1.png
    77,6 КБ · Просмотры: 446
Назад
Вверх