Бесшатуннные двигатели-3

На Solaris устанавливаются двигатели Kappa 1.4 или Gamma 1.6, в конструкции которых ось цилиндра смещена относительно оси коленвала на 10 мм...
 
У новых Тойот, например G16E-GTS -10 мм. Постарше 8 мм. По старинке - смещением пальца, такого однако не добиться. Технологичность...
 
Сделать можно, но есть ограничения - в короткоходных получаются маленькие шестерни. Я больше про то, что у Баландина для такой компоновки - две зубчатых передачи, а на базе схемы CТL - можно обойтись одной, с эксцентриками по обе стороны от неё.
Посмотреть вложение 587184
Насколько я понимаю, у буржуев эта схема известна как "Вайземан"
Посмотреть вложение 587182
Не получаются. Есть изобретение Льва (это фамилия) где показано, что размер внутренней шестерни может быть больше половины диаметра внешней.
 
Не получаются. Есть изобретение Льва (это фамилия) где показано, что размер внутренней шестерни может быть больше половины диаметра внешней.
Дорогой DVR, а ссылочку можно? Или хотя-бы точное название изобретения? Я например, для себя сам решаю, что полезно, а что ахинея. Кто-то что-то запатентовал, но кто это проверил? Мелькают фамилии, которые ничего не говорят, увы.
 
Дорогой DVR, ссылочку можно? Или хотя-бы точное название изобретения?
У меня полетел диск на компе и все осталось на нем. В ветке БСМ - 2 есть много ссылок на это изобретение. Были и статьи на тему в ИР и тд. Изобретактель Лев, из советской Одессы. Можно набрать в инете думаю выведет.
 
У меня полетел диск на компе и все осталось на нем. В ветке БСМ - 2 есть много ссылок на это изобретение. Были и статьи на тему в ИР и тд. Изобретактель Лев, из советской Одессы. Можно набрать в инете думаю выведет.
вы не про эту ли конструкцию?
1763739133982.png

 
вы не про эту ли конструкцию?
Посмотреть вложение 587435
С этой идеей г-на Иванова - всё плохо, она не работает - если малая шестерня планетарного вала имеет иное чем 1:2 соотношение кол-за зубьев, по неподвижной шестерне на корпасе она не обкатывается.

1763908214286.png


У "Вайземана" (хотя Педивикия говорит, что такая схема была впервые реализована ещё Д.Уаттом на основе работ ат-Туси) с работоспособностью все нормально. Но размер шестеренки маленький.
1763908504990.png

 
У меня полетел диск на компе и все осталось на нем. В ветке БСМ - 2 есть много ссылок на это изобретение. Были и статьи на тему в ИР и тд. Изобретактель Лев, из советской Одессы. Можно набрать в инете думаю выведет.
Патент Льва я всё же нашел. БЕСШАТУННЫЙ МЕХАНИЗМ ДЛЯ ПРЕОБРАЗОВАНИЯ
В его конструкции, насколько я понимаю, поршни не разгружены от боковой силы, т.к. реактивный момент передаётся на корпус через них.
1763910654949.png


Имхо - есть более жизнеспособные механизмы с зубчатой передачей, в которых эта задача решена, например этот.
1763910545676.png

И есть еще несколько похожих патентов, решающих задачу обеспечения синхронизации движения планетарного коленвала с основным (планетарный вращается вдвое быстрее, и в обратную сторону), посредством многоступенчатых зубчатых передач с венцами приемлемых с т.з. прочности размеров.
примеры:
Петент Авиационная корпорация "РУБИН" :
1763911221355.png

УДК 621.431 , О. А. Зайкин ""
1763911315005.png
 
Насколько я понимаю. в двигателе Льва мощность отбирается с внешней стороны солнечной шестерни, то есть это двойная шестерня. Довольно оригинально. Вообще-то нежелание вводить в конструкцию шестерни может быть, диктуется не вполне рациональным мотивом. Эстетическим. Для Ванкеля например, пошли на это. И ничего, никто не умер. И вполне долговечно, как я понял? Другое дело стоимость конечно. Но, я видел высоко-производительный способ изготовления шестерён методом долбления на токарном станке. Так что, не всё однозначно.

Нам, получившим знание из книги Баландина, всё-же уместно называть это механизмом Баландина. Из благодарности. Да, гипоциклоидный, но не Уатта, или Туси, или египетского жреца, впервые обнаружившего свойство гипоциклоиды. К тому же, реальная реализация с массой конструктивных нюансов принадлежит Баландину. Нужно, чтобы имя не забылось. Имя нашего соотечественника. Пусть другие называют как хотят, а мы должны так.

Это выглядит красиво (взято из поста выше). И когда говорите "шестерня маленькая", имея в виду диаметр, это немножко не так. Для силовой характеристики имеет значение ширина зуба и пятна контакта зуба шестерни. То есть, не диаметр, а толщина.

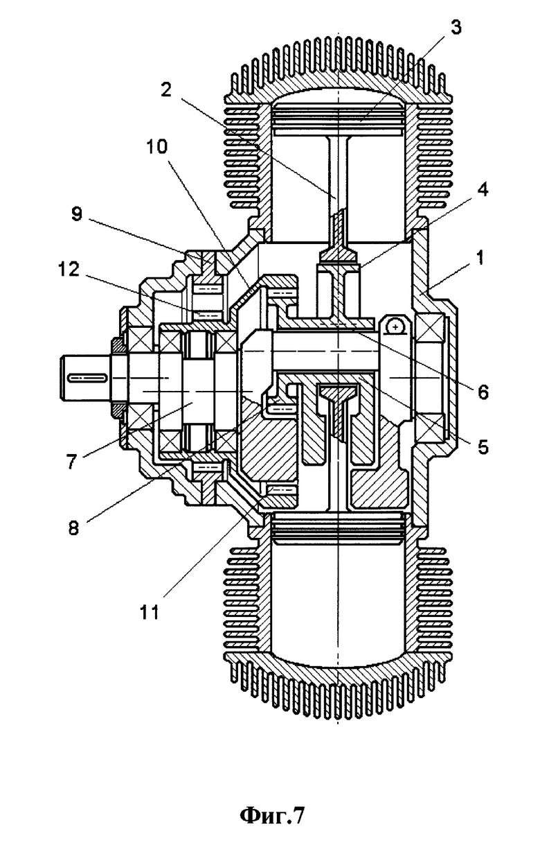
Только я не понял, между обозначениями 12 и 7 эксцентриситет выходного вала зачем? 🙂) Как он вообще вращаться будет? Ах ты! Да там же редуктор! Только вот, смысл какой? Опять же, не думаю, что это вращаться будет. По моему это из той же оперы, боязнь шестерён. Перестраховка, утяжеление, усложнение.
1763910545676-png.587547
 
Последнее редактирование:
Еще в копилку планетарных коленвалов с двойным эксцентриситетом https://patentimages.storage.googleapis.com/0a/2b/c4/6fed8846e2c0cc/RU2825928C1.pdf
Ладно, консольное крепление шатунов опустим. А как деталь 4 проходит в деталь 3? Предположу вставляется с перекосом. Но как она после этого фиксируется в детали 3? Эластомер заливают?
 
Бесшатунный механизм Иж ПС 400 ( 240 X 300 )
Вот, тоже один парень на Рутубе поделился, сейчас уже не найду, сохранил себе. Он собирался делать это сам, в гараже. И какое ваше мнение будет? Довольно просто, не правда ли?
Еще в копилку планетарных коленвалов с двойным эксцентриситетом https://patentimages.storage.googleapis.com/0a/2b/c4/6fed8846e2c0cc/RU2825928C1.pdf
Ладно, консольное крепление шатунов опустим. А как деталь 4 проходит в деталь 3? Предположу вставляется с перекосом. Но как она после этого фиксируется в детали 3? Эластомер заливают?
Разъёмно и на шлицах с двух сторон не прокатит?
 
Так в прототипе этого ИЗ жаловались на подшипник скольжения, а у самих деталь 4 в воздухе висит.
Разъёмно и на шлицах с двух сторон не прокатит?
Вполне, только выступ 14 даже на шлицах, по моему слабоват.
 
Еще в копилку планетарных коленвалов с двойным эксцентриситетом https://patentimages.storage.googleapis.com/0a/2b/c4/6fed8846e2c0cc/RU2825928C1.pdf
Ладно, консольное крепление шатунов опустим. А как деталь 4 проходит в деталь 3? Предположу вставляется с перекосом. Но как она после этого фиксируется в детали 3? Эластомер заливают?
Это доработка двигателя Хасьянова, о нем писалось в статье в ИР Сто сил в авоське
Они просто конструктивно доработали механизм, установив вал на подшипники качения
 
  • Мне нравится!
Reactions: DVR
Насколько я понимаю. в двигателе Льва мощность отбирается с внешней стороны солнечной шестерни, то есть это двойная шестерня. Довольно оригинально. Вообще-то нежелание вводить в конструкцию шестерни может быть, диктуется не вполне рациональным мотивом. Эстетическим. Для Ванкеля например, пошли на это. И ничего, никто не умер. И вполне долговечно, как я понял? Другое дело стоимость конечно. Но, я видел высоко-производительный способ изготовления шестерён методом долбления на токарном станке. Так что, не всё однозначно.

Нам, получившим знание из книги Баландина, всё-же уместно называть это механизмом Баландина. Из благодарности. Да, гипоциклоидный, но не Уатта, или Туси, или египетского жреца, впервые обнаружившего свойство гипоциклоиды. К тому же, реальная реализация с массой конструктивных нюансов принадлежит Баландину. Нужно, чтобы имя не забылось. Имя нашего соотечественника. Пусть другие называют как хотят, а мы должны так.

Это выглядит красиво (взято из поста выше). И когда говорите "шестерня маленькая", имея в виду диаметр, это немножко не так. Для силовой характеристики имеет значение ширина зуба и пятна контакта зуба шестерни. То есть, не диаметр, а толщина.

Только я не понял, между обозначениями 12 и 7 эксцентриситет выходного вала зачем? 🙂) Как он вообще вращаться будет? Ах ты! Да там же редуктор! Только вот, смысл какой? Опять же, не думаю, что это вращаться будет. По моему это из той же оперы, боязнь шестерён. Перестраховка, утяжеление, усложнение.
1763910545676-png.587547
Я все это называю вайземанами, потому что у Вайземана есть демонстрационный образец и результаты опытной проверки. ГЛавный недостаток тут не шестерни, а отсутствие второго ползуна - перпендикуляра. У проработки из книги Баландина такой ползун есть. И то Баландин критикует этот вариант.
 
Нам, получившим знание из книги Баландина, всё-же уместно называть это механизмом Баландина. Из благодарности. Да, гипоциклоидный, но не Уатта, или Туси, или египетского жреца, впервые обнаружившего свойство гипоциклоиды. К тому же, реальная реализация с массой конструктивных нюансов принадлежит Баландину. Нужно, чтобы имя не забылось. Имя нашего соотечественника. Пусть другие называют как хотят, а мы должны так.
Не надо приписывать Баландину чужие заслуги, у него и своих собственных хватает.
И ат-Туси - был персом, если что. Его работы сохранились.
1763972284375.png

Механизм, который ныне (имхо, незаслуженно) обзавают "вайземаном" - впервые описан у Вайта (который Джеймс), и реализация в металле аж в двух вариантах - "вайземан", и тот, что рисует в выкладывает на ютубе Крейг Лайкок - хранится в музее в Корнуэлле.
1763972638501.png


1763972773807.png
1763972725132.png


Это выглядит красиво (взято из поста выше). И когда говорите "шестерня маленькая", имея в виду диаметр, это немножко не так. Для силовой характеристики имеет значение ширина зуба и пятна контакта зуба шестерни. То есть, не диаметр, а толщина.
Возможно. Но именно относительно малый диаметр внутренней шестерни и заявляется как основной недостаток этой схемы.
Только я не понял, между обозначениями 12 и 7 эксцентриситет выходного вала зачем? 🙂) Как он вообще вращаться будет?
схему из патента посмотрите, и описание почитайте - поймёте.
1763973007185.png

Еще в копилку планетарных коленвалов с двойным эксцентриситетом https://patentimages.storage.googleapis.com/0a/2b/c4/6fed8846e2c0cc/RU2825928C1.pdf
та же схема со спаренными эксцентриками, но реализованная по другому. И ползуны у них таки есть, втулки штоков их роль выполняют.
Бесшатунный механизм Иж ПС 400 ( 240 X 300 )
Вот, тоже один парень на Рутубе поделился
Это тот же "вайземан" , только с ползуном (хотя по факту он в вайземане не обязателен), т.к. кинематика задается зубчатой парой)

Я все это называю вайземанами, потому что у Вайземана есть демонстрационный образец и результаты опытной проверки.
См. выше, Вайземан опоздал лет эдак на сто...
И не он один, кстати - Неандер моторс - тоже схему срисовали из хорошо забытого старого)
1763973443402.png

ГЛавный недостаток тут не шестерни, а отсутствие второго ползуна - перпендикуляра.
наличие нагруженных ползунов - требует смазки под давлением. Т.е. реализация двухтактника с маслом в топливе - затруднительно.
 
Не надо приписывать Баландину чужие заслуги, у него и своих собственных хватает.
И ат-Туси - был персом, если что. Его работы сохранились.
Посмотреть вложение 587585
Механизм, который ныне (имхо, незаслуженно) обзавают "вайземаном" - впервые описан у Вайта (который Джеймс), и реализация в металле аж в двух вариантах - "вайземан", и тот, что рисует в выкладывает на ютубе Крейг Лайкок - хранится в музее в Корнуэлле.
Посмотреть вложение 587586

Посмотреть вложение 587588Посмотреть вложение 587587


Возможно. Но именно относительно малый диаметр внутренней шестерни и заявляется как основной недостаток этой схемы.

схему из патента посмотрите, и описание почитайте - поймёте.
Посмотреть вложение 587589

та же схема со спаренными эксцентриками, но реализованная по другому. И ползуны у них таки есть, втулки штоков их роль выполняют.

Это тот же "вайземан" , только с ползуном (хотя по факту он в вайземане не обязателен), т.к. кинематика задается зубчатой парой)


См. выше, Вайземан опоздал лет эдак на сто...
И не он один, кстати - Неандер моторс - тоже схему срисовали из хорошо забытого старого)
Посмотреть вложение 587590

наличие нагруженных ползунов - требует смазки под давлением. Т.е. реализация двухтактника с маслом в топливе - затруднительно.
Современный двухтактник вообще сложная вещь. Если не смотреть на бензопилы и бензокосы.
 
Современный двухтактник вообще сложная вещь. Если не смотреть на бензопилы и бензокосы.
Я к тому, что для бензопилы или, скажем, паралёта - БШМ без ползунов, возможно, был бы интересен, т.к. нет сил инерции второго порядка, т.е. меньше вибронагруженность.
 
Я к тому, что для бензопилы или, скажем, паралёта - БШМ без ползунов, возможно, был бы интересен, т.к. нет сил инерции второго порядка, т.е. меньше вибронагруженность.
Бензопила не знаю, но для БПЛА бесшатунник самое то что нужно. Главное реализация и конструкция. Причем чем легче БПЛА тем нужнее.
 
Бывают варианты без шестерёнок
Gearless Hypocycloid Engine

+ статья по мех потерям гипо*** с шестернями без ползунов
 

Вложения

Последнее редактирование:
Бензопила не знаю, но для БПЛА бесшатунник самое то что нужно. Главное реализация и конструкция. Причем чем легче БПЛА тем нужнее.
На мой взгляд для бпла как раз подходит вариант Хасьянова, для 1,2,4 цилиндрового
Из недостатков консольные штоковые шейки, большой диаметр подшипников (трение повыше будет), и отбор мощности через шестерню
Вроде все некритичные
 
Назад
Вверх