Мечты не одного поэта.

Либо трясетесь Вы, либо генератор весом в капсулу.

Никак не въеду, Анатолий... :-[Я ведь - в капсуле, пристегнутый...
Она отталкивает/притягивает по синусоиде легкую ПНС...

Совсем неподвижный центр масс расположен близко к ЦТ капсулы с пилотом...
Собственная частота человека (на батуте, например) - небольшая, а пилота вместе с капсулой - еще меньше!
Это не будет тряской, имхо, - только редким "волнением" с малой амплитудой смещения ЦТ капсулы с пилотом!
 
Птицы

используют все средства, и очень успешно, но насчёт вихрей нестыковка, крыло работает до 30...40 градусов,  

-человек тоже пробует\крыло КАСПЭРа с генераторами вихря\.

-"предкрылок" поднимается вокруг носика,без щели=поднимает поток и без увеличения угла атаки вызывает образование вихря.

-"закрылки" типа "крокодил" не дают вихрю покинуть верх крыла.

-у ВКВ эту роль выполняет вогнутость в задней части профиля
НАКА 8-Х-12.
 

Вложения

  • PKWing_24_001.jpg
    PKWing_24_001.jpg
    23,5 КБ · Просмотры: 121
крыло КАСПЭРа с генераторами вихря

На верхнем фото не совсем ясно, где, что.
Так генератор вихря это - щиток, около лобика передней кромки?
На верхнем фото - это место без щитка и без обшивки?
 
Никак не въеду, Анатолий... Я ведь - в капсуле, пристегнутый...Она отталкивает/притягивает по синусоиде легкую ПНС...

Назовите, пожалуйста, параметры колебаний ПНС, ориентировочно, конечно.  :🙂
 
Так генератор вихря это - щиток, около лобика передней кромки?
На верхнем фото - это место без щитка и без обшивки?  

-так точно!

-а в центральной части задней кромки три красных элемента=
"крокодиловые элероны" для удержания вихря.

крыло из этих снимков нахдится в США и делакм попытки чтобы
его приобрести\потерялся контакт с владельцем\.

http://www.twitt.org/kasperminutes.htm

http://www.youtube.com/watch?v=VwbtaX8k8CE&feature=channel

-KC-200 /s niego krylo na snimkah./
 
параметры колюбаний ПНС, ориентировочно

Ну, положим, ПНС максимально смещается (синусоидально) на 100мм  0,5 раза в секунду...
Общая площадь несущих поверхностей ПНС, ориентировочно, - 2,5 кв.метра
Масса капсулы с пилотом, для определенности прикидки, - 110кг.
Масса ПНС пусть будет положена около 16 кг.
 
в центральной части задней кромки три красных элемента=
"крокодиловые элероны" для удержания вихря.

хотелось бы представить в чем их особенность:

- почему разделены?
- почему названы "крокодиловыми"?
- работают по-особенному?
 
Ну, положим, ПНС максимально смещается (синусоидально) на 100мм  0,5 раза в секунду...Общая площадь несущих поверхностей ПНС, ориентировочно, - 2,5 кв.метраМасса капсулы с пилотом, для определенности прикидки, - 110кг.Масса ПНС пусть будет положена около 16 кг.

Значит, в полете пилота будет убаюкивать легким галопом синусоида амплитудой 7мм с частотой 0.5Гц.  😀

А будет ли от этого прок? Товарищ Шмидт рекомендует 2.5Гц на каждые 1м/с скорости полета, а тов. Сорокодум предлагает заменить синусоиду несимметричными импульсами с приличной скважностью, валичину которой он прячет за семью замками.

В первом случае получаем синусоидальный зуд частотой 280Гц при амплитуде 7мм, во втором - поток ударов с частотой, наверное, десяток-другой Гц. Эффект скорее всего будет, но его цена... :'(

Пожалуй, я сгустил краски, но порядок величин мне видится таким.
 
Эффект скорее всего будет, но его цена..

Спасибо, Ананатолий!
ДАли "пиццу для размышлений" 😉

Похоже, что с такой небольшой площадью крыльев... убаюкивание пилота будет главным эффектом!  😀 ;D

А делать из ПНС целиковую СУ по типу волнового пропеллера мне даже в голову не приходит... (250 герц).  Для этого лучше отдельные волнообразователь и спрямитель... как у Шмидта.
Думается, что и у волнообразователя Шмидта, с точки зрения неподвижного наблюдателя, - не синусоидальная траектория, а ... эпициклоидная. То бишь, тоже несимметричная при наличии поступательной составляющей.

А вот для больших площадей крыльев - частота [скважность?] несимметричных колюбаний крыльев целиком должна быть, я почти уверен, как раз завязана на собственную частоту кабины с экипажем. 😎

Кстати, о несимметричных колябаниях:  
Вы не углублялись в давнишнюю ссылку на (вибролет) Лозовского?
 
А вот вам моя идейка 😀: конструкция от дельтаплана, размеры учебного планера, профиль птичий, кабина лежачая, закрылки и элероны совмещены.
Вот только незнаю где взять инфу по трубам :-/, особенно по тонким для нервюр, и толстым на лонжерон крыла. Если чем можете, помогите пожалуйста. В окончательном варианте дизайна, очень симпатичный аппарат, кабина почти открытая, обзор приемлемый.
Предполагаемая нагрузка на крыло 15-20 кг/м[sup]2[/sup], лонжерон на изгиб 450-600кгм.
 

Вложения

  • planerok_.jpg
    planerok_.jpg
    130,1 КБ · Просмотры: 116
http://www.freepatentsonline.com/3831885.html

Спасибо!!
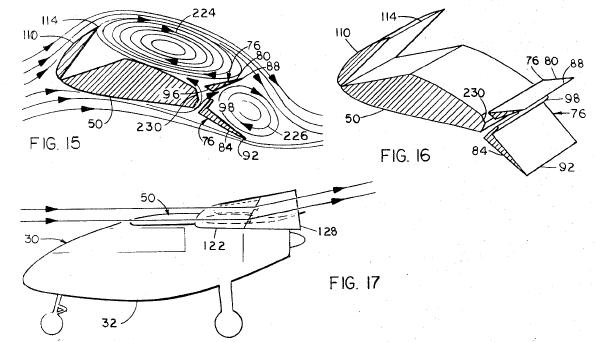
Мне удалось зарегистрироваться на сайте по поиску патентов в Америке. Активизировался и сразу же смог увидеть файл к патенту Каспэра,  к которому ведет крайняя ссылка.

Вот фото из описания патента. Иллюстрации исключительно четкие!! Замысел хорошо раскрыт в последовательности фигур.
Попутно стало ясно, почему "крокодиловыми щитками" названа механизация средней части крыла  🙂
 

Вложения

  • vortex_0.jpg
    vortex_0.jpg
    33,1 КБ · Просмотры: 131
vi64 сказал(а):
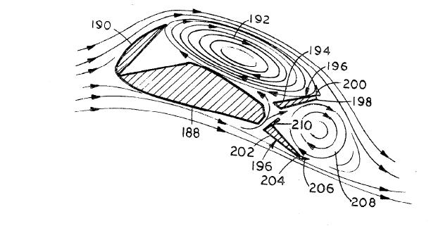
по концам крыльев

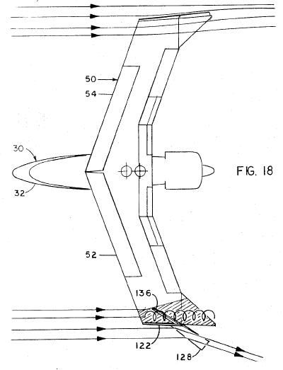
а во "взъерошенном" лобике профиля крыла - происходит генерация вихря...
 

Вложения

  • vortex_3.jpg
    vortex_3.jpg
    59,5 КБ · Просмотры: 120
генерация вихря...

ведущая к увеличению как эффективной толщины профиля, так и эффективной ширины крыла...
А стабилизация вихря, видимо, обязана "крокодилам"- щиткам на задней кромке!
 

Вложения

  • vortex_4.jpg
    vortex_4.jpg
    56,3 КБ · Просмотры: 118
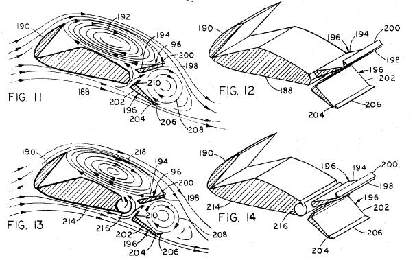
а вертикальными щитками обеспечивается "загибание" струй, и их турбулизация?
 

Вложения

  • vortex_6.jpg
    vortex_6.jpg
    24,7 КБ · Просмотры: 120

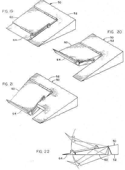
Управление ими производится весьма специфической механизацией!

При любом отклонении щитка, стабилизирующие элементы отклоняются только вверх!? 🙂 😀
 

Вложения

  • vortex_7.jpg
    vortex_7.jpg
    27,8 КБ · Просмотры: 121
Назад
Вверх