Подбор двигателя для одноместного вертика

...никто не мешет навесить на атмосферник "родные" интеркулер и турбинку 
Навесить-то можно, но не забывайте, что у турбованного степень сжатия меньше, стало быть там либо голова другая, либо поршня ниже. Другими словами это несколько иной мотор.
 
не забывайте, что у турбованного степень сжатия меньше, стало быть там либо голова другая, либо поршня ниже.

Посмотрел по каталогу - поршни и колено вроде одинаковые, значит действительно голова другая. Кстати, башку к нему найти тоже не проблема, если встанет необходимость, их есть в продаже.
 
Но думается мне, что без катализатора и с японским (читать не колхозным) прямотоком, 
Александр,на фотках видно,что от катализатора идут проводки,и снятие его не приведет ли к следующему гемору при запуске и настройке двигателя?Чисто дилетантские рассуждения.
 
Кроме того, турбовые моторы кроме меньшей степени сжатия имеют еще другую программу в мозге. А еще встречаются такие невидимые глазу примочки, как форсунки, охлаждающие маслом днища поршней, или увеличенные каналы охлаждения в голове.

Так что апгрейд атмосферника в турбоверсию не тривиальная задача.
 
на фотках видно,что от катализатора идут проводки,и снятие его не приведет ли к следующему гемору при запуске

Эти проводки идут от лямбда-зондов (кислородных датчиков). Один из них стоит перед, другой за катализатором. Нам потребуется обманывать один из датчиков - который за катализатором, естественно это геморой по настройке. Но лютые тюнеры думаю легко обойдут эту проблему. В данный момент ведутся переговоры по настройке движка с одним из тюнеров 🙂

Так что апгрейд атмосферника в турбоверсию не тривиальная задача.

Безусловно, поэтому и говорю - в крайнем случае можно. Вообще, по опыту крэйзи тюнеров, даже овощной ниссан санни можно турбовать... 🙂 А вообще, для одноместного вертика 50+ коней, это вполне достаточная мощность, и извращения по поводу турбирования это и лишний вес в дополнение к гемору..


UPD:

syryl сказал(а):
В данный момент ведутся переговоры по настройке движка с одним из тюнеров

Тюнер заинтересовался участием в проекте и с радостью окажет помощь в настройке и подключению шнурков к мозгам.
Прорвёмся 🙂
 
Вот и YAMAHA, если не ошибаюсь, Genesis 120 снегоходный в продаже засветился:
http://www.reaa.ru/cgi-bin/yabbA/YaBB.pl?num=1334336422/12#12

yamaha_-_1.jpg


Можно попробовать получить информацию из первых рук от автора ветки.
 
Есть еще один небольшой 3-х цилиндровый, ~700 кубиков. Существуют две версии - с тремя и четырмя клапанами на цилиндр. Ременной, одновальный. НО! Если я не ошибаюсь - у него чугунный блок. Единственный, наверное, мотор, у которого ход поршня больше диаметра. Диаметр = 65 мм, ход = 66 мм. Максимум момента достигается на 4000 оборотов. 50 сил. Есть также дизельная версия этого мотора.
Это Mitsubishi 3G83
 
Ценник на него попробую выяснить.

Ответ пришел по движку Rotax 4-TEC ACE 600, типа сами мы не местные, спросите у других  😉

Dear Sir,
thanks for your inquiry!

Our snowmobile engines are delivered exclusively to BRP.

Please get in contact with a BRP Ski-Doo/Lynx dealer from following websites for further details regarding our snowmobile products.

www.ski-doo.com
www.brplynx.com

Best regards, Diana Windischbauer
Assistant Logistics and Services

После этого позвонил российским оффициалам:

Двигатель продаётся без вопросов. В полном обвесе ценник от 318 килорублей😱 Вот так...
 
Здравствуйте! Вот есче один двигатель с очень хорошем соотношением мощность/вес  2:1 http://www.woelfle-engineering.com/Produkte/produkte_XR50rotaryengine_en.html.
Движок http://flying-forum.com/gallery/image.php?album_id=41&image_id=779 с трех лопастнь!м пропелром 3900 евро!
 
Вот есче один двигатель с очень хорошем соотношением мощность/вес

Ух ты, и правда интересный тырчик. При чем роторный и со встроенной центробежкой. 🙂

По удельной мощности ему конкурентов ваще нет, похоже...

type - 4-stroke single rotor rotary engine
power -  33 kW at 8750 rpm
weight - ca. 17 kg
torque - 39 Nm at 7500 rpm
chamber volume - 294 ccm
max. rpm -  11000 rpm
ignition -  PVL Fire 650
clutch - 2-disc dry centrifugal clutch

saetta2501.jpg
wankel-kart-engine-1.jpg




Правда несколько слабоват для многих применений, но наверное будет самое оно для дельталетов и пр...

п.с. Во блин, яндекс выдал ссылку на этот форум, тут было обсуждение автожира Барсик с этим движком...
 
Мъ! сейчас летаем на таком. Очень хорошо себя ведется! Вот видео http://www.youtube.com/watch?v=Q7j10l_r39Q у етого часов 150 бе проблемов 😉
 

Молодцы!

Чето я даже призадумался насчет моторчика... Попробую просчитать возможность установки этой движки на ультралайт вертик... Гыы, с ним можно двухмоторный ультралайт забубенить  😀 17+17=34 кг ДВА движка по 44 лошади... ржака 🙂

upd.

Пришло уведомление, что склад в Японии привезли двиг Р07. Вес в упаковке пока пугающий - 77,9 кг. Впереди еще долгая дорога домой, а нетерпение уже нарастает...
 
с ним можно двухмоторный ультралайт забубенить

Смех смехом, но мысля вполне себе интересная. Если эта идея имеет место для существования, то почему бы не подумать над её реализацией - этом случае безопасность полета на ультралайте была бы резко повышена...

Может кто-нибудь мне откроет тайну принципа синхронизации двигателей на двухмоторных вертушках?
Попробовал посмотреть по учебникам - не нашел инфы про это. Может не там искал?
 
Александр, а какие проблемы Вы видете в синхронизации двух двигателей?
Я думаю, что страшного ни чего не произойдёт если одни двигатель будет давать мощности процентов на 5 больше, чем другой.
 
Ну я вижу тут вот чего - один двиг всегда будет чуть запаздывать, Вы правы... Как этот момент решен на взрослых вертушках мне совершенно не ясно.

Или как раз это незначительный процент рассинхронизации просто не берётся в расчёт? Если так - то да, проблем действительно нет, и можно заморочиться...

п.с. Двигатель Р07 еще не выехал, зато вся навеснушка на него уже стартанула. Отсчёт пошел, руки чешутся сильнее... 🙂
 
Может кто-нибудь мне откроет тайну принципа синхронизации двигателей на двухмоторных вертушках?
Может здесь, что полезного извлечете.

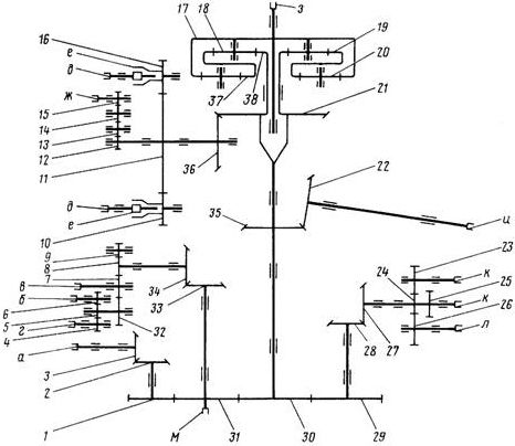
Рис. 6.2. Кинематическая схема редуктора:
а - привод генератора СГО-ЗОУ-4; б, г - приводы датчиков счетчиков оборотов; в, л - приводы гидронасосов НШ-39М; д - приводы от двигателей; е - муфты свободного хода; ж - привод вентилятора; ;з - привод несущего винта; и - привод рулевого винта; к - привод компрессора АК-50ТЗ; м -привод масляного агрегата; с-запасной привод; 1-3 - зубчатые колеса привода генератора; 4-9, 31-34 - зубчатые колеса приводов агрегатов, установленных на левой стороне редуктора; 10, 11, 16-зубчатые колеса первой ступени редукции; 12-15 - зубчатые колеса привода вентилятора; 17 - ведомое зубчатое колесо дифференциала; 18 - сателлит; 19 - двойное зубчатое колесо; 20 - промежуточное зубчатое колесо замыкающей цепи дифференциала; 21, 36 - зубчатые колеса II ступени редукции; 22, 35 - зубчатые колеса привода рулевого винта; 23-29 - зубчатые колеса привода агрегатов, установленных на правой стороне редуктора; 30-ведущее зубчатое колесо привода агрегатов; 37 - нижний ненец двойного зубчатого колеса; 38- ведущее зубчатое колесо дифференциала
 

Вложения

  • 6_2_1.jpg
    6_2_1.jpg
    31,5 КБ · Просмотры: 230
Не стоит париться по поводу синхронизации двигателей. Если бы это были синхронные электрические машины, вращающиеся строго со скоростью магнитного поля, то да, были бы проблемы срыва синхронизации. А любой ДВС имеет плавную характеристику, и оба двигателя будут суммарно выдавать момент, равный общей нагрузке. И, как правильно сказано, ничего нет страшного, если при этом моменты моторов будут отличаться на какие-то проценты.

В качестве примера - без всяких проблем ездят себе двухдвигательные машины, например БТР-80. Вся синхронизация в которых заключается в параллельном приводе карбюраторов и синхронном переключении передач двух КПП.

А в судостроении вообще бывало до четырех дизелей, работающих на один гребной вал.
 
Извиняюсь, попутал... Двухдвигательный - это БТР-60.

Впрочем, двухдвигательных машин немало было в истории.
 
Назад
Вверх