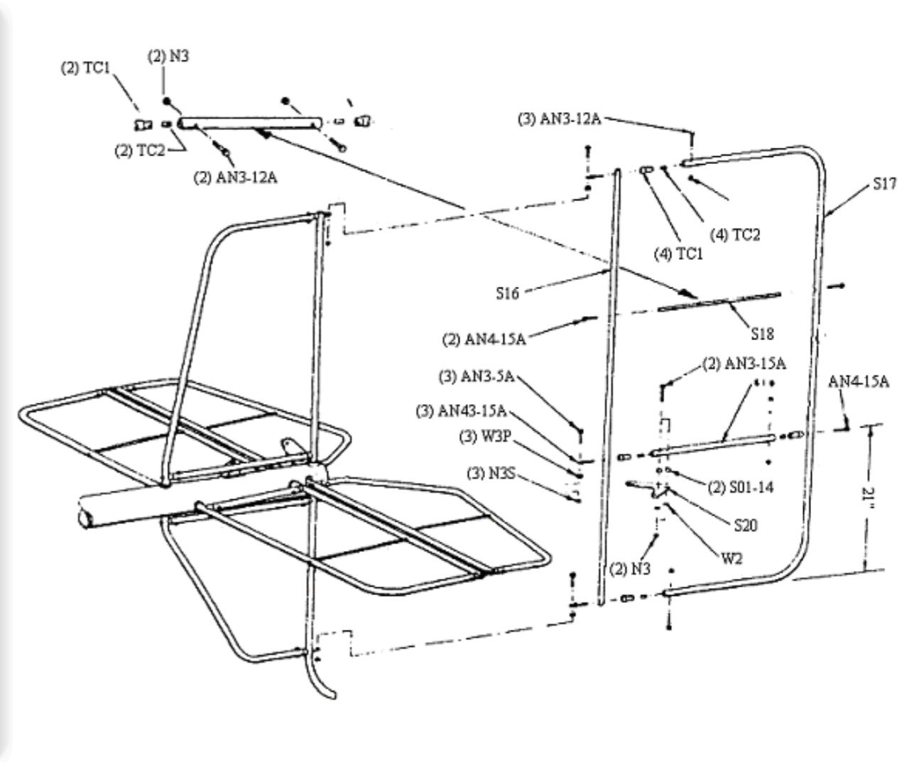
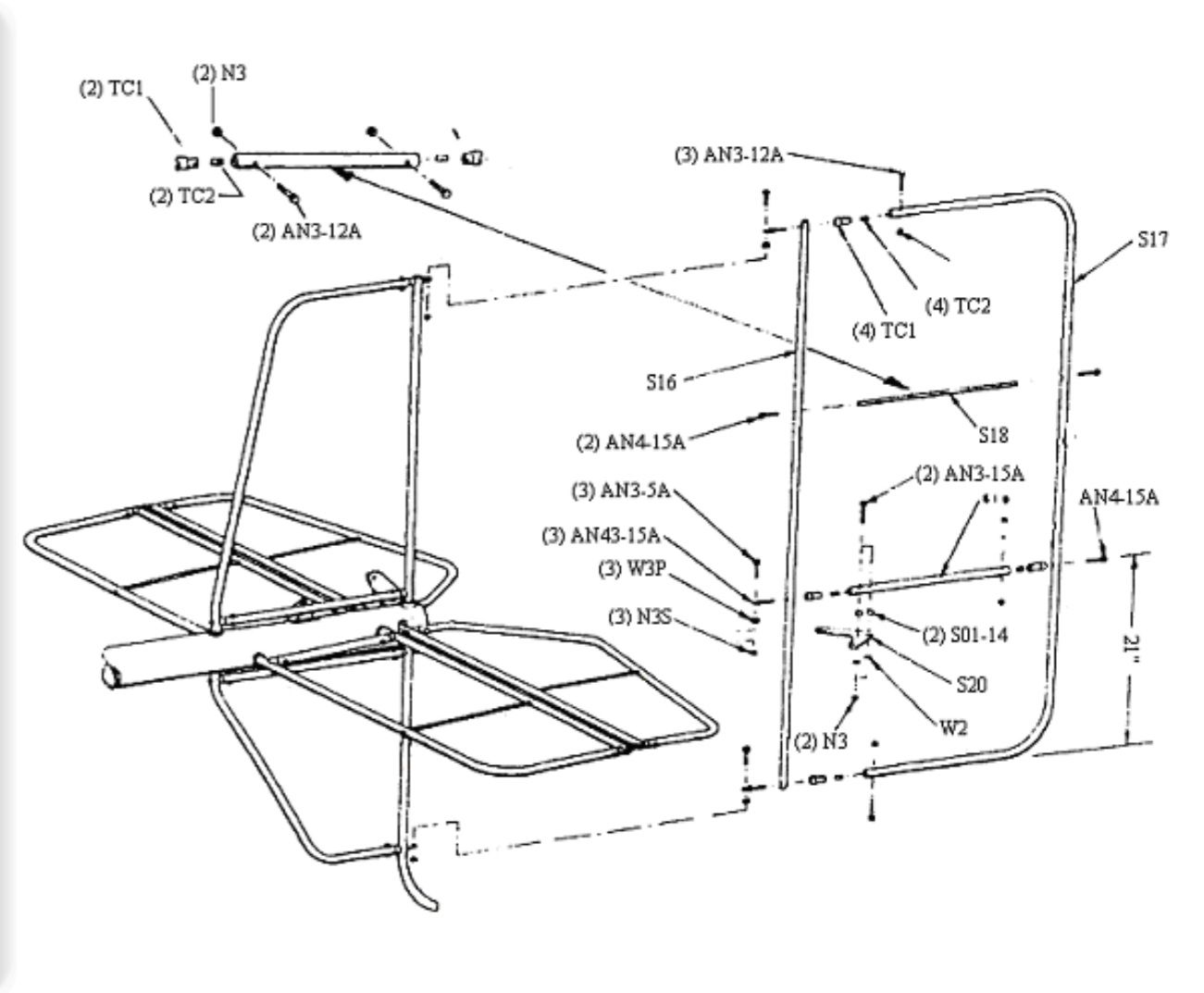
Помогите с чертежами flightstar ii

Отличный, беспройгрышный вариант. Полетит сто процентов. Можно еще заложить опуск киля с колесиком, чтобы складывать крылья вдоль балки и спокойно перемещать по надобности
Если есть чертежи данного узла буду признателен!!!
 
Нет, конечно, на флайстаре киль стоит над балкой, а можно сделать как на phantom ultralight там киль смещен вниз, это лучше, с точки зрения кручения на балке, на пилигримме также. А если сделатт опуск вниз с учетом складывания крыльев, то сложил, закатил к стеночке и мешаттся не будет, и не надо подставок всяких
 
Нет, конечно, на флайстаре киль стоит над балкой, а можно сделать как на phantom ultralight там киль смещен вниз, это лучше, с точки зрения кручения на балке, на пилигримме также. А если сделатт опуск вниз с учетом складывания крыльев, то сложил, закатил к стеночке и мешаттся не будет, и не надо подставок всяких
Спасибо за рекомендации,как дойду до оперения и крыла, займусь этим вопросом!!!
 
Спасибо за рекомендации,как дойду до оперения и крыла, займусь этим вопросом!!!
Накидаю картинок, может поможет визуально ... это Фантом

Screenshot_20240330-001420_OneDrive.jpg


Screenshot_20240330-001412_OneDrive.jpg


Screenshot_20240330-001331_OneDrive.jpg


Screenshot_20240330-001319_OneDrive.jpg


Screenshot_20240330-001256_OneDrive.jpg
 
Жесть просто, какие заморочки с сочленением. Казалось бы, простая конструкция, а такой ужас. Только радиусные втулки заманаешься точить, не говоря обо всём остальном. МЛМ.
Никого не хотел обидеть, сори за оффтоп. Просто глядя на всё это, аж вздрогнул....
 
И кстати основную раму где сидят пилоты на последних флайтстарах делали сварную их хромансилевых труб, размеры оч похожие на 45 трубу а вот стенку я предполагаю 1.5 с усилением в нужных местах .речь про эту раму:

IMG_20240329_094128_(1080_x_1080_пиксель).jpg
 
Жесть просто, какие заморочки с сочленением. Казалось бы, простая конструкция, а такой ужас. Только радиусные втулки заманаешься точить, не говоря обо всём остальном. МЛМ.
Никого не хотел обидеть, сори за оффтоп. Просто глядя на всё это, аж вздрогнул....




Там скорее 3D принтер. Принесли мне тут образец детали, напечатанный на принтере. Пласмас довольно прочный. Скорее всего, новые технологии рулят.
 
Фишка фантома, он крутит всю акробатику. Поэтому и хвост опущен , и тросовая схема крепче по распределению нагрузок. Еще там фишка с натяжением тросов, что крыла, что стабилизатора. На верхних паре тросов стоит скользячая втулка, ее подтягиваем и троса натягиваются. Решение примитивное и очень надежное

 
Нужно сторонними программами уменьшать размер и потом уменьшенный добавлять. Я использую на Андроид программу, которая так и называется 'Размер Фото'.

Что за чертежи вы нашли? Можете поделиться?
[/ЦИТИРОВАТЬ]
Жесть просто, какие заморочки с сочленением. Казалось бы, простая конструкция, а такой ужас. Только радиусные втулки заманаешься точить, не говоря обо всём остальном. МЛМ.
Никого не хотел обидеть, сори за оффтоп. Просто глядя на всё это, аж вздрогнул....
Ну я купил вал палевый по внутреннему диаметру трубы и осталось только навредить просверлить и нарезать резьбу,не так и сложно как кажется,недельку по вечерам позанимался.Но это всё буду переделывать,так как самолёт другой и оперение другое
 
И кстати основную раму где сидят пилоты на последних флайтстарах делали сварную их хромансилевых труб, размеры оч похожие на 45 трубу а вот стенку я предполагаю 1.5 с усилением в нужных местах .речь про эту раму:

Посмотреть вложение 550767
Это неудавшийся проект на фото,это всё буду переделывать,строго по чертежам.Как будет готова рама скину,материал жалко,трубы и сталь испорчены,нужно заново закупать
 
Благодар
Благодарю за помошь,приятно находиться в среде таких отзывчивых людей!Коллеги по работе только пальцем у виска крутят,хотя сами лётчики🤣🤣🤣🤣Им надёжные большие самолёты подавай)))
 
Там скорее 3D принтер. Принесли мне тут образец детали, напечатанный на принтере. Пласмас довольно прочный. Скорее всего, новые технологии рулят.
Ну дюраль ещё прочнее,не буду отступать от расчетных материалов,телефон слетел с фото на которых я всё делал(((
 
Приятно когда из мелочей что то вырисовываеться
 

Вложения

  • 1760385090681.jpg
    1760385090681.jpg
    139,8 КБ · Просмотры: 58
  • 1760456751270.jpg
    1760456751270.jpg
    94,5 КБ · Просмотры: 71
А труба 127×2 имеется? Основная проблема это найти такую трубу, или хотя бы похожую..
В поиске,буду искать приближенную 130 или 120 что будет у поставщика,нашел контору в Питере которая продаёт поштучно.110 стоит плюс минус 22 тысячи
 
Сделал переднюю вышку как на чертежах,вопрос по перьям ,кажется очень хрупкие,если есть советы или рабочие чертежи переднего щасчи на данный тип ЛА
 
Назад
Вверх