• Вышел новый выпуск программы ФлайтТВ, посвященный современным российским ЮПШ (юношеским планерным школам).
    Видео на Youtube. Ссылки на другие платформы и обсуждение в теме на форуме.
Имея маленький объем жидкости в малом круге - вы ничего не измените в охлаждении мотора.Нужно, чтобы воды там было много.Весь смысл в этом.Вода малого круга нагревается и когда открывается термостат(а открывается он медленно), к горячей воде подмешивается холодная и температура плавно начинает падать.Если воды в малом круге будет мало, то холодная вода из радиатора (объем которой большой) не подмешается к ней, а просто вытеснит ее и охлаждение произойдет резко.Результат - холодный задир.
 
Извиняюсь-про шатуны-посмотрел ешще раз-информация от Льва Киносяна-правда он пишет про ремкомплекты для ремонта  ротаксов водномоторников-но подходят к авиадвигателям один в один!Статья "Почему ломается Ротакс"
 
@ sid

я подожду фото.
Просто неисправность устранилась непредусмотренной доработкой, т.е. она не устранена.
Фото прошу, чтобы посмотреть - есть ли влияние наддува, разряжения или еще чего на расположение фильтра.
"Чудес не бывает" (С)
Не знаю как получится, первый раз пытаюсь фотки вложить.
 

Вложения

  • IMG_20130707_173133.jpg
    IMG_20130707_173133.jpg
    45,8 КБ · Просмотры: 169
  • IMG_20130707_203603.jpg
    IMG_20130707_203603.jpg
    34,1 КБ · Просмотры: 181
  • IMG_20130707_203656.jpg
    IMG_20130707_203656.jpg
    45,9 КБ · Просмотры: 162
Получилось. Еще фото, то что я вырезал.
 

Вложения

  • IMG_20130707_173651.jpg
    IMG_20130707_173651.jpg
    15,3 КБ · Просмотры: 184
Pab59, а можете сфотографировать, как у вас глушитель закреплен так ? что там за подставка сделана?
 
Нет никакой подставы, просто крепится к карбюраторам на патрубках хомутами, а справа сверху контровочной проволокой через ушко к кронштейну двигателя. Слева внизу тоже через ушко контролвочной проволокой к отверстию в карбюраторе.
 
Не знаю как получится, первый раз пытаюсь фотки вложить.
Компоновка не новая.
На фильтр винт не влияет. Есть сомнение на счет затенения самого фильтра капотом, но наверняка, Вы делали гонку и без капота.
Ваша доработка привела к обеднению смеси и нормальной работе двигателя. Поэтому есть смысл проверить главные жиклеры.
Установка входного глушителя требует калибровки карбюраторов (замена игл, жиклеров игл и главных жиклеров).
Делалось это или нет?
Ну и уровень топлива можно проверить, хотя, на максимальном режиме уровень топлива не оказывает такого сильного влияния.
 
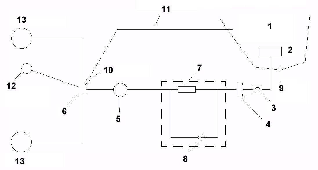
Sid, подскажите правильную схему установки доп.насоса электрического для 582-го с карбюраторами BING 54 пожалуйста."Обратка" у карбюраторов не предусмотренна и получается, что насос будет давить постоянно, плюс еще мех. насос.Или эл.насос использовать только при запуске?Поясните, если не трудно.
 
Будет время сниму карбюраторы, посмотрю какие стоят жиклеры,пока на двигатель нареканий нет.  odissei если Вы имели в виду выхлопной глушитель то он крепится на Г- образном кронштейне, который прекручен к головке блока двигателя. Если интересно посмотреть, могу сфотографировать. Я Вам отписался про входной глушитель.
 
Sid, подскажите правильную схему установки доп.насоса электрического для 582-го с карбюраторами BING 54 пожалуйста."Обратка" у карбюраторов не предусмотренна и получается, что насос будет давить постоянно, плюс еще мех. насос.Или эл.насос использовать только при запуске?Поясните, если не трудно.
Схема по сути аналогична 912 двигателю.
Обратка предназначена для борьбы с паровыми пробками, а не разгрузкой карбюратора от давления. Электрический насос, рекомендованный Ротаксом дает давление 0,1 бар. Пневматический дает давление от 0,25 до 0,3 бар. В сумме получается нормальная величина.
На открытой компоновке (без капота)обратка особо не нужна, более того, вся топливная система расположена, как правило, сбоку двигателя, а не над двигателем, как у 912.
Электрический насос может быть включен постоянно, а может быть включен при взлете и посадке или при необходимости. Для понимания необходимости поможет указатель давления топлива. Считаю, что данный параметр давно пора ввести в обязательные. Какая бы логика включения электронасоса не использовалась, у насоса должна быть обводная магистраль с обратным клапаном. С входного штуцера насоса обязательно удалить сетчатый фильтр (в виде вставки в штуцер). Ротор электронасоса может остановиться в положении, когда создает очень высокое сопротивление для штатного насоса.
 

Вложения

  • ris7-2.jpg
    ris7-2.jpg
    30,1 КБ · Просмотры: 224
На дельталете, под двигателем, возможно под небольшим углом к потоку, трубки вертикально, вход/выход сверху... Что думаете?
До недавнего времени был такой вариант - грелся. Телега МД-50. То-ли в тени он получился, то ли фиг его знает. Сейчас поставил штатные двухсекционные высокие, но пока не облетал. Все таки лучшее место для радиатора - внизу, параллельно земле. 
Температура со штатными радиаторами только увеличилась. Проблема оказалась в месте датчик-индикатор. Монитор двигателя E-1, подключенный к "родному" датчику завышал показания на 10-12 градусов при любых настройках. Не могу сказать, частный ли этот случай или общий. Пршлось выбрать "пользовательский" тип датчика и откалибровать показания прибора с помощью лабораторного термометра.
 
Доброго всем здоровья ! Подскажите пожалуйста цену на сегодняшний день ,на 582 со всеми необходимыми датчиками контроля дв., с редуктором 2,62,електростартером,входным глушителем,системой выхлопа ,как на фото выше. Хотя бы приблизительно.С уважением , Евгений.
 
Добрый день уважаемые!  А не подскажет ли кто по настройке переставного винта на 582. какие обороты можно считать оптимальными-6000 или 6100 или 6300 при работе на месте?     И второй вопрос. какие обороты можно считать крейсерскими? от 4000 до 6000 или 6000 уже много?  Кто много налетал на 582 подскажите- сделайте доброе дело. спасибо.
 
Есть опыт на авиатике. На земле максимал - 5700-5800, в воздухе на взлете раскручивается до 6100.
Крейсер - 5000, 80 км/ч. Набор высоты 2м/с - 5700.
Какие крейсерские, зависит от аппарата. 6000 для крейсера - многовато.
А еще лучше проконсультироваться в Авиагамме, достать инструкцию почитать, если у вас нету.
 
Настройка винта должна быть такой, что бы при максимальной скорости и максимальном положении РУД обороты двигателя не превышали 6800. Но могут быть и более тяжелые или легкие настройки. Все зависит от того, что Вам надо. Можно настроить винт на земле на 6400-6500, получим взлет, но как летать. Можно настроить на земле на 5000. Получим хорошую динамику, но как взлетать? Поэтому всегда приходится выбирать золотую середину.
Крейсерский режим определяется не только двигателем. Идеальный режим для двигателя 4600-5000 об/мин.
Идеален с точки зрения расхода топлива.
 
Согласен, если нет длинной хорошей ВПП и не планируется исключительно по маршрутам летать, а больше из соображений безопасности - винт нужно настраивать на максимальную скороподъемность, больше шансов при отказе на взлете на благополучный исход.
Про идеальный режим - тоже согласен, но допустим Авиатика на таких оборотах горизонтально уже не летит)
 
Назад
Вверх