Самолёты-тандемы.

Там  где  мудак  , там всегда  несчастье...............
 
  По сути нормальный самолет , но шасси разнесённое  по концам крыльев создает конкретный разворачивающий момент при касании одним колесом . Очень хорошо видно .  Ещё руль высоты на переднем крыле ооочень смущает.
 
Да, такое шасси сыграло такую злую шутку. Он ведь приземлялся уже. Может быть колесо заклинило, может тормознул случайно, но его развернуло и он взмыл и естественно потерял скорость. А поскольку у такого маленького реактивного движка, тяга видимо не ах, то динамика разгона плохая. Пилот боролся со сваливанием, а тут ещё и стоянка, с такими лопухами килей и возможно ветер, турбулентности.
Чудо, что жив остался! Надо отдать должное прочности капсулы, которая спасла пилота!
 
Пилот обьективно плохой.  Полоса километра 3 длиной. Можно мазать и недомазывать хоть километр,  ан нет,  не умостился

Зы.  Про автопром  из говна и палок будем? . Недавно американка с 5 этажа автопарковки свалилась на машине(колом вниз) .  Видео есть на ютуб.  И ничего живая. Чтобы осталось бы от тазика? 
 
Да, такое шасси сыграло такую злую шутку. Он ведь приземлялся уже. Может быть колесо заклинило, может тормознул случайно, но его развернуло и он взмыл и естественно потерял скорость. А поскольку у такого маленького реактивного движка, тяга видимо не ах, то динамика разгона плохая. Пилот боролся со сваливанием, а тут ещё и стоянка, с такими лопухами килей и возможно ветер, турбулентности.
Чудо, что жив остался! Надо отдать должное прочности капсулы, которая спасла пилота! 
       Судя по колдуну ветер боковой и не слабый . И термичка гуляет наверняка. -  Не сладкие условия.   Элеронов не хватило чтобы компенсировать потерю двигателя , видно как вывернул их до упора вправо.   Для одномоторного аппарата элероны в корневой  части крыла ещё  куда ни шло , и то не есть хорошо .
Жаль не видно руля направления , но судя по правой ноге  ноге -  тоже до упора вдавил.    Ему просто не хватило рулей .
 
Да  тут не  самолет  виноват , а  пилот  однозначно, наверняка  самолет  был  с  неисправностью, так  сделайте  несколько  подлетов  над  полосой, но  нет  .......скорее  всего  был отказ  одного  из  двигателей  и  уже  справиться с  самолетом  можно  было  только  прибрав  мощность другого  и  выбрать  место  уж  ни как над  стоянкой  авиатехники.  Конечно  в  таких  делах  решают  секунды, но  на  то  он  и  пилот  елки ,палки...........
 
Схема как раз показала хорошую летучесть и несваливаемость .  Двигатель отказал , это даже слышно на видео .  Видимо они не проводили тест на отказ одного двигателя , и пилот не ожидал такого поворота событий , наверно растерялся и не успел сообразить , что надо выключать второй и садится . Хотя видно что и на одном двигателе он бы мог лететь  , если бы не маленький руль направления и  не поджатые к фюзеляжу элероны.  Лучше бы в носу двигатели поставили.
 
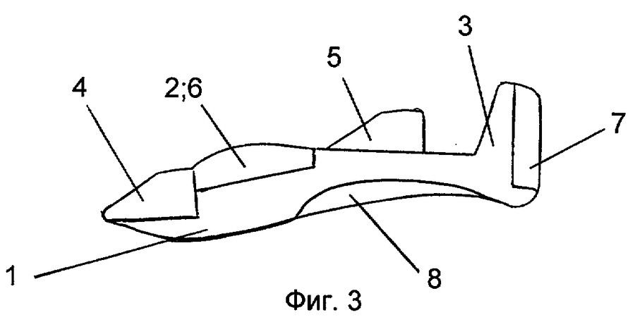
Самолет   А-8  /  аналога  этого  самолета /  по  словам летчика  облетывающего  этот  самолет  на  слете    был  вполне  устойчив, а диапазон  центровок  у  тандема  всегда  больше  чем  у обычного  самолета.  Слышал  это  лично.На  мой  взгляд  самолет  типа  Квики  хороший  вариант  для  повторения, но есть  очень  неприятная  особенность это  большая  взлетная  скорость  не  менее 90-100  км/час.  Что  касается  шасси, то  это  совсем  неплохо, просто  к  этой  особенности  стоит  привыкнуть  и  всё.
 
Я вас умоляю,  ну какая там ассиметрия тяги по величине .  Модельный движок TJ40 jet,  тягой в 40кг.  Пилот растерялся.  А самолет его спас.  Я не знаю какая приемистость у этих двигателей,  вполне может быть очень плохая,  значит и процедура посадки должна быть соответствующая.  Отказ 2 го это уже недостаток тяговоруженности,  плюс  плохая приемистость-думать надо.  Вернее продумать заранен на земле и действовать. Думать уже некогда .  Сейчас не знаю,  но раньше в реактивной палубной авиации,  на посадку шли на максимальный оборотах из за дефицита времени и того что двигатели долго думали и уход на второй круг или не зацеп заканчивался точно так же как в этом видео. Но у этого человека,  хоть он и промазал километр полосы,  впереди был не обрез палубы через 200 метров океан,  а еще пару километров полосы.  Шел бы по прямой дальше
 

Вложения

  • Mojave2016-1-550x367.jpg
    Mojave2016-1-550x367.jpg
    35,2 КБ · Просмотры: 262
О как.....

http://www.freepatent.ru/patents/2288141

Интересно, будет работать?
 

Вложения

  • 2288141.jpg
    2288141.jpg
    14,3 КБ · Просмотры: 236
  • 2288141-2.jpg
    2288141-2.jpg
    22,5 КБ · Просмотры: 235
  • 2288141-3.jpg
    2288141-3.jpg
    28 КБ · Просмотры: 235
Судя по описанию патента, в натуре будет прямо противоположны результат.
 
Один из проектов  времен перестройки.  Конструктор Жигалов В. А.  Карманный самолет Р-80 Лунь.  Предполагалось и военное использование в качестве малозаметного ЛА
 

Вложения

  • IMG_20180122_1255.jpg
    IMG_20180122_1255.jpg
    20,4 КБ · Просмотры: 330
Хорошо так отлетал и самолетик нормальный.  Но что-то понесло его в стоянку ??? 

Это был тестовый полет для отработки посадки при боковике. Стал уходить на второй круг левым разворотом.
Отказал движок. А вообще уже выкладывали...

http://www.reaa.ru/cgi-bin/yabb/YaBB.pl?num=1229591172/150#150
 
Я вас умоляю,ну какая там ассиметрия тяги по величине .Модельный движок TJ40 jet,тягой в 40кг
На глаз, вынос двигателей от ПСС около 0,75 м, следовательно разворачивающий момент от тяги мог быть около 30 кг*м. Нехилый момент! Можно конечно посчитать момент от ВО с отклонённым рулём. Хватит ли? :-?
Один из проектоввремен перестройки.Конструктор Жигалов В. А. 
Площадь ВО очевидно недостаточная.
Предполагалось и военное использование в качестве малозаметного ЛА 
Кем предполагалось!? 😱
 
Назад
Вверх