Маленький складной соосный.

  Логично. А снижение мощности ДУ для "маленьких складных" - это пожалуй одна из главных (если не главная) задача конструкторов таких аппаратов. В противном случае рушится сама идея.
 
Уважаемый vert! О своём, автожирном, прошлом, я заметил только , что бы было ясно, как я расцениваю ролик про испытание
авторотации с посадкой на идеальную поверхность, по самолётному. Хотелось бы - по автожирному, а ещё лучше как у Картера.
У Вас отличный девиз, Вы мудрый человек. Делается игрушка , которая будет доступна безбашенной не бедной молодёжи.
Несколько рыдающих родителей, и вообще запретят всякие эксперименты " до 115кг." тем более складные и без аэродромного
контроля. Пока эти штуки не выходят за рамки сайта, они мало кого волнуют. Но когда они начнут валиться на голову кому нибудь.
Сразу введут и регистрацию, и страховку и пилотские и ответственность и т.д. и т.п. Может я и ошибаюсь, но не перспективное,
это дело в нашей стране. А в мегаполисах подавно. Чтобы испытать нашу аппаратуру, мы выезжали за160км. от спб. Ближе
на порядок дороже. И кому это понравится. С огромным уважением к Вашему опыту , успехов.
 
Делается игрушка , которая будет доступна безбашенной не бедной молодёжи.
А на выставках  Аэро 2015-16 подобные аппараты  почему то  хотели купить именно  уже пожилые люди, даже бывшие вертолетчики, как личный воздушный мотоцикл, а вот молодежи не интересно было, наверно не престижно на таком летать, никого не прокатишь,  что-то покруче надо.. 🙁
Полвека назад военным вот такой кавалерии  хотелось.
 

Вложения

  • kavalerija_.jpg
    kavalerija_.jpg
    116,5 КБ · Просмотры: 179
😱 😱

...
О своём, автожирном, прошлом, я заметил только , что бы было ясно, как я расцениваю ролик про испытание
авторотации с посадкой на идеальную поверхность, по самолётному. Хотелось бы - по автожирному, а ещё лучше как у Картера.
...
. Делается игрушка , которая будет доступна безбашенной не бедной молодёжи.
Несколько рыдающих родителей, и вообще запретят всякие эксперименты " до 115кг." тем более складные и без аэродромного
контроля. Пока эти штуки не выходят за рамки сайта, они мало кого волнуют. Но когда они начнут валиться на голову кому нибудь.
Сразу введут и регистрацию, и страховку и пилотские и ответственность и т.д. и т.п. Может я и ошибаюсь, но не перспективное,
это дело в нашей стране. А в мегаполисах подавно. Чтобы испытать нашу аппаратуру, мы выезжали за160км. от спб. Ближе
на порядок дороже. И кому это понравится.
....


  :-?  А что это сейчас такое было ???
 
Видимо основная проблема с отсутствием подходящего двигателя так и не решена.
 
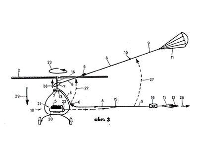
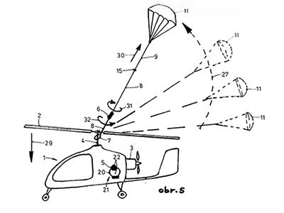
Интересно, а как вы ее себе представляете? Например при отрыве лопасти и беспорядочном кувыркании аппарата? И почему ее не изобрели до сих пор за полвека развития вертолета ( кроме отстрела лопастей и катапультируемого кресла на Ка-50)?
Как придумают, конечно, сразу поставим! 

Надо взять Севериновское креслице, присандалить к нему моторчик с редуктором и головой как у Ка-50 с отстреливаемыми лопастями  - ну должно же получиться  😉
Правда, ну никак не влезет в 115 кГ, наверное и в 500 вряд ли влезет, да и будет стоить подороже чем некоторые настоящие вертолёты. То бишь 99.999% любителей пролетят мимо кассы.
Лет 15 назад говорил мне один весьма заслуженный товарищ с Чкаловской, который как инженер десятки лет занимался испытаниями самых разных винтокрылых аппаратов и работал именно в фирме Камова , что при испытаниях, емнип, конвертоплана , именно под вращающиеся лопасти попали испытатели при попытке катапультирования. Случай был жуткий, во времена ещё СССР, не зря именно камовцы первыми и сделали отстреливаемые лопасти и катапультируемые кресла.
Да, авиация ( абсолютно любая пилотируемая ) всегда была и будет небезопасным делом.
 
Всем доброго дня!

Сложно назвать рабочий процесс новостями, но мы работаем над вертолетом максимально приближенным к серийному не покладая рук. Ввиду малочисленности нашего коллектива притормозили процесс испытаний прототипа и сосредоточились на работе по серийному образцу.
На сегодняшний день остановились на базовом двигателе - zanzoterra MZ202 (он используется на вертолетах mosquito). Конструкция аппарата претерпела значительные изменения, от исходной конструкции не осталось ни одного болта.
Задачи, которые при этом решались:
1. Повышение утилитарности и расширение круга решаемых задач. В настоящий момент даже если сильно захочется что-то перевезти то для этого можно использовать только карманы пилота.
2. Повышение уровня как пассивной, так и активной безопасности. Сейчас мы подбираемся к серии экспериментов направленных на повышение энергоемкости шасси при аварийной посадке. Помимо этого пытаемся поженить БПС с нашим аппаратом. Но тоже пока на уровне эксперимента.
3. Снижение трудоемкости  изготовления аппарата. Поэтому решения в конструкции стараемся удержать на уровне: отрезал -  просверлил- прикрутил (приклепал).
4. Снижение уровня эксплуатационных затрат. Максимально возможное применение принципа эксплуатации по состоянию. Для этого используем максимально открытую для обзора конструкцию узлов.

Пока как-то так.
 
Конструкция аппарата претерпела значительные изменения, от исходной конструкции не осталось ни одного болта.
Это по сравнению с тем аппаратом что был на выставке в апреле ?
Или Вы пошутили ?  😉
Насчёт "грузоперевозок" - это вполне понятно, думается тут вряд ли кто-то будет спорить. Не для этого эта стрекоза задумана.
Насчёт повышения энергоёмкости шасси тоже всё понятно.
Вы вроде намекали, что собирались каким то образом  облегчать конструкцию.
Вот интересно, за счёт каких ресурсов ? Массы деталей редуктора , валов  или других деталей конструкции ?
Очень интересно, удастся ли действительно уложиться в магические 115 кГ ?  :🙂
 
Shturman_billy - да вы герой!!!
Просто взяли и сделали! и ОН полетел!!!
[smiley=fly2.gif]

Без громкий обещаний и многомиллионных откатов.
 
, а вот молодежи не интересно было, наверно не престижно на таком летать, никого не прокатишь,  что-то покруче надо.. 🙁
Несмотря на абсолютно положительное отношение к проводимой работе, всё таки одноместные аппараты не ходовой товар.
 
Обнаружил еще одно видео, вроде его еще здесь не было. Мотор смотрю уже канадский MZ202  - https://www.youtube.com/watch?v=ppOCks_xzk0

[media]https://www.youtube.com/watch?v=ppOCks_xzk0[/media]
 
Этот  аппарат  вызовет  несомненный  интерес  в  качестве  беспилотника  у  военных,  может  на  это  и  рассчитывался  производителем.  Наверняка  вместо  пилота  установят  относительно  легкое  роботизированное  управление  и  обвешают  камерами  как  рождественскую  елку,  может  ПКТ  поставят  и  как  здасьте  сможет  из- за  укрытий  вести  разведку  и  даже  наносить  некие  удары.  В  морском  варианте  эти  аппараты  значительно  сьэкономят  место  в  ангаре  вертолето  или  авианосца, и  наверняка  с  успехом  заменит  дорогие  вертолеты  палубного  базирования.  Единственно  стоит  наверно  позаботиться  о  системе  ПОС,  что  бы  машина  была  всепогодной.  Машина  просто  супер.
 
Парашюты придумали трУсы!!!

Конечно,
героям которые гуляют по Уралу парашют не нужен,
но таких немного...

В последние времья всё больше "трусов" и всё больше летательных аппаратов со спассистемами,некоторые  из них
проверили в действии=

http://www.galaxysky.cz/ul-39-albi-ceska-republika-s104-cz

https://www.youtube.com/watch?v=xDCCUJkXHjM
 

Вложения

  • gyro_hel_pop1_th.jpg
    gyro_hel_pop1_th.jpg
    15,1 КБ · Просмотры: 165
  • gyro_hel_pop2_th.jpg
    gyro_hel_pop2_th.jpg
    11,2 КБ · Просмотры: 165
Назад
Вверх