Мечты не одного поэта.

Разочаровались в своей идее? 

-идея не моя,а взята от "гравио"=
http://gravio.do.am/_fr/0/0105066.jpg

=считаю,что отбор энергии порывов и его отдача через крыло+маховик имеет место и надо бы это проверить,но у меня не хватает времени и умения.

кстати,безхвостка Каспэра БЭКАС обладала таким свойстом\перелёты на малой высоте,без термики\.

после ремонта планера наверно сможем убедиться в этом...
 
А.Б. писал(а) 27.01.12 :: 14:29:53:
Не легче построить обычный самолетик. без всякого надувания презервативов,впихивания их в крыло

Вы наверно пропустили начало обсуждения ), у человека уже есть машущие крылья площадью около 10 м2, но сконструированные только под мускульные усилия.

Действительно, на этой ветке лучше оставлять материалы "мечтателей в действии", а призывы как им жить и что строить - оставлять "за порогом".

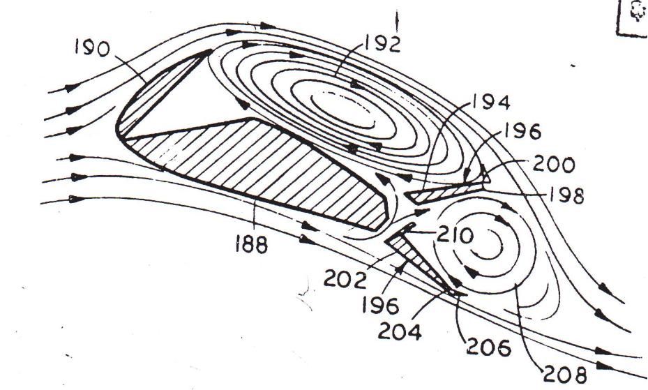
Я только недавно узнал от друзей о серьезной и в чем-то удивительной работе мечтателя-голландца.  Вслед за этим, опять же от друзей, получил ссылку на немецкий сайт, содержание которого, на мой взгляд должен бы узнать и голландец. Борислав и я уверены, что в том случае он бы полетел и на имеющихся моторчиках!  Стоит ему сообщить о перспективных немецких результатах, или пусть "варится в собственном соку", как и мы зачастую?  А нужно-то ему всего лишь пленку наклеить поверху задней части профиля...

Для интересующихся прикладываю перевод немецкого отчета. Картинки из отчета я в перевод не вставил (можете сделать это самостоятельно), чтобы файл мог прикрепиться сюда. Их можно видеть здесь:
http://www.bionik.tu-berlin.de/user/giani/klappen/evo.html

Тема показалась мне близкой к работам Каспера. Только немцы, видимо, не знали о нем. Да и отчет известен в и-нете уже целых 16 лет.  Где мы были раньше? 🙂 И что там еще есть неведомого?...
На крайнем рисунке - замыслы усложнителей идей Каспера 🙂
 

Вложения

  • Werner-Mueller-Klappe.jpg
    Werner-Mueller-Klappe.jpg
    36,8 КБ · Просмотры: 150
  • Werner-Mueller-instationaer-Bionik.doc
    Werner-Mueller-instationaer-Bionik.doc
    78,5 КБ · Просмотры: 140
  • Adaptivnoe-Krylo-po-Kasperu_001.JPG
    Adaptivnoe-Krylo-po-Kasperu_001.JPG
    51,2 КБ · Просмотры: 162
IVL писал(а) 27.01.12 :: 12:45:36:
http://www.air-trekkers.com/

Это что, вместо шасси использовать? Озадачен
Вряд ли такое возможно с крыльями за спиной, и джамперами на ногах.

Я  наблюдал вблизи грациозный бег девушки по улице с такими пружинными ходулями-джамперами. Потом дал ей мороженое, чтобы спокойно рассмотреть (девушку и "копыта"). Впечатление, что у голландца с такими же "акселераторами" на ногах скорее бы получится впечатляющий полет на его крыльях. Шагать в ходулях тоже можно, прыжок с места вроде бы и не нужен.Но средняя высота ЦТ при беге выше, да и скорость тоже. От толчка до толчка время нахождения в воздухе больше, чем при обычном беге.  Разогнаться можно постепенно, хотя необычные навыки с крыльями за спиной и "копытами" на ногах, конечно, лучше приобрести заранее... 🙂

A голландцу можно сообщить ссылки на оригинальные патенты Каспера (умершего в нищете и забытье), - первый рисунок, - ради уверенно бессрывного и повышенной несущей способности крыльев. Голландец бы облегчил их  наверное и упростил для своей задачи, сделав их из сотового поликарбоната... не теряя подвижности на кручение (с несущей обшивкой, не соединенной на задних кромках)
 

Вложения

  • Objem_wixrja_001.jpg
    Objem_wixrja_001.jpg
    81,3 КБ · Просмотры: 151
  • Xoduli.jpg
    Xoduli.jpg
    47,7 КБ · Просмотры: 141
lav писал(а) 27.01.12 :: 10:46:37:
Поправочка....F=Cx( pV^2/2) S p-плотность..

Можно наверное проще замерить. Подвесить крыло за центральную часть и замерить при закрытых клапанах, перевернуть крыло и зацепив также замерить при открытых клапанах. 

Юргис, примите мои 5 копеек к теме - в размышлениях другого мечтателя (почему-то формула пишется иначе)
 

Вложения

  • Osziliator_Polujana_001.jpg
    Osziliator_Polujana_001.jpg
    86,6 КБ · Просмотры: 140
Виктор, я рад что вы присоединились к обсуждению тем. Давно уже не было вас слышно. С помощью школьного динамометра произвёл замеры. Вы наверное правильнее подсчитаете по этим данным.
Площадь крыла 0,125 м2
Замеры производились на скорости 5 м/с
Показание динамометра при закрытых клапанах примерно 2 нютона
При открытых клапанах, при перевёрнутом крыле 0,1 нютон
А с формулой ошибся извиняюсь. 🙂
 
Разогнаться можно постепенно, хотя необычные навыки с крыльями за спиной и "копытами" на ногах, конечно, лучше приобрести заранее.

Всё таки я думаю нужно отделять мух от котлет 🙂. или высоко прыгать с крыльями и джамперами на ногах, или всё таки летать без них.
Оторваться от земли не трудно. Всегда можно найти подходящий пригорок и подождать лёгкий встречный ветерок. Главное успеть при этом быстро включить ноги в работу, а там уже и до свободного полёта не далеко. Брать на вооружение дополнительное (значительно утяжеляющее) устройство которое нужно будет только для старта, а во время полёта висящее балластом  ухудшающим все остальные характеристики, по меньшей мере не разумно. :-?
 
Всё таки я думаю нужно отделять мух от котлет . или высоко прыгать с крыльями и джамперами на ногах, или всё таки летать без них.

Да просто высокие прыжки с крыльями на джамперах не возможны! И вот почему...большая высота прыжков  с джамперами достигается только благодаря накоплению (сложению) энергии от серии предыдущих усилий прыгающего в момент отскока в пружине с малыми внутренними потерями (высокодобротный рекуператор) т.е. возможен резонансный режим...накопления энергии от периода к периоду...максимальная высота прыжка устанавливается при равенстве потерь на аэродинамическое сопротивление тела, внутреннее трение пружины ,трение в точке контакта "копыт" и подводимой мощности единичного толчка. Если нацепить крылья такой площади ,то аэродинамическое демпфирование (поглощение энергии) будет настолько большим что резонанса не получится...энергия из ничего не возникает!
 
Виктор! Огромная Вам благодарность от всех "мечтателей!!!
Это почти руководство к действию!  :~)
 
Юргис, примите мои 5 копеек к теме - в размышлениях другого мечтателя (почему-то формула пишется иначе) 
Для модели клапанного крыла коэфициент лобового сопротивления по формуле  Cx=F/p V^2 S выходит что при взмахе:
Cx(взмаха)=0,01/1,225*5^2*0,125=0,0026 при открытых клапанах
Cx(толчка)=0,2/1,225*5^2*0,125=0,052 при закрытых клапанах
При расчёте нютона перевёл в килограмм силу.
Отношение сил лобового сопротивления потоку в этих двух случаях 1/20.   
 
Для модели клапанного крыла коэфициент лобового сопротивления по формулеCx=F/p V^2 S выходит что при взмахе:
Cx(взмаха)=0,01/1,225*5^2*0,125=0,0026 при открытых клапанах
Cx(толчка)=0,2/1,225*5^2*0,125=0,052 при закрытых клапанах
При расчёте нютона перевёл в килограмм силу.
Отношение сил лобового сопротивления потоку в этих двух случаях 1/20. 

У Вас две ошибки в расчётах.
1. Если Вы плотность подставляете в системе СИ то ньютоны не надо переводить в кГ
2. Для определения Сх силу надо относить к  произведению скоростного напора на площадь...т.е. Сх= 2F/p*V^2 *S   должно получится Сх1=0,0512  ,Сх2=1,024
 
О вычислениях Юргиса:

Cx(взмаха)=0,01/(1,225*5^2*0,125)=0,0026 при открытых клапанах
Cx(толчка)=0,2/(1,225*5^2*0,125)=0,052 при закрытых клапанах

Taк показалось правильнее (в 10 раз большие коэф.), если в посте 2993 у Павла Полуяна формула корректная (без двойки в знаменателе)
 
мух от котлет Улыбка

Спасибо! Действительно я ни в мухах, ни в котлетах ничего не понимаю 🙂
Я извиняюсь, что втесался в Вашу дискуссию с Пустынным Орлом!  Не терпелось поделиться методом предотвращения срыва. Летающие  на завышенных углах атаки их крылышек насекомые успевают с них уйти, не давая потерять вихри над крылышками и потерять супер-подъемную силу - еще до развития срыва. ЛА с крылом жесткой заделки сваливается в штопор, не успевая, в силу больших моментов инерции длинного фюзеляжа, быстро уйти с опасной грани обтекания - срыва потока. Немцы подарили решение по отсрочиванию срыва и для традиционного крыла, и для машущего, имхо. Большие углы атаки становятся безопасными! Праздник на душе...

Спустя два года немцы, как и обещали, изложили продолжение и обобщение своих работ... в англоязычном журнале экспериментальной биологии. Увы, я "ни в зуб ногой" 🙁...
http://jeb.biologists.org/content/201/18/2591.full.pdf
 
Re: Мечты не одного поэта...
Ответ #3000 - Вчера :: 23:27:15 Жалоба! | Отметить & Цитировать | Цитировать О вычислениях Юргиса:

Цитата:

Cx(взмаха)=0,01/(1,225*5^2*0,125)=0,0026 при открытых клапанах
Cx(толчка)=0,2/(1,225*5^2*0,125)=0,052 при закрытых клапанах 

В общем получается 5% потерь на взмахе, если принять толчковое движение за 100%. Виктор объясните пожалуйста, хороший это результат или не очень. Может не стоит заморачиваться и тратить время попусту. :-?
 
Может не стоит заморачиваться и тратить время попусту. 
Сделайте хотя бы резиномоторную модель с такими крыльями, Добейтесь устойчивого планирования с зафиксироваными крыльями, а потом пустите в машущем режиме и всё станет ясно! 🙂
 
Моя модель летает! 
Интересно было бы посмотреть вблизи. До этого строил приводы  для плоскопаралельного маха. Оборотов двигателя не хватало для взлёта.  Теперь делаю привод для радиального взмаха.
-попробуйте померить коэфф.сопротивления\Сх\

=боюсь,что выйдет небольшим и эффективность
такого \жалюзьевого\ крыла будет малой.
Просто хотел узнать, по расчётам эффективность крыла в норме или нет.
 
нтересно было бы посмотреть вблизи. 

КШМ двигает ползун, в пазу которого ходят подшипники плечей лонжеронов. Лонжероны вращаются вдоль оси во втулках плечей. углы атаки определяются жесткостью резиновых муфт в корне лонжеронов. Муфты приклеены к лонжеронам а на плечи втугую насаживаются. Можно менять углы установки крыльев, и задать прямолинейный полёт или полёт по кругу. Хвост несущий. Наклоны по оси Х задают занос хвоста и так же влияют на направление полёта.
 

Вложения

  • kinematika_privoda1_001.jpg
    kinematika_privoda1_001.jpg
    176,4 КБ · Просмотры: 153
Назад
Вверх