Бесшатунные двигатели - 2

Статус
Закрыто для дальнейших ответов.
georgy31 сказал(а):
Дык у каждого конструктора должна быть своя такая ссылка, а так шибко просто получается. Пришёл, увидел, "изобрёл"  

Это шутка, или просто не знаете таких, которые
Вторые - пусть будут "наши", хоть и сильно вибрируют, но дают двойной прирост в совокупном КПД от обычного.
Ну а у меня есть свои ссылки:
http://www.reaa.ru/cgi-bin/yabb/YaBB.pl?num=1358602115/26#26
http://www.reaa.ru/cgi-bin/yabb/YaBB.pl?num=1358602115/83#83
и далее.
У моих идей достоинств нет, только недостатки. Признаю это и хочу увидеть схемы с двойным приростом КПД.
 
georgy31, и почему этот супердвигатель в металлоломе,а, например, не под капотом Вашей личной машины (трактора, мотора лодки, привода генератора и т.п.)?
 
georgy31 сказал(а):
В моём неотравленном теорией мозгу шатун показался  ненужным аппендиксом, как и кольца, коленвалы, и прочие тяжеленные, но бесполезные железяки, типа маховиков, коих бесчисленное множество есть. В результате получился аппарат весом 18кг, с примерной мощностью 50 квт.

georgy31 (а можно просто жорик?) убедительно прошу создать собственную ветку, где можно было бы насладиться вашими мемуарами. Мне кажется вам так будет удобнее, как вы считаете?  :-?
 
L270767   писал 25.05.2019 в : 11:01:19:
georgy31 писал(а) Вчера :: 01:43:37:
Вторые - пусть будут "наши", хоть и сильно вибрируют, но дают двойной прирост в совокупном КПД от обычного.
Ну а у меня есть свои ссылки:
http://www.reaa.ru/cgi-bin/yabb/YaBB.pl?num=1358602115/26#26
http://www.reaa.ru/cgi-bin/yabb/YaBB.pl?num=1358602115/83#83

и далее.
У моих идей достоинств нет, только недостатки. Признаю это и хочу увидеть схемы с двойным приростом КПД
1.Те, кто занимается железом употребляют  в обиходе  словосочетание «с двойным приростом КПД» подразумевая под этим « двойное уменьшение потерь». Прав я  или не прав, что такая подмена понятий встречается и именно это и имело место в процитированном тексте?
Уменьшать потери в разы можно. И даже  много раз.
2.Схемы, которые позволяют удвоить КПД известны. Хотя, не понятно о чём идёт речь: о КПД цикла или КПД двигателя. КПД цикла нельзя удвоить, да и кому это нужно, а КПД двигателя удвоить можно. У меня есть своя ссылка  на эту тему  http://www.passpero.com/process .
 
cloud сказал(а):
georgy31 (а можно просто жорик?) убедительно прошу создать собственную ветку, где можно было бы насладиться вашими мемуарами. Мне кажется вам так будет удобнее, как вы считаете?
Вы правы. Извините. Больше не повторится.
 
КПД цикла нельзя удвоить, да и кому это нужно, а КПД двигателя удвоить можно. У меня есть своя ссылка  на эту тему  http://www.passpero.com/process . 
Видимо Вам, раз у ВАс есть такая ссылка... 🙂
 
Поднимем ветку...
 

Вложения

  • 21_119.jpg
    21_119.jpg
    23,4 КБ · Просмотры: 131
Кое-что добавилось, осталось совсем немного.
 

Вложения

  • 22_177.jpg
    22_177.jpg
    25,8 КБ · Просмотры: 130
Еще небольшое продвижение вперёд - добавились карбюраторы.
 

Вложения

  • 24_093.jpg
    24_093.jpg
    28,4 КБ · Просмотры: 147
Чуток "новостей"
1. Оказывается был импортный "Баландин"
Ifield, R. - делал и публиковал отчёты с 1939 по 1981
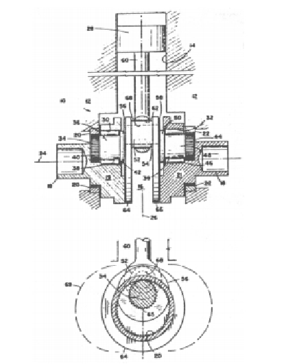
Несколько его попыток на рисунках
2. Увидел статью где доказывается увеличение мех кпд ~1.97% по сравнению с шатунным механизмом.
3. Японская попытка с 1958 по 1986 сделать бесшатунную бензопилу
https://www.jstage.jst.go.jp/article/jsme1958/29/257/29_257_3846/_pdf/-char/en
 

Вложения

  • Ifield_1.png
    Ifield_1.png
    11,6 КБ · Просмотры: 143
  • Ifield_2.png
    Ifield_2.png
    27,3 КБ · Просмотры: 151
  • Ifield3.jpg
    Ifield3.jpg
    40 КБ · Просмотры: 135
Есть статья Andriano, M. B. (1998). Design, Construction and Testing of Hypocycloid Machines. Detroit: SAE International.
где описана попытка создания 125 кубового мотоциклетного мотора. Слабое место нижний подшипник штока.

В общем все эти моторы в теории должны были получится лучше, но на практике не выдали конкурентных с классикой параметров.
 

Вложения

  • Adr125.jpg
    Adr125.jpg
    106,6 КБ · Просмотры: 147
В общем все эти моторы в теории должны были получится лучше, но на практике не выдали конкурентных с классикой параметров.
Ну а мы пожелаем Владимиру Илларионовичу преодоления этой статистики и будем немного завидовать, когда у него получится успешный девайс.  😉
 
Несколько его попыток на рисунках
Правильная мысль, симметричная схема, ЕСТЬ СОЕДИНИТЕЛЬНЫЙ ВАЛ (!!!) (видны шестерни на кривошипах) двухвальник, просто как наш Каспий 65!
Но где поперечный ползун? Его нет.... 🙁
Слабое место нижний подшипник штока.

В общем все эти моторы в теории должны были получится лучше, но на практике не выдали конкурентных с классикой параметров.
Еще бы - нет второго ползуна!!!!
Какой тут Баландин?! Им тут и не пахнет.. ;D
 
Статус
Закрыто для дальнейших ответов.
Назад
Вверх