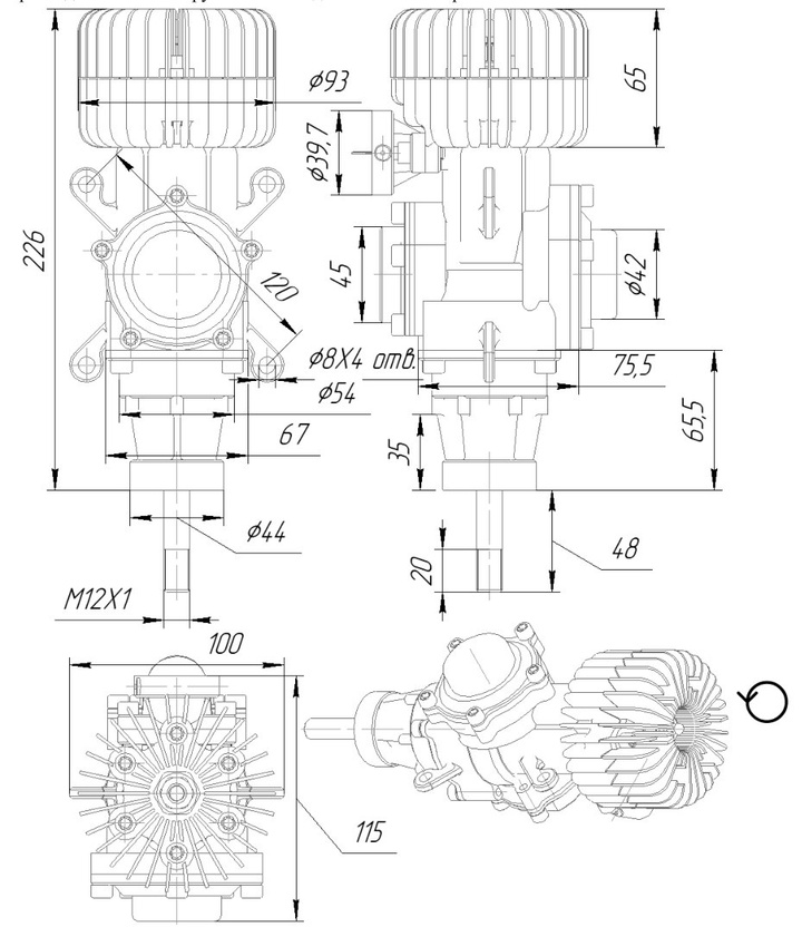
Двухтактная вариация двигателя Avadi

Помню цилиндр торчит вперед и паралельно ему тоже вперед ось коленвала. Скорее всего с наклонной шайбой. Попробовал поискать, нахожу свсем другой как раз с шестернями. Это 1000% не он. Может кто на форуме вспомнит. Двигатель скоростной кордовой авиамодели. Скорее всего писали в Моделисте и Крыльях.
vtcV3D-5y34mYL3FJuQ4ePUft3kYbNhCdg_ss8P7AOhZ_bQCZYL5Kt3CmqeS9QsMjKKUhDX-w7q65YgJRYN40iT0.jpg


LL5XxFjjk3RjZcOR-KxUSXNeycRHCktngV9-lfbiU8Ity5Acu_HmBcBQJB28bwGylusEfJGkOYR4TgrJcgUtW87h.jpg
15890508.jpg
 
В советские времена существовал авиамодельный двигатель советского спортсмена, с осью цилиндра по направлению оси коленчатого вала.
Вы же понимаете, что описали невозможную кинематическую схему?
На приведённой Вами картинке нет "коленчатого" вала. Есть механизм с другим названием.
 
Помню цилиндр торчит вперед и паралельно ему тоже вперед ось коленвала. Скорее всего с наклонной шайбой. Попробовал поискать, нахожу свсем другой как раз с шестернями. Это 1000% не он. Может кто на форуме вспомнит. Двигатель скоростной кордовой авиамодели. Скорее всего писали в Моделисте и Крыльях.
Посмотреть вложение 570792

Посмотреть вложение 570793Посмотреть вложение 570794
Скорее всего в этих моторах коническая передача. Есть золотник на впуске, значит есть тут вал и т.д.
 
у этого движка - ровно те же проблемы с газораспределением, из-за малой площади сечения золотниковых каналов, что и у Авади.
Нет там проблем с ГРМ (применительно к микролитражным двигателям). Для мало литражных и средне литражных есть проблемы с уплотнением золотника но они решаемы. Под конец второй мировой самыми совершенными были авиадвигатели именно с золотниковым ГРМ. Просто возьмите и посчитайте время-сечение золотникового механизма и того же клапанного. Ну а у 2-х тактника не забудьте учесть потерю рабочего хода занятого продувочными окнами.
 
Скорее всего в этих моторах коническая передача.
Помню это сообщение в МК, если мне не изменяет память, там сообщалось о конической передаче. Этот двигатель устанавливали на большую летающую модель, копию турбовинтового самолёта, по моему Ан-24.
 
Помню это сообщение в МК, если мне не изменяет память, там сообщалось о конической передаче. Этот двигатель устанавливали на большую летающую модель, копию турбовинтового самолёта, по моему Ан-24.
Называется этот механизм механизм Жирондена.
 
Серийно производившийся Aero-35 0.35дюйма или 5.7cm3
Да, понятно.
Я про то, что в этом моторе нет упомянутого Вами коленчатого вала в привычном нам понимании.
Вместо него шатунный штифт вставленный во вращающийся диск/маховик.
Но лобовая площадь проекции этого мотора больше чем у Avadi.
 
Последнее редактирование:
В 30-х...40-х годах прошлого века в США выпускались 2-х тактные лодочные подвесные моторы у которых шатуны были бронзовые, то бишь имели подшипники скольжения. Выпускались серийно, работали весьма не плохо. Во времена когда у нас работал Ютуб в сети был ролик как такому двигателю делали кап. ремонт. При 4% масла в бензине, то бишь 1:25, двигатель работал нормально. Так что у нас всё хорошо и основательно забыли. Был у меня мануал американских подвесников 50-х...60-х годов, на маломощных моторах подшипники скольжения применялись. Ресурс у них зависел от рабочего объёма и варьировался от 300-х сот до тысячи моточасов. Так что ни какой жути и чудес, правда обороты были не более 5000.
Нашёл в своих архивах видео на эту тему.
ещё одно видео
 
Ах вот как у них газораспределение устроено, наверное, у McCulloch так же. А я все лопал голову🙄. Довольно интересно, не то что на ротаксах замудрили.
 
Оказывается под этим названием одна садовая техника вылазит. Имел в виду конечно McCulloch 4318 или 100
Интересную цитату по нему нашел.
В ОСКБЭС МАИ (это КБ, которое разработало Авиатику), устанавливали такой двигатель на самолет Эльф. Насколько помню, (больше 30 лет прошло, извините), были большие проблемы с охлаждением. Из-за малой массы двигателя он очень быстро прогревался и так же быстро охлаждался. Много мучились с капотом и дефлекторами. (((
Думаю все же проблемы с охлаждением были не из-за малой массы двигателя, а из-за тандемного расположения цилиндров.
Кстати, у двухтактных оппозитных движков два цилиндра срабатывают как один, что не есть хорошо. Мне кажется, вот такая схема была бы интересней.
Цилиндры срабатывают поочередно, хороший обдув, и практически полное отсутствие вибрации. Так как в вертикальной плоскости поршни уравновешиваются противовесами коленвала, а в горизонтальной плоскости уже сами коленвалы уравновешивают друг друга посредством единой связки картеров.

По массе это будет практически тоже самое, что и обычная горизонтальная двухцилиндровая компоновка. Этот даже может быть легче. У меня вот эта модель спарки в таком виде завесила 12,5 кг. При расчетной мощности 46 л.с. Думаю 20 кг вряд ли перевалит в итоге.

Накидал компоновку чисто схематично, без валов и плиты. ))

Спарка.jpg


Спарка2.jpg
 
в горизонтальной плоскости уже сами коленвалы уравновешивают друг друга посредством единой связки картеров.
Уравновешивали бы. Мотор будет колбасить вокруг большой ведомой шестерни редуктора.
Мне так кажется.
 
Был такой мотоцикл английский, вроде НСУ назывался у него движок по такой схеме, только в общем картере
 
Уравновешивали бы. Мотор будет колбасить вокруг большой ведомой шестерни редуктора.
Мне так кажется.
А мне кажется все будет уравновешено.
Если в ортогональных плоскостях все уравновешено, то и в остальных будет так же все уравновешено.

Уравновешивание.jpg
 
Был такой мотоцикл английский, вроде НСУ назывался у него движок по такой схеме, только в общем картере
У такого движка есть проблема. Если ставить согласующие шестерни, то они будут стучать при перекладках, а ремень долго не прослужит (наверное).
К тому же придется утяжелять коленвалы или ставить на них маховики. В итоге вес приблизиться к аналогичному по мощности четырех-тактнику.
 
Вообще идея такого движка мне пришла в голову при желании сконструировать карманный вертолет с взлетным весом 190 кг. И чтобы при отказе одного двигателя вертолет смог продолжать полет на одном, на тех же оборотах.
Для этого пришлось бы каждый двигатель оснастить однопозиционной обгонной муфтой. И как можно судить по калькулятору вертолетов, все очень бы не плохо срасталось.
На картинке верхняя диаграмма - мощность 40 л.с., средняя - крейсерские 30 л.с. и соответственно нижняя диаграмма - это работа одного двигателя 20 л.с.
Т.е. на одном двигателе можно свободно продолжать полет но зависать на посадке, правда, уже не получится, только по "вороньему".

Но увы, есть одна засада. Одноцилиндровый двухтактник или двухцилиндровый 4-х тактник нельзя подключать к нагрузке через обгонную муфту. Так как она (муфта) будет включаться и выключаться при каждом рабочем ходе, т.е. очень быстро загнется.
А городить такую городильню для самолета или автожира нет смысла, лучше поставить эти движки по отдельности со своими винтами. Это будет и проще и надежнее.

Но мысль была обнадеживающая 😒

КарВерт.jpg
 
Называется этот механизм механизм Жирондена.
Не осталось ли в загашниках изношенных оригиналов Mahle с покрытием никасил? Никасил желтоват и к нему хорошо липнет магнитик. К чистому хрому не липнет совсем. К хрому с подслоем никеля липнет совсем слегка.
 
Не осталось ли в загашниках изношенных оригиналов Mahle с покрытием никасил? Никасил желтоват и к нему хорошо липнет магнитик. К чистому хрому не липнет совсем. К хрому с подслоем никеля липнет совсем слегка.
Посмотрю...
 
Назад
Вверх