Малые ГТД общего назначения

там же вроде волновой обменник не показан, развертка по камерам сгорания?
А, понял - косые линии - это каналы обменника давления?
Посмотреть вложение 561215
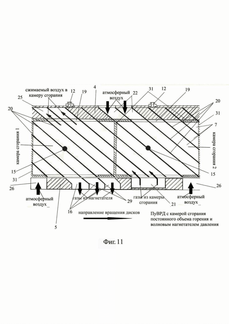
Все правильно. Фишка, что газы из первой камера сжимает для воздух для следующий.
В ИЗ этого момента не было, формально оно бы работало, по факту нет. Совесть " изобретателя" не позволила оставить все как есть, увидив ошибку в своем "детище", надо было что то с этим делать, она же не позволяет присвоить себе лавры ИЗ, я же не изобрёл ни Обменник ни ЗКС, моя роль скромнее - скомпоновать их в одном моторе. А все эти мысли пришли потом, когда прошла эйфория.
 
Последнее редактирование:
Я к тому, что я не могу за Вас определять, что и в каких объемах из Ваших идей, которыми Вы любезно поделились со мной в телеге, или ещё где-то, озвучивать на форуме. Это только ваша прерогатива.
С уважением.
Мой друг, я Вам предлогаю роль "поручителя" моих честных и искренных намерений.
 
Имхо, пшикать на каждый такт - не обязательно. Сделать форкамеру, там где показана форсунка, и дуть туда топливо и воздух с постоянным расходом, открывая окно имеющимся золотником в КС в нужный момент. Переобогащённая смесь из форкамеры разбавится и попадёт в КС.

Это новая конструкция, нечего модернизировать)

Рановато для "уверенности", не кажется?
Я предложил основание, если кто-то, почему не Вы? захотите внести в двигатель дополнения - изменения, это хорошо и правильно.
ГТД изобретены давно, и внесение в них улучшения идут до сих пор. А тут совершенно новый двигатель.
Но мне ведётся проблема с торцовым уплотнение между КС и форкамерами. Я поэтому отказался от форсунок с торцовым золотниковым затвором. И топливная смесь из форкамер будет попадать в "Обменник", и там восполменятся.
В моем варианте топливо впрыскивается в КС вместе с поступающим воздухом из Обменника, какие-то часть может попасть в промежуток между дисками золотника и КС, но это будет малая часть от той что могли быть суммарно в форкамерах.
 
Я предложил основание, если кто-то, почему не Вы? захотите внести в двигатель дополнения - изменения, это хорошо и правильно.
ГТД изобретены давно, и внесение в них улучшения идут до сих пор. А тут совершенно новый двигатель.
Но мне ведётся проблема с торцовым уплотнение между КС и форкамерами. Я поэтому отказался от форсунок с торцовым золотниковым затвором. И топливная смесь из форкамер будет попадать в "Обменник", и там восполменятся.
В моем варианте топливо впрыскивается в КС вместе с поступающим воздухом из Обменника, какие-то часть может попасть в промежуток между дисками золотника и КС, но это будет малая часть от той что могли быть суммарно в форкамерах.
Я не настаиваю на этом решении, это просто наиболее очевидный способ обойти проблему с частотой впрыска форсунок.

Видится ещё один минус в Вашей конструкции - возможность преждевременного воспламенения топлива в КС до закрытия окон, от контакта с горячей стенкой. Как с этим планируете бороться?
 
Я не настаиваю на этом решении, это просто наиболее очевидный способ обойти проблему с частотой впрыска форсунок.

Видится ещё один минус в Вашей конструкции - возможность преждевременного воспламенения топлива в КС до закрытия окон, от контакта с горячей стенкой. Как с этим планируете бороться?
Подачей топлива чуть позже открытия окна для воздуха. Аналог с дизельным двигателем.
Поэтому так важно для меня точность и синхронность между вращением дисков и работой форсунки.
Магнитик датчика Холла будет слишком грубым для этого, если конечно он будет размером больше миллиметра.
Но Вы правы тут очень и очень много тонких мест, которые без экспериментов не решить.
 
Имхо, пшикать на каждый такт - не обязательно. Сделать форкамеру, там где показана форсунка, и дуть туда топливо и воздух с постоянным расходом, открывая окно имеющимся золотником в КС в нужный момент. Переобогащённая смесь из форкамеры разбавится и попадёт в КС.
Может быть. Есть теоретический плюс в отпаде системы зажигания и дискретного/фазированного впрыска, как в "нормальных" ГТД. Тем более близкий, подобный процесс уже был экспериментально отработан в поршневых ДВС Кушуля и Костина. В одном цилиндре у них была и горела переобогащенная смесь которая затем по каналу попадала и догорала в соседнем/парном цилиндре заполненным только воздухом, расширение совершалось в обоих. Есть и недостатки, теоретические, часть топлива будет уходить в сажу, ухудшится полнота сгорания, увеличится удельный расход.
Можно, как уже говорил, вообще отказаться от фазированного впрыска, а лить из форсунки постоянно, так Богданов делал. Часть топлива тоже будет вылетать при продувке КС, догорать на выхлопе перед турбиной, что тоже снизит топливную эффективность, но для некоторых режимов может и подойти. Скажем на частичных нагрузках пшикаем фазированно, а на взлетном/форсажном льем постоянно.
Я не настаиваю на этом решении, это просто наиболее очевидный способ обойти проблему с частотой впрыска форсунок.
Наиболее очевидный это поставить вторую/третью/десятую форсунку и юзать их попеременно, через цикл. Или как я, увеличить число КС и форсунок, тогда обороты можно снизить кратно числу увеличения.
Видится ещё один минус в Вашей конструкции - возможность преждевременного воспламенения топлива в КС до закрытия окон, от контакта с горячей стенкой. Как с этим планируете бороться?
Топливо впрыскивается в нужный момент, чтобы горение происходило в уже изолированной КС. Есть ещё задержка воспоаменения. Хотя калильное зажигание вполне себе использовалось даже в карбюраторных ДВС, например, модельных. Работало. Богданов в одной из первых ЗКС наоборот специально пытался добиться калильного зажигания путем установки специальных пластин в КС, но потом отказались.
Опять же стенки охлаждаются при продувке, свежий заряд тоже отбирает тепло от них. В конце концов их можно охлаждать, маслом, например, создав каналы в теле КС/золотника.
Имху
 
Чисто теоретический вопрос - Какое максимальное давление может быть в ЗКС моего двигателя?
Поможете решить ?
Первоначальные данные такие.
Известно, что в Компрексе - максимальное давление которое оно создаёт - 2.5, при давление газов из выхлопной трубы не больше чем 3-4 и температуре 500 - 600 гр.
В ЗКС Богданова давление было до 6, и температура 1500 - 1800 гр.
Вот и вопрос, как они будут друг на друга влиять?
 
Наверное небольшая проблема подобных схем сжатия, то что сжатие происходит в той же камере, где до этого был горячий газ.
Сжатие, как известно, любит холод. Иначе снижение КПД.
Кстати это проблема традиционного ДВС с поршнем. Поэтому есть система охлаждения.
В традиционном гтд сжатие и рабочий ход происходит в разных палатах, поэтому охлаждения не нужно.
 
Наверное небольшая проблема подобных схем сжатия, то что сжатие происходит в той же камере, где до этого был горячий газ.
Сжатие, как известно, любит холод. Иначе снижение КПД.
Кстати это проблема традиционного ДВС с поршнем. Поэтому есть система охлаждения.
В традиционном гтд сжатие и рабочий ход происходит в разных палатах, поэтому охлаждения не нужно.
Не соглашусь, в том же компрексе - холодный впускной воздух, заполняя нагретую в предыдущем цикле камеру,еще не успевает нагреться, это же не мнгновенный процесс.
т.е. нагрев идет вместе со сжатием, при уже закрытом впускном канале. Наоборот, эффективность повышается, т.к. есть частичная рекуперация теплоты отходящих газов.

Известно, что в Компрексе - максимальное давление которое оно создаёт - 2.5
Вот мне кажется, что и у Вас должно быть примерно так же, т.к. принцип сжатия свежего заряда - аналогичный. По крайней мере, до момента поджига смеси.
 
Не соглашусь, в том же компрексе - холодный впускной воздух, заполняя нагретую в предыдущем цикле камеру,еще не успевает нагреться, это же не мнгновенный процесс.
т.е. нагрев идет вместе со сжатием, при уже закрытом впускном канале. Наоборот, эффективность повышается, т.к. есть частичная рекуперация теплоты отходящих газов.


Вот мне кажется, что и у Вас должно быть примерно так же, т.к. принцип сжатия свежего заряда - аналогичный. По крайней мере, до момента поджига смеси.
В одной труде по Компрексу было сказано, что его 2.5 зависит от температуры и давления "давящих" газов, и чем будет выше показатели тем будет и выше давление сжимающих газов.
Как мне кажется, давление и температура сжимаемого воздуха будет половиной от сжимающих газов.
В начале 1 цикла в Обменнике давления и ЗКС давление равно аттмосферному. Во 2 цикле газы из ЗКС уже имеют некоторую дополнительную температуру и соответственно давление. Они передают часть сжимаемому новому воздуху. 3 цикле опять происходит повышение и давления и температуры. И такие " качели" будут постоянно нарастать и регулироваться подачей топлива.
 
Чисто теоретический вопрос - Какое максимальное давление может быть в ЗКС моего двигателя?
Поможете решить ?
Первоначальные данные такие.
Известно, что в Компрексе - максимальное давление которое оно создаёт - 2.5, при давление газов из выхлопной трубы не больше чем 3-4 и температуре 500 - 600 гр.
В ЗКС Богданова давление было до 6, и температура 1500 - 1800 гр.
Вот и вопрос, как они будут друг на друга влиять?
Нужно знать начальное давление, те имеется ли нагнетатель на впуске, или нет.
В компрексе будет влиять объём и частота вращения ротора, брать его в качестве исходника нужно учитывая эти нюансы.
В ЗКС Богданова Pz в 6 была достигнута при альфа 2+, те кол-во воздуха превышало необходимое для сгорания(стехиометрию) вдвое и даже чуть больше. Давление в 5 достигнуто было чуть ли не при альфа 4. Это без предварительного наддува, в цикле Ленуара.
Посчитать значение давления в первом приближении можно по моим формулам озвученным в моей теме https://reaa.ru/threads/zolotnikova...xamfri-i-vnutrennim-volnovym-szhatiem.104841/
Тут например:
 
Вадим, Вы раньше как-то писали, что объем КС у Вас 0,5 литра(это будет V1), а объем Обменника давления 1,5 литра. Если принять начальное давление в КС и обменнике атмосферным, а степень повышения давления Pik1 как у Богданова равной 6, то по моим формулам из https://reaa.ru/threads/zolotnikova...trennim-volnovym-szhatiem.104841/post-2093900 получим, что 6 бар из КС сожмут 1,5 литра до давления 2,25 бар и утолкают их в 1/3 общего объема 2 литра(КС+ обменник давления) Т.о. в КС объемом 0,5 литра будет сгоревший газ а давлением 2,25, в части обменника объемом 0,84 литра будет тоже сгоревший газ с давлением 2,25 бар, и в остальной части обменника объемом 0,66 литра будет сжатый воздух с давлением 2,25.
Имху
 
Вадим, Вы раньше как-то писали, что объем КС у Вас 0,5 литра(это будет V1), а объем Обменника давления 1,5 литра. Если принять начальное давление в КС и обменнике атмосферным, а степень повышения давления Pik1 как у Богданова равной 6, то по моим формулам из https://reaa.ru/threads/zolotnikova...trennim-volnovym-szhatiem.104841/post-2093900 получим, что 6 бар из КС сожмут 1,5 литра до давления 2,25 бар и утолкают их в 1/3 общего объема 2 литра(КС+ обменник давления) Т.о. в КС объемом 0,5 литра будет сгоревший газ а давлением 2,25, в части обменника объемом 0,84 литра будет тоже сгоревший газ с давлением 2,25 бар, и в остальной части обменника объемом 0,66 литра будет сжатый воздух с давлением 2,25.
Имху
Спасибо за расчёты.
Когда просил посчитать давление в КС имел ввиду не конкретный двигатель, а вобщем сколько может быть давление. Но получилось сам спросил, сам и ответил.
 
Спасибо за расчёты.
Когда просил посчитать давление в КС имел ввиду не конкретный двигатель, а вобщем сколько может быть давление. Но получилось сам спросил, сам и ответил.
Не за что.
Ну, общие формулы дадены, выведены мной по ссылкам выше. Я их просто использовал для подсчёта Вашего, ранее озвученного, случая. Если у Вас другие параметры, то представляйте и считайте. 😉
 
Работа расширения газа в камере сгорания, в ТРД , никак не используется .🙁
С чего бы? В ГТД в КС газ, расширяясь, ускоряется. В отличии от ПД давление и температура преобразуется в скорость потока. Все в порядке там.
Имху
 
Он только увеличивается в объёме , ускоряется в другом месте !
Ничего подобного!
htmlconvd-c1j9Jo_html_b4f9bcb07f96fd4f.jpg
 
Последнее редактирование:
Назад
Вверх