Интересная придумка)Вчера передал свой патент с предложениями по доработки до реализации реально применимого двигателя, для научной экспертизы на кафедру одного из региональных университетов занимающеся авиодвигателями. На следующий недели, узнаю результат.
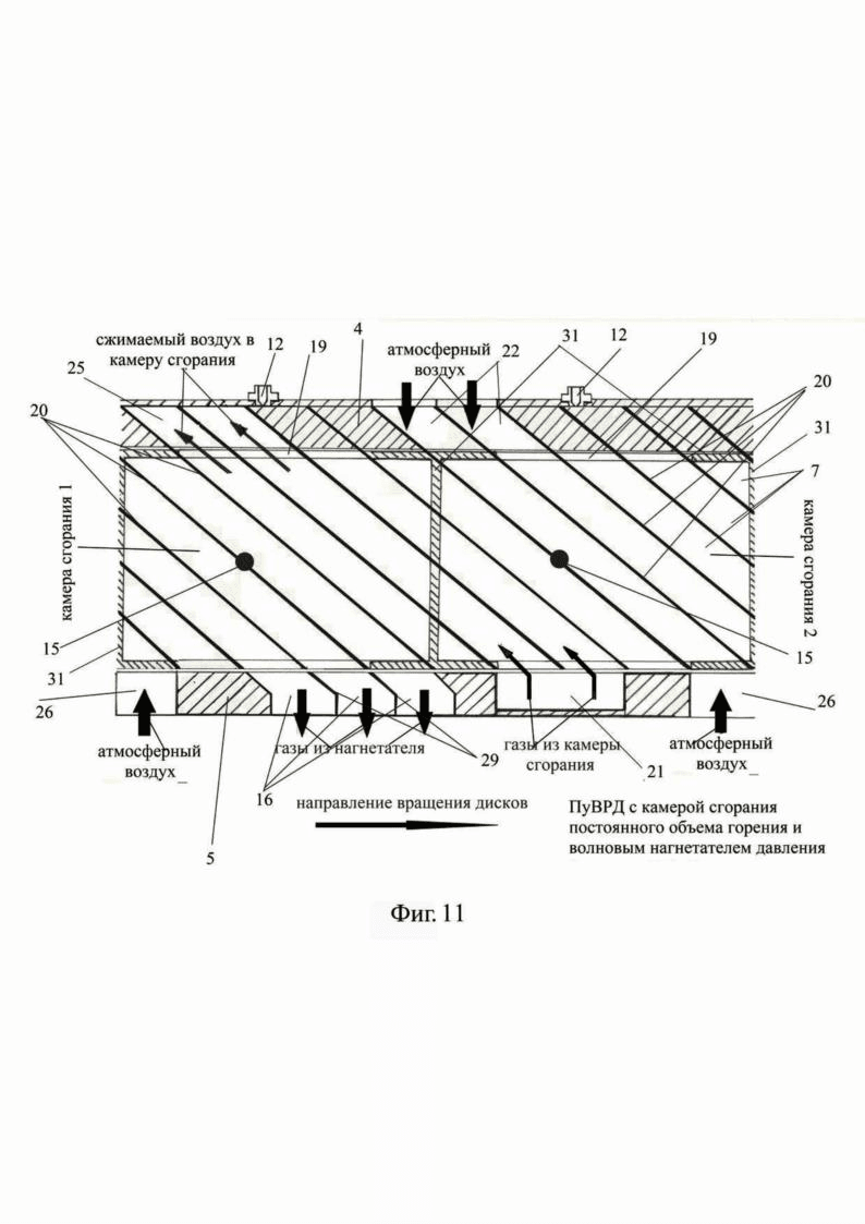
Так понимаю, что принцип сжатия подаваемого воздуха отработанными газами - аналогичен Компрексу (Comprex (TM) technology | Antrova AG).
Что-то похожее описано в этой работе: https://www.researchgate.net/public...elopments_in_Wave_Rotor_Combustion_Technology , однако с другими реализациями.
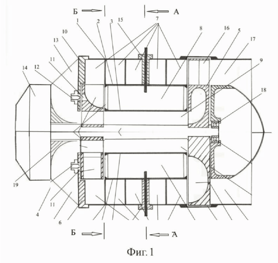
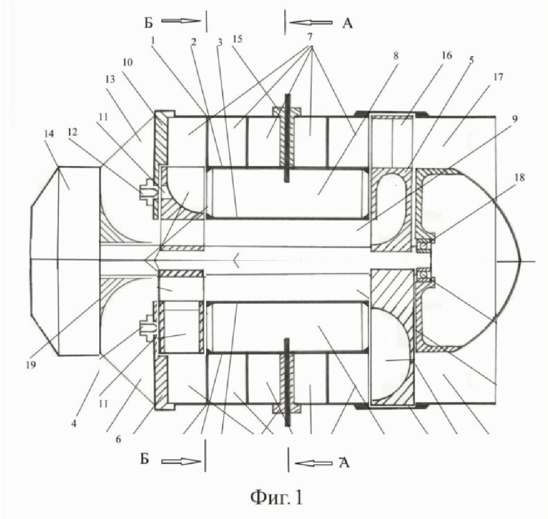
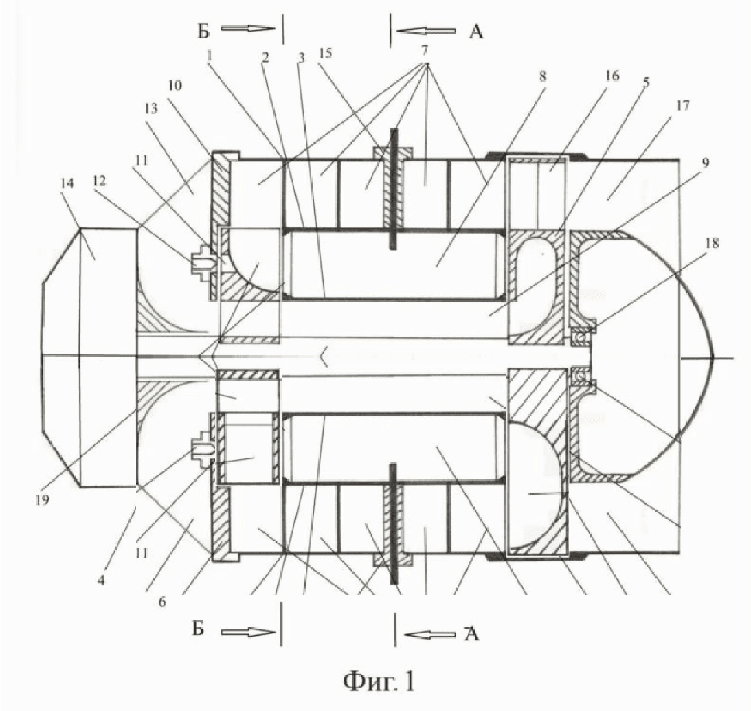
Из чертежа всё же не очень понятно, как происходит рабочий процесс по фазам (наложил ротор в разрезе , для лучшего понимания компоновки)
