Самолёт Юниор

размеры сейчас посмотрю  пояснюю   действительно эскизы могут не все отражать   могут быть вопросы  смело задавайте  завтра отвечу   а что касаетя крыла  там только табл на носик нет  но на этот вопрос мы легко ответим   ......а поднимать искуственна забытый  самолет нет необходимости  потому что мы не преследуем цель рекламы....если комуто чтото спросить пожалуйста    подсказапть  пишите на этой стр  юниор..я сам жду результатов освоения пилотом нашего самолета юниор... вот эта инф действительно должна быть размещена    так как летающих сам с сух весом до 100 кг и спроектированного по нормам   чтото я не припомню   поэтому мнение тех кто тна них летает интерсно....а здесь пилот который когдато учился на сам. як 18 помоему  ... другой класс  тип ..вес  ..иннерционные  характеристики.... вот если у него все будет  хорошо и мы об этом узнаем не от меня  а от него   тогда да можно смелее идти дальше. заминка из за дождей на  кубани.
 
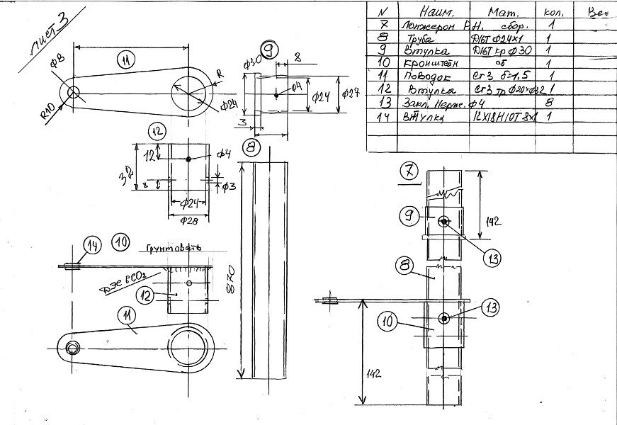
вопрос про крепление крыл....ответ.. в кабине рамы нет  только  труба ф 28х1.5 амг 6....далее узел на верхнем поясе крыла потому что там есть уголок 20х20х2 д16т сжатая зона.
 
Уважаемый НП!
Давайте закончим хотя бы с чертежами на крыло. Вы обмолвились, что на крыло не выложили только таблицу на носик.
Убедительная просьба, опубликуйте ее.
И еще писали, про какую то доработку, после которой и носик и хвостовую часть нервюры можно штамповать из одного типа металла. Очень хочется и про ЭТО услышать.

И есть еще просьба, можно в ответах не сокращать слова, часто случается разное трактование Ваших мыслей. Иногда это еще больше запутывает...
🙂
 
просмотрел заново черт крыльев  да в 1 комплекте 2 исполнения....2х местный самолет с взл весом 380 кг и одноместный с взл .весом 200 кг.....  все чертежи исполнены в произвольном виде и называются  эскизами. такое исполнение имело место в окб до появления  ескд.......в эскизах  ошибок нет в размерах. уточнения...стенки лонжерона гнуть сразу из д16т не надо отпускать   нервюры носика изготовить  из д16м 0.5 мм не надо калить. стенка нервюры носика  не имеет выреза поэтому прочность обеспечивается. заклепки  авекс или авиационные 3501-а- можно заменить на вытяжные нержавеющие  того же размера. начинать надо с изготовления  лонжеронов...... для этого следует сделать гибочный  станок или гнуть у друзей... остальные операции требуют дрель тиски напильник и ножовку по металлу. лист лучше рубить гильотиной.нервюру таблицу отправим вам или выложим т. к.   ее у нас пока нет    мы брали из справочника профиль р-15.5  модифицировали   размеры межлонжеронной  нервюры имеются.......скоро выложу черт го  во  там подробно описано как изготовить обшивки из  стэф 0.5...... мой тел 8 9289086713 имя николай павлович  звоните   подскажу... крыло очень простое   собирается на листе фанеры  лучше  потолще...примерно 20 мм.  просьба не отступать от чертежа не следует усиливать.... улучшать..  повторите... дальше пойдет все легко ....вы будете получать удовольствие  особенно когда вы сделаете крыло     боковины можно у нас заказать или самому склеить. удачи.....завтра будет вечером павел  он владеет компютером   подбирал профиль  чертил его     подскажет по нервюре......
 
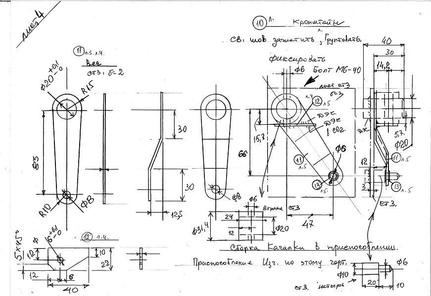
раньше нервюра впереди имела отбортовку   это усложняло формовку....отгиб полки... носика нервюры мы  применяли  25 т.  пресс ....сейчас отрезали носик  поэтому нервюра легко формуется по шаблону в ручную  за 1-2 минуты  резиновым молотком. материал раньше был д16 т а нервюра 2 отв. для облегчения поэтому ее делали из д16 м потом калили....сейчас же повторюсь  отв. нет носик обрезан и нервюра изготавливается из д16м и не калится. дело в том что примерно 20 процентов при калке нервюр из тонкого материала шли в брак ... поводки    да и легко получить перекал...это так к сведению     . смотрите лист 4.
 
Продолжение чертежей
 

Вложения

  • 1_015.jpeg
    1_015.jpeg
    97,1 КБ · Просмотры: 309
  • 2_009.jpeg
    2_009.jpeg
    77,4 КБ · Просмотры: 314
  • 3_006.jpeg
    3_006.jpeg
    84,7 КБ · Просмотры: 316
Хорда крыла 948мм без учета фиксированного предкрылка/надкрылка и элеронной пластины с отгибом (приклёпывается к хвостику элерона  с целью увеличения подъемной силы). На 28% хорды расположен лонжерон и до этого места профиль крыла очень близок к 15% профилю Р-III. Это позволяет летать самолету без предкрылков с хорошими несущими свойствами и прогнозируемой скоростью сваливания. Таблица профиля носовой части крыла:
Х,мм      0       5       10      20      30      40      50      70     100       150       200      250      270
Ув,мм     0    22.7   32.4   47.2    58.1    67    74.6   86.4   98.3    108.95   111.9    110.9  109.9
Ун,мм     0   -9.95  -13.6  -18.1  -20.5  -22.4  -24      -26   -27.4   -27.75    - 27.6   -26.7   -26.2
Далее профиль плавно переходит в прямолинейный.
 
А с какой целью заднюю часть профиля сделали прямолинейной? Т.е. такой профиль проще в изготовлении, или обладает какими-то аэродинамическими преимуществами перед оригинальным Р-III ?
Спасибо.
 
Хорда крыла 948мм без учета фиксированного предкрылка/надкрылка и элеронной пластины с отгибом (приклёпывается к хвостику элерона  с целью увеличения подъемной силы)...
...Это позволяет [highlight]летать[/highlight] самолету [highlight]без предкрылков[/highlight] с хорошими несущими свойствами и прогнозируемой скоростью сваливания.

Из Вашего поста, Павел, я так понЯл, что предкрылок не совсем то и нужен ??? 
А НП говорит совсем другое.
Можете расширить ход мысли в данном направлении, ведь не делая предкрылка получим неплохую экономию в весе, уменьшим трудозатраты... Уменьшится список используемых материалов, приспособлений, а это ВРЕМЯ, ВРЕМЯ и еще раз ВРЕМЯ.... ну и конечно деньги... 🙂

А за таблицу профиля СПАСИБО!
 
Спрямленная задняя часть профиля значительно упрощает технологию изготовление нервюр, сокращает издержки и время изготовления.
Аэродинамика: предположительно, имеет место незначительное уменьшение Суmax. Суmax~1.5,  [ch945]св~14[ch186]
Предкрылки увеличивают Суmax до ~2.0, [ch945]св до ~20[ch186] и обеспечивают 100% срыв потока в корневой части крыла (сваливание без крена).
За это удовольствие приходится платить незначительным уменьшением максимальной скорости полета ~5км/ч
Установка пластины с отгибом на элеронах увеличиваетСуmax до ~2.2 - 2.3, способствует более короткому взлету и уменьшению посадочной скорости и угла тангажа.
Отгибная элеронная пластина так же незначительно уменьшает максимальную скорость полета.
 
Можно летать без предкрылков, но тога:
- взлетать, летать и совершать посадку на больших скоростях ~ на 10 км/ч;
- опасаться воздушных порывов, т.е. при турбулентности держать более повышенные скорости (добавка скорости больше,чем при наличии предкрылков);
- сваливание самолета будет происходить с вращением по тангажу и по крену.
В следствие выше сказанного,
пилотажные характеристики самолета без предкрылков будут хуже,
безопасность полетов - ниже.
 
Назад
Вверх