поборол соосник 115 кг

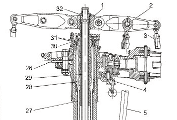
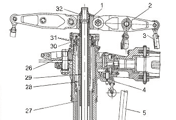
Валера, Андрей - просветите по двум вопросам. Фото из моего поста #555.

1. Торсионы что на фото можно сделать из сплошного листа или они обязательно должны быть многослойными, склеенными? Какая марка стали лучше в случае моно пластины?

2. Торсионы в этой конструкции держат 100% центробежки? Осевой подшипник в корне лопасти не участвует в центробежке? Какого типа он должен или может быть?

Посмотреть вложение 545461
есть методичка где есть информация о конструкции и как считать торсион . расчет не полный но хоть что то .
 
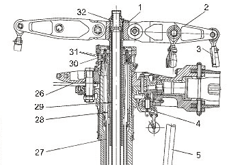
Валера, Андрей - просветите по двум вопросам. Фото из моего поста #555.

1. Торсионы что на фото можно сделать из сплошного листа или они обязательно должны быть многослойными, склеенными? Какая марка стали лучше в случае моно пластины?

2. Торсионы в этой конструкции держат 100% центробежки? Осевой подшипник в корне лопасти не участвует в центробежке? Какого типа он должен или может быть?

Посмотреть вложение 545461
Здравия, желаю!
Всех выживших, - с прошедшими и наступающими!
По большому счету торсион может быть выполнен из любого вида пружинных сталей. На вертолете Ми-2, например, торсион втулки хвостового винта выполнен из стали 50ХФА. Мы предпочли выполнить торсион из ВНС-2, в первую очередь из-за коррозионной стойкости материала. Торсион должен быть выполнен из отдельных пластин (см. пост. #568) (толщина 0,15...0,3 мм) разделенных между собой, чтобы избежать кромочного и плоскостного контакта пластин в эксплуатации (избежать наклепа, фреттинг-коррозии). В качестве разделителя взрослые конторы используют ВАП-2 (Каталог Антифрикционная суспензия марки ВАП-2), мы же экспериментируем с фторопластовым скотчем.
Торсион воспринимает 100% центробежки и должен быть максимально "мягким" на кручение. Расчет металлического торсиона достаточно прост и достоверен при использовании любого МКЭ метода, вопрос лишь в корректном задании граничных условий.
Из фотографии не до конца понятен конструктив втулки, но по идее, там где находится первый болт от втулки, должен находиться ШС скользяший вдоль пальца. ШС необходим как геометрический центр приведения вращений лопасти (условного ГШ, ВШ, ОШ) Без этой точки есть большой шанс нарваться на неприятности. Так как было сделано на вертолете Р30, мне кажется, - плохая идея, лопасть в горизонтальном полете по азимуту имеет переменный центр вращения. Как подтверждение этого - на крайних версиях Р34 похоже что появился этот центр.
1704561512124.png

Вот как это выполнено на Ка-52
1704561909860.png
 
Здравия, желаю!
Всех выживших, - с прошедшими и наступающими!
По большому счету торсион может быть выполнен из любого вида пружинных сталей. На вертолете Ми-2, например, торсион втулки хвостового винта выполнен из стали 50ХФА. Мы предпочли выполнить торсион из ВНС-2, в первую очередь из-за коррозионной стойкости материала. Торсион должен быть выполнен из отдельных пластин (см. пост. #568) (толщина 0,15...0,3 мм) разделенных между собой, чтобы избежать кромочного и плоскостного контакта пластин в эксплуатации (избежать наклепа, фреттинг-коррозии). В качестве разделителя взрослые конторы используют ВАП-2 (Каталог Антифрикционная суспензия марки ВАП-2), мы же экспериментируем с фторопластовым скотчем.
Торсион воспринимает 100% центробежки и должен быть максимально "мягким" на кручение. Расчет металлического торсиона достаточно прост и достоверен при использовании любого МКЭ метода, вопрос лишь в корректном задании граничных условий.
Из фотографии не до конца понятен конструктив втулки, но по идее, там где находится первый болт от втулки, должен находиться ШС скользяший вдоль пальца. ШС необходим как геометрический центр приведения вращений лопасти (условного ГШ, ВШ, ОШ) Без этой точки есть большой шанс нарваться на неприятности. Так как было сделано на вертолете Р30, мне кажется, - плохая идея, лопасть в горизонтальном полете по азимуту имеет переменный центр вращения. Как подтверждение этого - на крайних версиях Р34 похоже что появился этот центр.
Посмотреть вложение 545474
Вот как это выполнено на Ка-52
Посмотреть вложение 545476

из нержавейки 304 торсион можно сделать ?
 
Можно, но боюсь это будет слишком дубовый торсион и усилия в проводке управления будут слишком большие. Тут необходимы стали с пределом прочности не меньше 120 кг/мм2.
 
Неужели воздушным тормозом наконечника несущего винта Gyrodyne Rotorcycle намного сложнее управлять при рыскании, чем дифференциальным управлением?
 
Доброго здравия всем!
Неужели воздушным тормозом наконечника несущего винта Gyrodyne Rotorcycle намного сложнее управлять при рыскании, чем дифференциальным управлением?
Мы опробовали на своих аппаратах несколько конструктивных схем управления соосными винтами. В том числе была попытка прорисовать данную систему управления, в результате пришёл к выводу, что она содержит слишком много деталей. Овчинка выделки не стоит. Поняв, что система получается еще сложнее даже не стал её заканчивать, и вам не рекомендую.
Из всего многообразия возможных конструктивных схем наиболее простыми в исполнении (а самое главное беспроблемными в работе) будут схемы реализованные на аппаратах: VA-115; Ка-50(52); Rotorfly R30(34) (но там есть засада). Остальное - экзотика и область эксперимента.
 
Последнее редактирование:
Доброго здравия всем!

Мы опробовали на своих аппаратах несколько конструктивных схем управления соосными винтами. В том числе была попытка прорисовать данную систему управления, в результате пришёл к выводу, что она содержит слишком много деталей. Овчинка выделки не стоит. Поняв, что система получается еще сложнее даже не стал её заканчивать, и вам не рекомендую.
Из всего многообразия возможных конструктивных схем наиболее простыми в исполнении (а самое главное беспроблемными в работе) будут схемы реализованные на аппаратах: VA-115; Ка-50(52); Rotorfly R30(34) (но там есть засада). Остальное - экзотика и область эксперимента.
засада с отсутствием рукавов лопастей ?
 
Good health to all!

We have tested several design schemes for controlling coaxial propellers on our devices. In particular, there was an attempt to draw this control system, as a result, I came to the conclusion that it contains too many details. Sheepskin is not worth the dressing. Realizing that the system turns out to be even more complicated, I didn't even finish it, and I don't recommend it to you.
Of all the variety of possible design schemes, the simplest in execution (and most importantly problem-free in operation) will be the schemes implemented on the devices: VA-115; Ka-50(52); Rotorfly R30(34) (but there's an ambush there). The rest is exotic and experimental.
Yes, even the simplified patent drawing of the rotor tip brake system was complex.
They argued that during autorotation, yaw did not need to be reversed with end brakes.
The simple conclusion is that nothing is simple about a helicopter.
 
засада с отсутствием рукавов лопастей ?
Это засада с конструктивом втулки. А есть еще засада с системой управления данного типа. Боюсь так просто не объясню, это необходимо показывать прямо на объекте. Но это связано с жесткостью кронштейнов продольного и поперечного канала на финальном участке при переходе к автомату перекоса. Есть шанс получить "резиновое" управление. Короче, просто оценка прочности Пы*Фы - недостаточна, в первую очередь необходимо оценить жесткость.
 
Всем доброго здравия!
Пока зима, потихоньку доделываем аппарат. Доделываем узлы которые не сделали. Вчера получили наконец-то бак. К сожалению форумчане Антон-Денис из славного города Иваново уже давно не выходят на связь, поэтому пришлось варить не у них. По этой же причине толщину материала пришлось увеличить до полутора миллиметров, ибо из единички вряд ли кто-нибудь бы взялся.
1706537342024.png

Ещё нашлись мастера-композитчики с правильными руками и умными головами. Итогом нашего сотрудничества стал новый киль:
1706537507129.png

Старый состоял из 4-х деталей и весил 724 гр. Новый состоит из одной и весит 490 гр.
Сотрудничество продолжаем и сейчас запустили в производство новую хвостовую балку.
Старая весит 1890 гр. и состоит из 4-х деталей, новая же будет из одной детали и ожидаемый вес 900...950гр.
 
Всем доброго здравия!
Пока зима, потихоньку доделываем аппарат. Доделываем узлы которые не сделали. Вчера получили наконец-то бак. К сожалению форумчане Антон-Денис из славного города Иваново уже давно не выходят на связь, поэтому пришлось варить не у них. По этой же причине толщину материала пришлось увеличить до полутора миллиметров, ибо из единички вряд ли кто-нибудь бы взялся.
Посмотреть вложение 546812
Ещё нашлись мастера-композитчики с правильными руками и умными головами. Итогом нашего сотрудничества стал новый киль:
Посмотреть вложение 546814
Старый состоял из 4-х деталей и весил 724 гр. Новый состоит из одной и весит 490 гр.
Сотрудничество продолжаем и сейчас запустили в производство новую хвостовую балку.
Старая весит 1890 гр. и состоит из 4-х деталей, новая же будет из одной детали и ожидаемый вес 900...950гр.
как оргпнизована система охлаждения масла гр , двухсекционный маслонасос ? или масло после насоса проходит через радиатор и потом к узлам смазки ?
 
По этой же причине толщину материала пришлось увеличить до полутора миллиметров, ибо из единички вряд ли кто-нибудь бы взялся.
А чего из стеклопластика не делаете? Был бы легче в 1,5 раза и без риска трещин в процессе эксплуатации.
 
Назад
Вверх