• Вышел новый выпуск программы ФлайтТВ, посвященный современным российским ЮПШ (юношеским планерным школам).
    Видео на Youtube. Ссылки на другие платформы и обсуждение в теме на форуме.

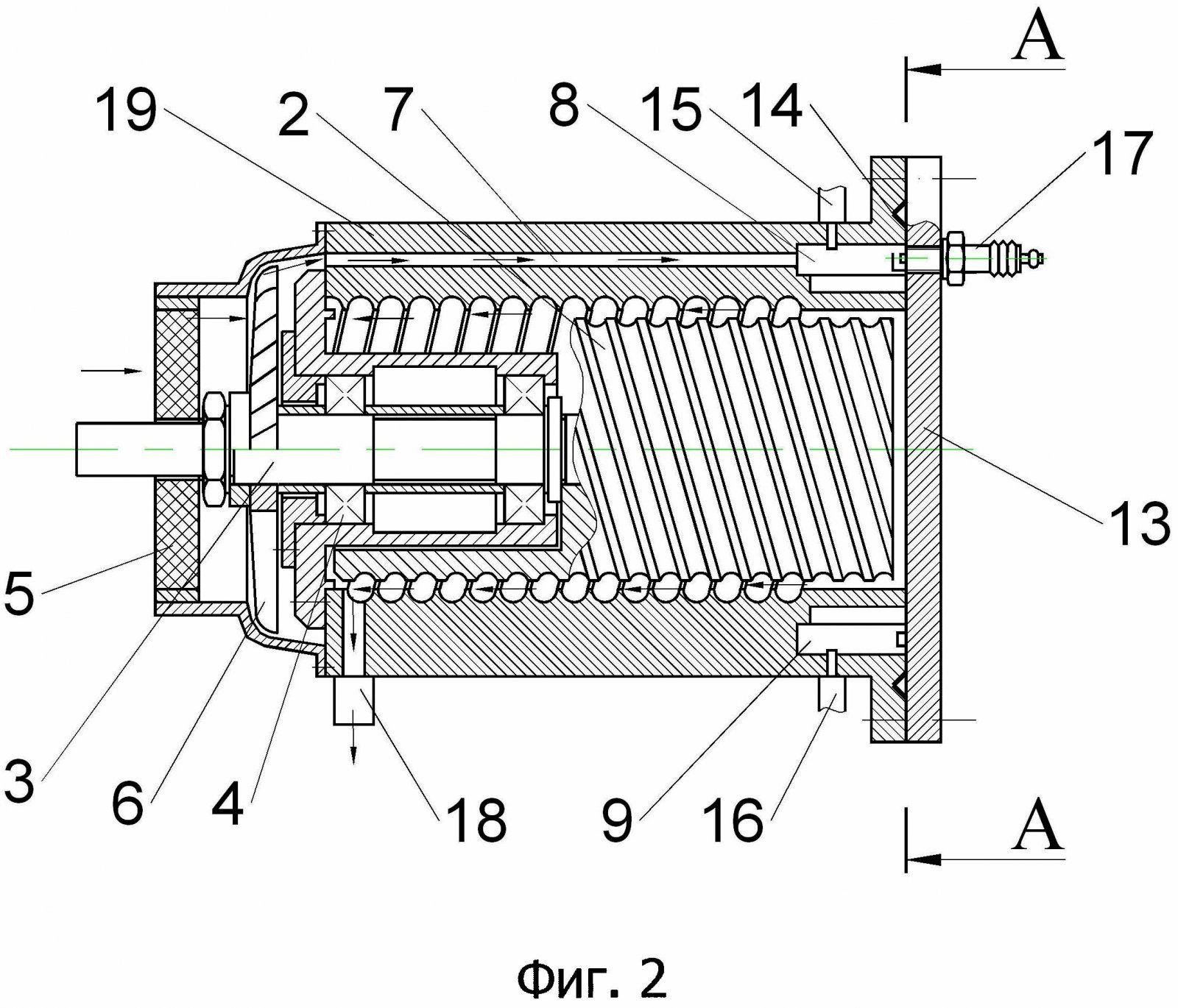
Роторно-винтовой двигатель

Вам нужно понять простую вещь, у нас клановая экономика. За новые идеи цепляются исключительно из соображений выживаемости "клана".
Да вашему клану не за что даже зацепиться...🤓
 
Да вашему клану не за что даже зацепиться...🤓

Да, я свой организовал, и неплохо в нем себя чувствую, в отличии от некоторых иждивенцев, которые за семь лет едва заработали 8 тысяч рублей, торгуя веревками и трусами, а здесь из себя экспертов изображают 😆

Да, и хватит ветку застилать своими пустыми постами. Если нечего сказать по существу, переходи на ветку БСМ.
 
Последнее редактирование:
И всё таки я кое что сделал: получил два патента "Винтовая турбина" и "Безлопастной микротурбинный двигатель. Но клана у меня нет, а времени мало.
 
И всё таки я кое что сделал: получил два патента "Винтовая турбина" и "Безлопастной микротурбинный двигатель. Но клана у меня нет, а времени мало.
В современной ситуации я даже не знаю поздравлять Вас или сочувствовать. Хорошо то что патент есть, плохо что его нужно будет поддерживать, а это бесцельный расход денег. Патентованием есть смысл заниматься когда есть большая уверенность что за это заплатят.
 
Придерживаюсь такой же точки зрения... Патент это платный способ некоторое время потешить собственное тщеславие ... 🙂
Не соглашусь. Не так уж это дорого, если речь идёт о первых 5 годах (поддержки действия патента) и без получения "бумажного документа патента", тем более для льготников (пенсионеров, аспирантов, преподавателей, инвалидов и т.д.). имхо

Один знакомый "бахвалился", что может легко и просто получить патент на любую "ахинею", но когда получил запрос экспертизы и отказ в выдаче патента - "заткнулся" надолго.

Патент - это еще и один из один из способов "пообщаться" с экспертами (без унижений и оскорблений). имхо
А тому, кто добился получения патента - надо отдать "должное" и пожелать: реализовать техническое решение в "железе" с подтверждением ожидаемых результатов!!! имхо
 
ЭКИПРОВу (АКА Мазуров Виктор Кузьмич) Поздравления с получением патента.
 
Один знакомый "бахвалился", что может легко и просто получить патент на любую "ахинею", но когда получил запрос экспертизы и отказ в выдаче патента - "заткнулся" надолго.
В современной действительности наличие патента абсолютно не гарантирует того, что описанная в этом патенте конструкция в реальности работоспособна.
То есть, человек пожелавший вложиться в такой проект, в итоге может получить пшик, а не действующий двигатель. И таких патентов просто завались, особенно в области ДВС.
Поэтому да, ахинея патентуется, это факт.
 
Как я понял Вы решили создать ГТД на основе инверсии винтового компрессора. Подобные схемы используются в Паровой винтовой машине (ПВМ), в частности, по патенту RU 2118460. На базе ПВМ производятся малые серии тепловых электростанций от 250 до 1000 кВт. Но не известно применение ПВМ в качестве ГТД. Для Вашего решения, возможно, будет интересно использование в качестве топлива Аквазина, изобретенного Исаевым Э.И. при разработке экраноплана "ЭКИП".
 
В современной действительности наличие патента абсолютно не гарантирует того, что описанная в этом патенте конструкция в реальности работоспособна.
То есть, человек пожелавший вложиться в такой проект, в итоге может получить пшик, а не действующий двигатель. И таких патентов просто завались, особенно в области ДВС.
Поэтому да, ахинея патентуется, это факт.
Насколько понимаю — патентуется идея технического решения (если речь идёт о конструкции или способе), не противоречащая физическим законам, на "страже" которых стоят эксперты Роспатента, и требованиям патентных регламентов.
Неработоспособность запатентованных конструкций обусловлена, как мне представляется, не самой неработоспособностью как таковой, а тем, что заявленный технический результат часто оказывается несоответствующим реализованному результату или наоборот.

Именно поэтому "... человек пожелавший вложиться в такой проект, в итоге может получить пшик, а не действующий двигатель..."
Из этого следует, что прежде чем "взять на вооружение" техническую идею, пусть даже запатентованную — нужно много-много раз проработать реальность достижимости заявленных авторами технических результатов!!! имхо

С другой стороны, если идея нова и ранее не реализовывалась в техническом устройстве — можно только предполагать, с определенной долей вероятности, что устройство способно функционировать и реальный результат может достигнуть заявленный уровень.
Именно поэтому применительно к двигателям (на новых принципах) инвесторы и обыватели часто просят продемонстрировать "работающий двигатель мощностью хотя бы в одну комариную силу"!!!
 
Bulagen(у): Спасибо за поздравление! niksann(у): Чтобы убедиться что это не ахинея, ознакомьтесь с патентом RU 2743777 "Безлопастной микротурбинный двигатель" на сайте ФИПС в Открытых реестрах .Данное изобретение создавалось мною в противовес американским микротурбинам фирмы Capstone.
 
Насколько понимаю — патентуется идея технического решения (если речь идёт о конструкции или способе), не противоречащая физическим законам,
вы неверно понимаете в нашей стране запатентована куча вечных двигателей и инерциоидов, известны , например, и патенты двигателей которые не могут даже вращаться по причине противоречия законам геометрии
 
niksann(у): Чтобы убедиться что это не ахинея, ознакомьтесь с патентом RU 2743777 "Безлопастной микротурбинный двигатель" на сайте ФИПС в Открытых реестрах .Данное изобретение создавалось мною в противовес американским микротурбинам фирмы Capstone.

Ознакомился! Но убедиться, что это не очередная пустышка (Вы уж извините) именно из данного текста патента я не смог.

Насколько можно понять, основная суть изобретения это вот это
Благодаря этим канавкам в зазоре между винтом (ротором) и неподвижным корпусом под действием движущегося нагретого газа интенсифицируется процесс турбулентного трения и, по сравнению с гладкой втулкой, существенно увеличивается количество энергии, передаваемой от нагретого газа ротору. Причем эффект передачи энергии, и соответственно скорость вращения ротора, нелинейно растет с увеличением температуры газа в камере сгорания и давления на входе газа в зазор. Увеличение размеров кольцевых канавок корпуса в направлении выпускного патрубка позволяет осуществить продолженное расширение нагретого рабочего газа, что дополнительно увеличивает коэффициент передачи энергии ротору.

В любом ДВС основным процессом является процесс перехода тепловой энергии в кинетическую, т.е. рабочий газ в итоге охлаждается совершая работу.
А вот когда речь идет о трении, не важно каком, то имеется в виду совершенно обратный процесс - переход кинетической энергии в теплоту, что прямо противоречит работоспособности двигателя.
Этот эффект где-то изучался, где-то применялся?

Не понятно так же наличие теплообменника между компрессором и КС. Это применяется в поршневиках, чтобы как можно больше запихнуть воздуха в ограниченный объем цилиндров. У турбинников КС открытого типа, и делать это бессмысленно. Зачем охлаждать, чтобы сразу после этого нагревать?

i.jpg
 
и патенты двигателей которые не могут даже вращаться по причине противоречия законам геометрии
Тоже что-то похожее вертится, но не знаю как сформулировать. Не столько важен физический эффект, как его пропорции или масштабность что-ли.
Вот, например, двигатель якобы будущего "Омега 1", который, тоже якобы, развивает что-то около 160 л.с. при 24 тыщ об/мин. Вроде все складно, но парни забыли посчитать скорость перекачки воздуха из одной камеры в другую. Точных геометрических параметров двигателя у меня нет, но примерно посчитать оказалось возможным. Так вот она (эта скорость) составит примерно 1,5 км/с. это с учетом того, что воздух уже сжат.
Соответственно, надо снижать обороты примерно в 10 раз для приемлемых значений, но тогда теряется смысл безконтактного уплотнения и возникают большие теплопотери. В итоге двигатель в том виде, в котором он выставлен, не только теряет свои заявленные преимущества, но и просто может оказаться неработоспособным.

А значит мужчинкам придется или переизобретать конструкцию, или отказываться от нее полностью. Правда они наверное еще этого не поняли, потому что пиарят эту конструкцию по всем каналам.

Вот на картинке видно через какие окошечки весь объем воздуха должен пролетать, когда они совпадают.

Перепуск.jpg
 
Особенно "впечатлило" на чертеже рабочее колесо толи компрессора толи вентилятора, даже не знаю как назвать. Очередной "бумажный тигр".
 
Ознакомился! Но убедиться, что это не очередная пустышка (Вы уж извините) именно из данного текста патента я не смог.

Насколько можно понять, основная суть изобретения это вот это


В любом ДВС основным процессом является процесс перехода тепловой энергии в кинетическую, т.е. рабочий газ в итоге охлаждается совершая работу.
А вот когда речь идет о трении, не важно каком, то имеется в виду совершенно обратный процесс - переход кинетической энергии в теплоту, что прямо противоречит работоспособности двигателя.
Этот эффект где-то изучался, где-то применялся?

Не понятно так же наличие теплообменника между компрессором и КС. Это применяется в поршневиках, чтобы как можно больше запихнуть воздуха в ограниченный объем цилиндров. У турбинников КС открытого типа, и делать это бессмысленно. Зачем охлаждать, чтобы сразу после этого нагревать?
На этом эффекте работают микротурбины (точнее микротурбинные двигатели) фирмы Capstone. В моём решении вместо лопастной турбины применяется Винтовая турбина, что упрощает конструкцию и технологию изготовления. А в теплообменнике, как и в прототипе, подогревается воздух, подаваемый в КС, что увеличивает КПД.
 
А в теплообменнике, как и в прототипе, подогревается воздух, подаваемый в КС, что увеличивает КПД.
Пардон!
Просто у меня на стапелях чертежной программы тоже имеется роторник, но у него на выходе из компрессоров температура воздуха предполагается 300 - 350 град., а температура корпуса - 150 град. Поэтому рекуперация невозможна, вот я по инерции мышления и предположил, что речь идет об охлаждении, как в интеркуллерах.
 
В любом ДВС основным процессом является процесс перехода тепловой энергии в кинетическую, т.е. рабочий газ в итоге охлаждается совершая работу.
А вот когда речь идет о трении, не важно каком, то имеется в виду совершенно обратный процесс - переход кинетической энергии в теплоту, что прямо противоречит работоспособности двигателя.
Этот эффект где-то изучался, где-то применялся?
В большинстве случаев в узлах и элементах машин и механизмов наблюдается трение в условиях ламинарного движения жидкости или газа (например, Безлопастная турбина Тесла - патент 1913 г.). Однако, с увеличением частоты вращения валов, а также давления и температуры жидкостей или газов зачастую создаются условия для возникновения трения в турбулентном режиме, которое условно называют турбулентным трением. В частности это явление используется в изобретённом в 1958 году А.И. Голубевым насосе, названным "лабиринтным" А.С. SU 126748. Лабиринтный насос выполнен в виде многозаходного винта вращающегося во втулке с нарезкой противоположного с винтом направления. Наличие таких нарезок повышает интенсивность турбулентного трения в зазоре и увеличивает напор в 7,5 раз по сравнению с гладкой втулкой.

Из-за малой изученности турбулентности число конструктивных решений, повышающих эффективность турбулентного трения, сравнительно невелико. Мои патенты относятся к таким техническим решениям и являются новым применением винтовых механизмов.
 
Назад
Вверх