Вопросы к В.П.Лапшину

Ну и что - это и учитывается поправками на присутствие фюзеляжа.
Причиной создания подъемной силы, в любом случае, является скос потока - а он будет скашиваться в любом случае, вдоль всего размаха.
 
И снова здрасте Владимир Павлович.
Кое что изменили в органах управления, в  частности по продольному  каналу.
Раньше это была  трубка внутри. Сейчас решили вытащить отдельно. Но в виду того, что места  мало, решили  сделать вот так (это просто наглядный макет, поэтому  не обращайте  внимание на кривые трубки)
Ваше мнение, имеет право на  жизнь такой вариант?
 

Вложения

  • 1_thumb_003.jpg
    1_thumb_003.jpg
    42,5 КБ · Просмотры: 170
Здравствуйте. Можно ли  вместо замка двери установить  небольшой магнит ? Самый маленький что нашел в продаже 30х20х10мм уже 25 кг на отрыв, но можно распилить на части. Или от динамика или мебельной дверцы(парочку) применить
 
Здравствуйте. Можно ли  вместо замка двери установить  небольшой магнит ? Самый маленький что нашел в продаже 30х20х10мм уже 25 кг на отрыв, но можно распилить на части. Или от динамика или мебельной дверцы(парочку) применить
Возможность, или невозможность применения того, или иного решения в конструкции ЛА обусловлена, в частности, требованиями безопасности. Иными словами, соответствующий узел необходимо проанализировать в точки зрения его поведения во всех возможных ситуациях, в т.ч. при всех возможных отказах любой из его составляющих.
Таким образом, предлагаемое применение магнита в качестве замка двери должно также быть проанализировано всесторонне - и не рассчитывайте на меня в качестве исполнителя этой работы. Замечу лишь - а рассмотрена ли возможность прилипания к магниту какого-то постороннего предмета, из-за чего дверь не будет надежно закрыта, или наоборот, не откроется при необходимости? И так, все остальные ситуации и последствия возникновения их в критическом этапе полета.
 
Здравствуйте. Можно ли  вместо замка двери установить  небольшой магнит ? Самый маленький что нашел в продаже 30х20х10мм уже 25 кг на отрыв, но можно распилить на части. Или от динамика или мебельной дверцы(парочку) применить

Извините, что вмешиваюсь.  Магниты теряют свои свойства при нагревании и при ударах (тряске). 
 
Спасибо. Еще вопрос. Вот так можно завязать рессору шасси и подкос  крыла в одном узле на сварном фюзеляже?
 

Вложения

  • ___________035.png
    ___________035.png
    3,5 КБ · Просмотры: 175
Спасибо. Еще вопрос. Вот так можно завязать рессору шасси и подкос  крыла в одном узле на сварном фюзеляже?
Нет, нельзя: для подкосного узла необходимо, чтобы узел был неподвижен; а для рессоры, наоборот, необходима подвижность в этом месте - при работе рессоры прогибается не только внешняя, но и внутренняя подфюзеляжная часть рессоры.
 
А как тогда тут подвижность обеспечивается?
 

Вложения

  • untitled_002.png
    untitled_002.png
    10,9 КБ · Просмотры: 173
А как тогда тут подвижность обеспечивается?
Вы меня спросили - я ответил. Если хотите, чтобы я спорил с безвестным автором чертежа - не дождетесь: тем более, что, не видя сечений вдоль рессоры, понять работу узла невозможно.
 
Нет, нельзя: для подкосного узла необходимо, чтобы узел был неподвижен; а для рессоры, наоборот, необходима подвижность в этом месте - при работе рессоры прогибается не только внешняя, но и внутренняя подфюзеляжная часть рессоры.
Хорошо. А вот так если из двух половинок?
 

Вложения

  • Landing_gear.jpg
    Landing_gear.jpg
    111,8 КБ · Просмотры: 167
Тут тоже завязаны в одном узле. Вы поймите правильно я не пытаюсь вас поймать на чем то, но: Вот вы говорите НЕЗЯ, атут на тебе вполне массовые самолеты с такой завязкой...
 

Вложения

  • 129_007.jpg
    129_007.jpg
    84,6 КБ · Просмотры: 170
  • MR-Arlington.JPG
    MR-Arlington.JPG
    66,2 КБ · Просмотры: 215
Нет, нельзя: для подкосного узла необходимо, чтобы узел был неподвижен; а для рессоры, наоборот, необходима подвижность в этом месте - при работе рессоры прогибается не только внешняя, но и внутренняя подфюзеляжная часть рессоры.
Хорошо. А вот так если из двух половинок?
Вы не можете понять одного: при работе рессора прогибается ВСЯ (подфюзеляжная часть при работе прогибается вниз) - поэтому, узел, связывающий рессору с фюзеляжем, обязан обеспечить ей подвижность по повороту сечения, зажав при этом от перемещений и поворотов относительно других осей.
Возьмите, скажем, вашу картинку из Ответ #533 - вне зависимости от того, целой ли скобой является рессора, или это две половинки, узлы могут быть похожими. Обратите внимание, что узел у борта имеет небольшую ширину, притягивая рессору к верхней опоре, которая должна иметь скругленную форму, чтобы при прогибе рессора не ударялась о кромки; нижняя, притягивающая поверхность также должна быть скругленной с теми же целями. Сделать так, чтобы рессора была намертво замурована в конструкцию фюзеляжа, можно, но нет никакого смысла, и никто так не делает - потому, что заделанная наглухо, часть рессоры не деформируется, а значит, не воспринимает кинетическую энергию самолета на посадке, которая и поглощается упругими элементами шасси,- и является лишь дополнительным весом.
Поэтому, возвращаясь к исходному вопросу, можно утверждать, что максимально приближать подкосный узел к шассийному не только можно, но и нужно, но конструктивно эти узлы должны быть полностью развязаны.
Теперь, наконец, понятно?
 
Непонятно

1)
можно утверждать, что максимально приближать подкосный узел к шассийному не только можно, но и нужно, но конструктивно эти узлы должны быть полностью развязаны.
Ну вот хоть убейте не пойму-на многих  самолетах с рессорой и подкосом эти агрегаты собраны в одном узле и конструктивно не развязаны. Пост 534 Китфокс например

2)
....притягивая рессору к верхней опоре, которая должна иметь скругленную форму, чтобы при прогибе рессора не ударялась о кромки; нижняя, притягивающая поверхность также должна быть скругленной с теми же целями.
Я понимаю что средняя часть должна прогибатся, но вот тут почему то сделав по крепежу закругления, ближе к средней части почему не только то болтами зажали, но и в "кармане" разместили-полностью обездвижев среднюю часть
 

Вложения

  • CZAW_Main_Gear_Attach_1M_163.jpg
    CZAW_Main_Gear_Attach_1M_163.jpg
    40 КБ · Просмотры: 170
но и в "кармане" разместили-полностью обездвижев среднюю часть
Карман там должен быть со слабиной - прогиб средней части невелик. У меня на Ларос-100 центральная часть рессор проходила в узком пространстве между полом и продольным валом РУС - полет нормальный. В противном случае (как уже говорилось выше) упругий материал закрепленной жестко части рессоры служит лишь балластом.
Если и сейчас неясно - имейте в виду, что "караул устал" заниматься ликвидацией безграмотности и класть в клювик еще более разжеванную кашицу не станет более.
Последнее замечание: в самодельных конструкциях, хоть и летающих, имеется столько ляпов, что волосы встают дыбом.
 
Спасибо.
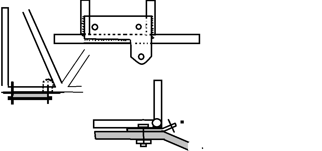
Еще вопрос, помогите разобраться:

Крыло заклинено под 4 град.(Лонжерон крыла тоже).  Через карданчик подкос  несколько отведен назад и закреплен нижним концом на горизонтальном фюзеляжном узле -этот узел стоит под 2 град(при виде сбоку). Не будет ли его как нибудь выкручивать(при виде с боку)?
 

Вложения

  • ___________036.png
    ___________036.png
    2,5 КБ · Просмотры: 158
Спасибо.
Еще вопрос, помогите разобраться:

Крыло заклинено под 4 град.(Лонжерон крыла тоже).  Через карданчик подкос  несколько отведен назад и закреплен нижним концом на горизонтальном фюзеляжном узле -этот узел стоит под 2 град. Не будет ли его винтом выкручивать(при виде с боку)?
Для исключения подобных неожиданностей необходимо стремиться, чтобы нагрузка воспринималась, передавалась и сдавалась по кратчайшему пути так, чтобы не создавать паразитных моментов. Вот, представьте себе обычную тягу и деталь, сделанную в виде коленвала, на котором и возникнут эти моменты. Поэтому стержни ферм располагают так, чтобы оси стержней узла сходились в одной точке; кронштейны и качалки, зачастую, имеют весьма замысловатую форму и пр.
Конструкция на рисунке просто вообще не продумана в этом смысле (лонжерон, скажем - зачем скручивать?) : продолжайте работать дальше, находите иные варианты, анализируя их с высказанной позиции - надеюсь, следующий вариант станет менее сырым.
 
Назад
Вверх