Модульный роторный ДВС.

Камера сгорания в вашей схеме представляет собой полуразделённую камеру сгорания в которой половина объёма приходится на вашу сферу,
Ну вот. еще один опровергатель, до 7 стр. не разобрался где КС. а где ресивер. Ресивер (а это часть устройства смесеобразования и регулирования). наполняет КС (она в роторе) уже сжатым ТВС, и далее КС (поворот ротора) направляется к элементам зажигания (и только там воспламеняется..
 
у меня кратно лучше, сфера со срезом
И чем, это лучше. В ванкеле КС просто содержит большую часть ТВС. А площадь поверхности КС пол сути является вся грань (ну нет нормального выстоя у ванкеля). И потому ванкель (как бензинка, еще хуже. чем поршень), и в приведенном варианте (одного объема) СС у ванкеля ниже, чем у поршня. А отсюда и КПД.
 
Kanonier- вы невнимательно читаете и кроме себя никого не слышите- я же сказал что все то что перечислил это ничего незначащая ерунда
Начинать ведь надо с самого начала
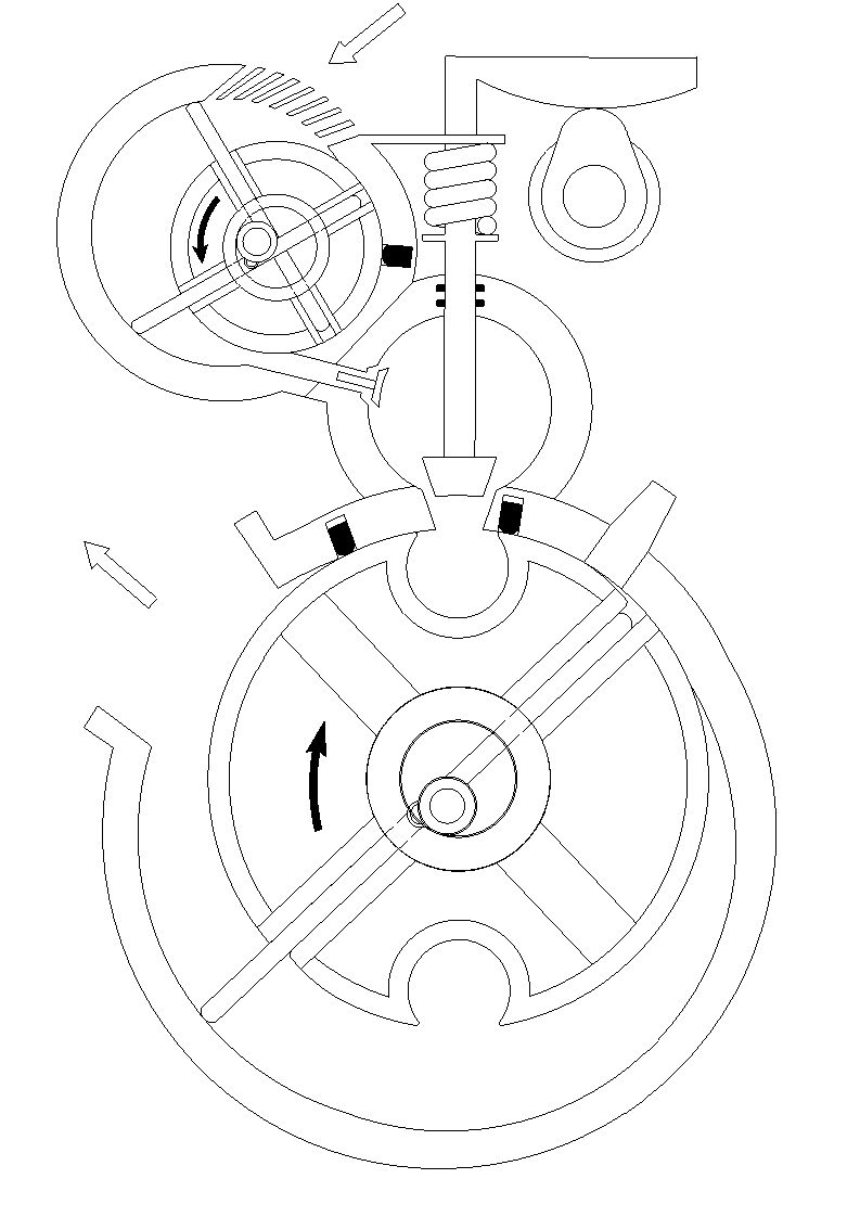
В начале у вас есть рисунок, по нему я вижу что ваша конструкция представляет собой два модуля построенные по одному принципу
каждый модуль состоит из корпуса, в котором имеется цилиндрическое отверстие, с торцов по видимому закрытое крышками
В отверстии с эксцентриситетом установлен ротор, через центр которого проходит паз (или пазы?) в котором установлена пластина длиной чуть меньше (чтобы зазорчик небольшой был) диаметра цилиндрического отверстия в корпусе (может не одна?) с возможностью скольжения в пазу ротора, ну и имеются какие то каналы для подвода и отвода газов

Я верно описал вашу конструкцию, или что-то не так сделано?
 
представляет собой два модуля построенные по одному принципу
Когда пишешь описание изобретения всегда включаешь следующую фразу-" устройство (двигатель) включает в себя соответствующие системы используемые в ДВС от охлаждения.. до зажигания" и в скобках (не показано). Это норма, потому как показываются схема ОТЛИЧИТЕЛЬНОЙ части, а все по умолчанию (после указанного заявления), не показанное должно быть. Вам не нравится этот тип компрессора, берем винтовой, поршневой и т.д. с соответственной производительностью.
Тут отличительная часть, это специализация модулей. Ресивер (уже указывал) часть устройства смесеобразования и регулирования. Преобразователь- главное отличие, и я указывал про овчинку. А вы опять будете разгонять второстепенную тему.
 
Схема двигателя. Че то, при переводе из Автокада в другой формат штриховка не прошла. Ну думаю разберетесь.

Посмотреть вложение 555446
Может компрессор заменить на центробежный, а лопаточный преобразователь заменить на радиальную турбинку, чтобы лопатки не приваривались. Камеру сгорания оставить сферической и неподвижной, но клапан между ресивером и кс не закрывать?
 
Я привык к цифрам,
И поэтому большинство ваших постов, это заклинания. Парадокс.
Вы слишком много занимаетесь дизелем, что отразилась на вашей психологии. И поэтому не воспринимаете мною сказанное. А, че в дизеле нет проблем с детонацией, и там СС еще выше, чем 14. И движки можно строить любого единичного объема. И чем объемнее, тем выше КПД (куб берет верх над квадратом). Нет проблем в использовании сверхбедных смесей, для дизеля это норма. И поэтому КПД дизеля выше. Поэтому и способы решения данных вопросов у вас не возникало. Совершенствовали механику, занимались уплотнениями и т.д. А эту тему в институте вы прогуляли. Ну вы терялись, когда я вам задавал вопрос по теме. Ну когда было- ДА или НЕТ.
Ну бывает.
Так. что способы поднятие КПД у «бензинок» для вас китайская грамота. К примеру, серьезная зависимость детонации: 1. от площади КС, 2. от формы КС 3. От количества остаточных газов. 4. от степени обеднения смеси. 5.естественно бензин. Обойти это можно. Но скорость нарастания давления (а при СС 14 , мах давление подскакивает до 11,2 Мпа) обойти поршневой не в состоянии.
У нас движок 0,5 л имеет площадь 67 кв.см, (шар диаметром 4,6 см) , у поршневого данного объема 130 кв.см. Форма КС в нашем случае идеальная. и детонации не будет. И скорость повышения давления КС по данной схеме не существенна (я писал уже почему). И нравится вам, или нет, так будет. Опровергнуть доводами вы не в состоянии. Поэтому опять будут заклинания.
 
Kanonier - попробую спросить еще раз- я правильно описал конструкцию изображенную на вашем рисунке или нет?
 
попробую спросить еще раз- я правильно описал конструкцию изображенную на вашем рисунке или нет?
Правильно. НО изобразим компрессор и ресивер как черные ящики (есть вход, и выход с соответственными параметрами) и забудем про это. Ввязываться во второстепенный спор у меня нет желания. Суть идеи в преобразователе. Рисунок это схема, даже расположение компрессора, преобразователя произвольно в пространстве (на рисунке, там для наглядности). Может быть и соосно, под углом, в разных плоскостях и т.д (спасибо ресиверу крути как хочешь. Поймите это, и все энергию разрушения направьте на преобразователь.
 
Ресивер (а это часть устройства смесеобразования и регулирования). наполняет КС (она в роторе) уже сжатым ТВС, и далее КС (поворот ротора) направляется к элементам зажигания (и только там воспламеняется..
При степени сжатия в 14, воздух после компрессора (даже при КПД компрессора более 0.85) нагреется более 600К (+327С). КлайперМенд, самовоспламенение.
Наверное поэтому топливо нужно подавать в камеру сгорания. Дополнительно, при изобарном сгорании, будет экономичней.
 
Ну вот. еще один опровергатель, до 7 стр. не разобрался где КС. а где ресивер. Ресивер (а это часть устройства смесеобразования и регулирования). наполняет КС (она в роторе) уже сжатым ТВС, и далее КС (поворот ротора) направляется к элементам зажигания (и только там воспламеняется..
вы воспринимаете то, что вам пишут или предпочитаетете изображать глухаря на току?
Я для чего привёл вам рисунок на котором изображена ваша камера сгорания? Где вы на нём увидели ваш ресивер?
 
вы воспринимаете то, что вам пишут
Тогда потрудитесь объяснит, че вы тут написали.
voleg сказал(а):
Камера сгорания в вашей схеме представляет собой полуразделённую камеру сгорания в которой половина объёма приходится на вашу сферу,
Какая половина объема КС?
Или имели ввиду площадь?. Или приняли элемент зажигания за пустотелый объем?
Нихрена не понятно.
 
  • Отличная шутка!
Reactions: RVD
При степени сжатия в 14, воздух после компрессора (даже при КПД компрессора более 0.85) нагреется более 600К (+327С). КлайперМенд, самовоспламенение
Да, потери (снижение температуры) в в первой камере ресивера (просто накопитель воздуха) будут. Но во второй камере (смесеобразование, регулирование) температурный режим поддерживается (если че, можно подогреть отходящими газами из коллектора (все рядом находится) или охладить (система охлаждения присутствует). Но и самое главное использование сверхбедных смесей (с альфа от 1,5 до 2,5), а зажечь с таким избытком воздуха смесь, надо очень постараться.
 
  • Мне не нравится
Reactions: RVD
Kanonier- персонально по вашей просьбе энергию направляю кудЫ просили
Дело в том, что я, как уже говорил, сначала посмотрел на ваше предложение одним глазом, а недавно взял и глянул снова одним полностью открытым а другим чуть прищуренным, короче где то глазом с половиной.
Есть конечно разные науки, прикладные, фундаментальные, естественные и не очень - есть теория двс, есть теория компрессоров, есть теоретическая механика и тд и тп.
Открою вам страшную тайну есть еще МАТЕМАТИКА, и в ней существует раздел который называется ГЕОМЕТРИЯ, которая описывает свойства окружающего нас пространства- то есть то что может существовать в трехмерном пространстве а что нет.

Так вот, если взять цилиндрическую полость и найти подходящую пластинку, которая в нее плотненько входит, то эта самая пластинка может вращаться в этой полости только относительно оси этой самой цилиндрической полости и смещаться в цилиндрической полости пластинка может только на величину зазора.
Поэтому, предложенная вами конструкция может находится только в одном положении, когда центр вашей пластины совпадает с центром цилиндра, а ось паза в роторе также проходит через центр цилиндра, и никакое вращение вашего ротора совершенно невозможно.
Ну вот такая гадкая геометрия у нашего мира существует, что вас конечно совершенно не устраивает и вы конечно же немедленно создадите другое пространство, в котором все сразу же завращается.
Так что никакого сжатия и расширения, наполнения и опорожнения ресивера, прогрева и охлаждения, сгорания и подачи свежего сжатого заряда у вас нет и в принципе быть не может , по той простой причине что НИЧЕГО У ВАС НЕ ВРАЩАЕТСЯ.
И обсуждать тут совершенно нечего, по причине отсутствия объекта для обсуждения, и все ваши потуги словоблудия совершенно бессмысленны.
Лучше всего характеризует предложенную вами схему слово
МАРАЗМ
Вы не расстраивайтесь сильно, не всем дано создавать что то новое, тем более что то новое вряд ли получится если пытаться создавать какую-то схему путем комбинации известных устройств используя их не по назначению в извращенной форме.
У америкосов есть такая поговорка- "Доллар тому кто придумал, десять тому кто сделал и сто тому кто продал" , так, что даже если вам совсем нечем заняться, есть более выгодные области приложения своих сил, а создавать новое дело совершенно неблагодарное, тем более это совершенно не для вас, для этого у вас напрочь отсутствует необходимое для создателя качество- КРИТИЧЕСКОЕ ОТНОШЕНИЕ К СОБСТВЕННЫМ ИДЕЯМ, вам ведь больше всего хочется сразу фрак и в Стокгольм, а так не бывает.
 
сначала посмотрел на ваше предложение одним глазом, а недавно взял и глянул снова одним полностью открытым а другим чуть прищуренным
Лучше бы вы закрыли оба, и ПОДУМАЛИ. Профиль рабочей полости корпуса (не цилиндр), а полнопериодная косинусоида (отсчет от НМТ), закрученная в окружность. Если вы будете говорить, что на рис. окружность, то вы точно чудак. Я же на схеме не буду вырисовывать реальный профиль стенки корпуса (легче в описании написать, а я уже на форуме писал об этом).
Так, что выстрел в ногу себе. Как там у янки-"хромая утка".
 
  • Мне не нравится
Reactions: RVD
Ха, тут из засады и RVD показался. Но. я бы на его месте на всякий случай убрал бы восторг от поста Варана. Варан. сейчас одумается, и придет с извинениями (ну как порядочный человек). А, вы? Ну, я так понял, тоже так считаете как Варан?
Да, "технари".
 
как же так, насчет порядочности- я же вас прашивал-
"В начале у вас есть рисунок, по нему я вижу что ваша конструкция представляет собой два модуля построенные по одному принципу
каждый модуль состоит из корпуса, в котором имеется цилиндрическое отверстие",
и вы все это подтвердили, а теперь уже не так оказывается. На ходу переобуваетесь
О чем с вами можно разговаривать то.
 
аждый модуль состоит из корпуса, в котором имеется цилиндрическое отверстие",
А перед тем как готовить ушат с дерьмом, что бы на меня вылить, хотя бы спросили вежливей. А разобраться с механизмом выдвижения, он же открыт, рисунок представлен, там все можно понять, о законе выдвижения?
Профиль рабочей полости корпуса (не цилиндр), а полнопериодная косинусоида (отсчет от НМТ), закрученная в окружность.
И, что буду это изображать на схеме? А что корпус цилиндрической формы, (в описании пустотелый цилиндр прикрытый крышками с опорами для вала ротора, про профиль внутренней стенки -отдельно, ну то что я написал выше) ну с наружи почти. А теперь, я еще и виноват, что вам приготовленный ушат пришлось на себя вылить.
Ну и извинений, я и не дождусь. Человек как бы не очень ......... Ладно не привыкать.
Ну, что опять торпеда мимо, едем дальше. И когда на схему смотрите, вы меня спрашивайте, а не сразу делайте выводы про маразм.
Ну, че RVD? Я же говорил, что не надо спешить.
 
Последнее редактирование:
Куда вежливей то- вам задали четкий вопрос вы все подтвердили, и именно о вашей схеме и форме корпуса я вас и спросил, когда до вас дошло стали выкручиваться, о форме отверстия в тексте вы нигде не упоминали, так что вполне возможно оправдание вы придумали на ходу, так что это именно вам следует извинится и за свое непонимание элементарных вопросов (если вначале вы конечно не считали отверстие цилиндрическим) и за навешенные ярлыки на здесь присутствующих, и за отсутствие элементарных знаний по ряду предметов и апломб при ответе на замечания.

Ну и извинений, я и не дождусь. Человек как бы не очень ......... Ладно не привыкать.

Но что то в дальнейшем обсуждать с вами смысла никакого не вижу, так что пока, привет семье. И да что то новое (а тем более двс) создать у вас вряд ли получится- не ваше это, так что не мучайтесь
 
Совет вам да любовь 😆 🏴‍☠️
 
Назад
Вверх