Вопросы к В.П.Лапшину

Для одной лишь скорости-и ни километра/час больше или меньше
 
Например эффективность  рулей разная на разных скоростях, а эффект от  тиммерования отгибной на земле пластиной разве  тоже не зависит от скорости?
 
Большое Спасибо за разъяснение Владимир Павлович ,сегодня возьмусь за установку триммер ножа.с уважением schalke.
 
Владимир Павлович разрешите вопрос. Можно ли при расчете на прочность лонжерона  свободнонесущего крыла пользоваться следующим правилом: сигма крит верхн пояса =0,8*сигма b ,при условии что нету местной потери устойчивости; именно по этой причине материала в верхнем поясе больше чем в нижнем?
 

Вложения

  • rr_002.jpg
    rr_002.jpg
    61,4 КБ · Просмотры: 162
Владимир Павлович разрешите вопрос. Можно ли при расчете на прочность лонжерона  свободнонесущего крыла пользоваться следующим правилом: сигма крит верхн пояса =0,8*сигма b ,при условии что нету местной потери устойчивости; именно по этой причине материала в верхнем поясе больше чем в нижнем?
А с какого перепугу критическое напряжение должно быть таким? Ну, представьте себе полку квадратного сечения, где местной потери устойчивости не может быть по определению - но критическое напряжение так и будет считаться по формуле Эйлера, связывающей модуль упругости, длину и радиус инерции.
Так, что расчета не избежать по-любому.
 
Например эффективность  рулей разная на разных скоростях, а эффект от  тиммерования отгибной на земле пластиной разве  тоже не зависит от скорости?
А прикиньте сами : и кренящий момент от кривизны самолета меняется пропорционально квадрату скорости - и момент, создаваемый элеронами под воздействием отогнутой пластины меняется точно так же.
Естественно, эти рассуждения не абсолютно строги - но характер влияния описывают правильно: полеты на устойчивость-управляемость проводятся отнюдь не на одной скорости, и, мало того, что сбалансированный самолет с брошенными рулями летит прямо - но и после импульсов по каждому из каналов возвращается к исходному режиму.
 
Спасибо  В.П. за предыдущий ответ. Можно еще получить консультацию.
В описании самолета Як-18 написано что концевая часть переднего лонжерона крыла согнута в швеллер и приклепана к основной  его части. 
Каким образом ,в данном случае, передаются  осевые силы в поясах лонжерона, там ведь разрыв получается . Про соединение внахлест там ничего не сказано, в отличии от заднего лонжерона.
Можно ли  такой  лонжерон взять за образец или есть более технологичные конструкции?
 

Вложения

  • jak.JPG
    jak.JPG
    50,9 КБ · Просмотры: 169
Спасибо  В.П. за предыдущий ответ. Можно еще получить консультацию.
Да, за ради Бога.
В описании самолета Як-18 написано что концевая часть переднего лонжерона крыла согнута в швеллер и приклепана к основной  его части. 
Каким образом ,в данном случае, передаются  осевые силы в поясах лонжерона, там ведь разрыв получается . Про соединение внахлест там ничего не сказано, в отличии от заднего лонжерона.
Никакого разрыва, конечно, нет, и быть не может. Я, на память, не могу подсказать, как именно сделано на Яке, но соединение полок внахлест не является единственным вариантом - есть и иные возможности:
- изгибающий момент в месте перестыка имеет такой уровень, что обшивка носка способна сама воспринять;
- полки лонжерона могут быть перестыкованы на накладках с внутренней стороны полок;
- но, внимательно рассматривая картинку выше, можно сделать практически однозначный вывод -  судя по всему, на полках лонжерона со стороны корня, сделаны внутренние подсечки и концевой элемент лонжерона, согнутый из листа, просто надет на корневую часть без ступеньки по внешнему обводу.
Можно ли  такой  лонжерон взять за образец или есть более технологичные конструкции?
[/quote]Можно, безусловно - хотя и других вариантов достаточно.
 
Добрый вечер!
Посоветовали Вас как грамотного специалиста в своей области.
К делу. Не нашли из какого материала изготовлены болты крепления моторамы на ВИЛЬГЕ-35А. Могли бы Вы подсказать, со свойственной Вам рассудительностью, какой материал взять для этих болтов и какую твёрдость им предать?
Заранее спасибо!
 
Не нашли из какого материала изготовлены болты крепления моторамы на ВИЛЬГЕ-35А. Могли бы Вы подсказать, со свойственной Вам рассудительностью, какой материал взять для этих болтов и какую твёрдость им предать? 
Какую нынче сталь применяют поляки - не знаю.
Но с уверенностью могу сказать, что 30ХГСА будет не хуже, чем что бы то ни было. Твердость болтам надо иметь 35...41 единиц HRC, что соответствует пределу прочности 110... 130 кГ/мм^2.
 
Nickky писал(а) 21.05.15 :: 20:38:22:
Владимир Павлович рад что Вы снова в строю.
Позвольте один вопрос. Есть основной лонжерон крыла СН750, но отсутствует уголок для полок лонжерона. Вопрос такой: можно ли использовать на полки уголок 25х25х2,5 мм Д16т взамен 1"х1"х0,125" 6061т6. Простой пересчет (исходя из равнопрочности сечений) предела кратковременной прочности и на смятие показывает что можно, но есть ли здесь какие-то "грабли", на которые еще следует обратить внимание.

Сравнивать, перемножая площадь сечения профиля на сигму временную, здесь некорректно - вполне вероятно, что решающим здесь окажется критическое напряжение по общей,или местной потере устойчивости: для нее разность в пределах прочности материала фиолетова, а модули упругости у названных сплавов примерно равны.
Более, увы, мне сказать нечего - не пересчитывать же мне крыло под Ваш сортамент?

Владимир Павлович, позвольте еще один вопрос про этот уголок. Есть уголок В95 40х40х2, в этом случае сечение немного с запасом (156 мм2 против 141 мм2). На что в случае такой замены следует обратить внимание.
 
Владимир Павлович, позвольте еще один вопрос про этот уголок. Есть уголок В95 40х40х2, в этом случае сечение немного с запасом (156 мм2 против 141 мм2). На что в случае такой замены следует обратить внимание.
В случае замены дюраля на В95, при неуменьшении сечения, следует иметь в виду следующее:
- В95 гниет (корродирует) в атмосфере еще сильнее, чем дюраль;
- В95 более чувствителен к концентраторам напряжения и более склонен к трещинообразованию.

Соответственно, выводы: к антикоррозионной защите надо отнестись более серьезно, а работать с деталью надо аккуратнее, не оставляя царапин, зачищая и скругляя острые кромки. Кромки отверстий также надо притупить, а весь крепеж перед постановкой в эти отверстия необходимо покрыть сырым грунтом.
 
Спасибо Владимир Павлович! Буду стараться уделять максимум внимания этим особенностям.
А имеет ли смысл увеличивать диаметр болтов (например с м6 на м8) или заклепок, так как из-за меньшей толщины стенки теряется треть площади работающей на смятие?
 
Спасибо Владимир Павлович! Буду стараться уделять максимум внимания этим особенностям.
А имеет ли смысл увеличивать диаметр болтов (например с м6 на м8) или заклепок, так как из-за меньшей толщины стенки теряется треть площади работающей на смятие?
Смысла не вижу - толщина стенки вполне должна компенсироваться более высоким пределом прочности и текучести.
 
сделаны внутренние подсечки и концевой элемент лонжерона, согнутый из листа, просто надет на корневую часть без ступеньки по внешнему обводу.
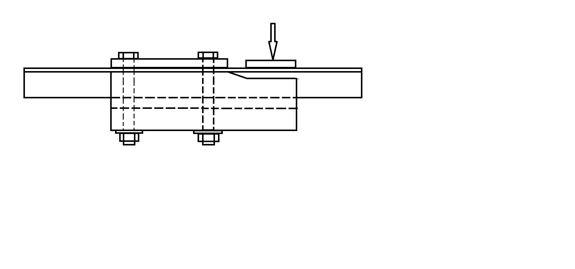
В.П. Если соединить концевую часть лонжерона с корневой таким образом как на картинке будет нормально?
Так же возник вопрос по подсечке. Ее реально сделать в домашних условиях, например с помощью фрезы?
 

Вложения

  • 1_1320.jpg
    1_1320.jpg
    39,4 КБ · Просмотры: 151
  • 2_949.jpg
    2_949.jpg
    23,8 КБ · Просмотры: 150
  • 3_013.png
    3_013.png
    42,2 КБ · Просмотры: 158
В.П. Если соединить концевую часть лонжерона с корневой таким образом как на картинке будет нормально?
Так же возник вопрос по подсечке. Ее реально сделать в домашних условиях, например с помощью фрезы?
Подсечка - это не фрезерование, а изгибание профиля: поэтому, вторая картинка не годится. Кроме того, подсечку нет необходимости делать в двух плоскостях - достаточно подсечь полку.
Выполняется подсечка по следующему принципу: уголок в месте подсечки фиксируется за обе полки; отступив на 4 глубины подсечки, уголок также зажимаются за обе полки; после этого вторая часть смещается плоскопараллельно на нужную глубину.
Конструктивное оформление оснастки может быть различным - так, мне приходилось этим летом подсекать уголок 30 х 30 х 3, использовав следующую конструкцию. В стальном бруске выполнен пропил шириной, равной толщине полки, на этом бруске профрезерован, как бы, шаблон подсечки ( можно было бы и кругом, абразивным диском, или просто напильником). Вставляем уголок в пропил, накрываем пластиной, фиксируя уголок, свинчивая брусок и пластину между собою. Свободный крнец уголка нависает над выфрезерованной частью: ставим все под пресс, накрываем пластинкой же и придавливаем. Все.
 

Вложения

  • _________083.jpg
    _________083.jpg
    33,9 КБ · Просмотры: 148
Понял В.П. Фрезеровать полку значит нельзя скорее всего из-за возникновения концентрации напряжений.
Вообще-то - если толщина оставшейся после фрезеровки, полки не меньше, чем толщина полки концевой части, то особых препятствий к фрезеровке полки я не вижу.
А потребности во фрезеровки второй полки уголка нет, потому что надевать концевую часть лонжерона надо на уже склепанную из полок и стенки корневую часть лонжерона - тогда стенки соединятся просто внахлест.
Но насчет концентрации напряжений уже говорилось выше - поэтому должна быть галтель между исходной и фрезерованной частями.
 
Назад
Вверх