Роторно-винтовой двигатель

Да лезут в голову всякие изощренные схемы герметизации винтовых пар. Вдруг нечаянно разгадаю новое ноу хау Игоря Петровича...
Любопытно было бы взглянуть на ваши изощренные схемы герметизации. Если они совпадают с моими, то наверное я двигаюсь в правильном направлении.
 
Любопытно было бы взглянуть на ваши изощренные схемы герметизации. Если они совпадают с моими, то наверное я двигаюсь в правильном направлении.
Ну это рисовать надо, смотреть...
 
Да лезут в голову всякие изощренные схемы герметизации винтовых пар. Вдруг нечаянно разгадаю новое ноу хау Игоря Петровича...
Игорь Петрович и так поделится, когда сделает. А пока не будем расстраивать "Атлас-Копко", пускай они думают, что круче них никого нет. 🙂
Многие западные технологии нам недоступны, а всё потому, что мы всегда пытаемся повторить то, что у них уже поставлено на поток. А наш народ создает только тогда нечто свое, когда не может это купить, поэтому так и развито "кулибничание". В интернете сплошь ролики про всяких там гаражников, которые и турбины делают, и всякие там махолеты, и мотор колеса Диунова... .

Мы тут уже не помню с кем обсуждали тему шторкового привода, и один вопрос завис, а как же быть с оппозиткой, ведь на нее шторки не поставишь, а вот оказывается тоже можно (см. пример исполнения ниже).


12.jpg
 
Последнее редактирование:
Мы тут уже не помню с кем обсуждали тему шторкового привода, и один вопрос завис, а как же быть с оппозиткой, ведь на нее шторки не поставишь, а вот оказывается тоже можно
По всей видимости мне Вы предлагали шторки, поскольку узнаю свои каракули.

Концепт мне показался интересным, и даже хотел взять в руки калькулятор, но понял, что, что-то считать особого смысла нет.
Во-первых такие полу-гильзы будут весить явно больше чем один клапан, соответственно потребуются и более мощные пружины для возврата этих шторок, иначе система будет зависать даже на небольших оборотах. Что потребует больше затрат энергии на работу ГРМ.
Во-вторых, гильзы будут поджаты поршневыми кольцами, что тоже затруднит их движение.
В-третьих, между полу-гильзами естественно будут продольные зазоры, через которые газы будет гнать в картер, как у дохлого двигателя.
И в-четвертых, на Вашем эскизе появился еще один распредвал. Значит еще одна шестерня и еще одна пара подшипников. И, кстати, соответственно появляется и еще по одной гильзе на каждый цилиндр.

И что этому всему мы будем иметь взамен? Более узкий двигатель? А это разве большая проблема?
Ширина одноместного кокпита или тандема минимум 750мм. В эти габариты обычный оппозитник вроде помещается.
 
Последнее редактирование:
По всей видимости мне Вы предлагали шторки, поскольку узнаю свои каракули....И что этому всему мы будем иметь взамен? Более узкий двигатель? А это разве большая проблема?
На 40% уменьшение габаритов, допускаю, может и ерунда. К "ерунде" добавлю еще немного соображений - двухклапанная конструкция имеет 16% пропускной способности от площади головки, четырехклапанная - 26 %, шторковая до 42% без единого поворота потока, плюс свободная от клапанов головка без склонности к перегреву. Толщина шторки выбирается как и у основоположника этого направления Рикардо - 1.25-1.5 мм, соответственно масса деталей равнозначна с обычным распредвальным вариантом и клапанным приводом, а в случае со штангами, весовая отдача заметно лучше. Следующее, зазор между шторками 0.03-0.05 мм (допустим уход и в "ноль") что диктует однозначно выбор в пользу алюминиевого блока и стальных азотированных "полугильз". При выходе на рабочую температуру зазор увеличится за счет разницы теплового расширения люминя и стали, но если сравнить указанный зазор с зазором в замке первого поршневого кольца (0.35-0.50 мм), то это в десять раз меньше, плюс разница в высоте зазора 1.5 мм толщины гильзы против 3.5-4.0 мм. толщины кольца. На тыльной стороне шторки ставится маслосбросное кольцо, которое не позволяет смазке со стороны блока попадать на кромки окон, плюс верхнее компрессионное кольцо не доходит до низшей точки опускания шторки, что исключает поломку колец при подходе поршня к ВМТ с полностью открытыми окнами газораспределения. И далее, шторка неподвижна во время сгорания, и как и клапан (во время выстоя закрывает собой окно свободно с огибанием изнутри дугу окружности стакана) и садится на коническую посадку, только фасками в обратную сторону (т.е. имеем двойной газовый замок). К последнему пункту надо дать некоторое пояснение, дело в том, что клапанный привод в отличии от всех других запорных органов газораспределения (когда либо апробированных в ДВС) прижился лишь по тому, что во время сгорания такой клапан неподвижен, что обеспечивает ему длительный период эксплуатации, тогда как все другие органы газораспределения находятся в постоянном движении, что вызывает их быстрый износ, в том числе и гильзовое газораспределение Рикардо, и двухгильзовое газораспределение Берта-Мак-Колума (кажется правильно назвал), и тем более дисковое, золотниковое... . А здесь на период сгорания шторка как и клапан неподвижна, давление упало, шторка пришла в движение.
 
По поводу ваших винтов.
Зачем тащить воздух вдоль этих винтов, отнимая у него теплоту? Не проще ли сжимать этот воздух сразу на входе, как у масляных насосов, например. И, так же как и у масляных насосов, вместо второго винта использовать корпус, как на картинка RVD.

Это намек на то, что если продолжать развивать эту логику, то неизбежно упираешься в роторно поршневой двигатель.
А если есть острое желание отделить систему сжатия от камеры сгорания, а оную от системы расширения, то проще использовать, на мой взгляд, систему коловратов Тверского, только с современными S-образными кулачками. Как на водяных насосах. Вот вам и любое сжатие и за один присест и ничего не надо изобретать.

насос.jpg
 
К "ерунде" добавлю еще немного соображений
В общем, я не против колхоза, лишь бы не нашей деревне.
Клапана стоят ровненькими рядами в любом магазине, а ваши гильзы надо где-то и как-то изготавливать. Кстати, их ведь может и вести от разно нагрева и подклинивать.
Вы автор, Вам и преодолевать все трудности вплоть до наработки часов работы опытных экземпляров.
Мир удивлять сейчас уже неблагодарная работа, поэтому лучше гарантированный результат, пусть и немного крупнее. Масса, кстати, важнее, а она точно меньше не будет.
 
  • Мне нравится!
Reactions: BSM
По поводу ваших винтов.
Зачем тащить воздух вдоль этих винтов, отнимая у него теплоту? ... Вот вам и любое сжатие и за один присест и ничего не надо изобретать.

Вы слишком упрощаете проблему. Из-за ограниченности времени могу лишь тезисно пояснить что к чему. Вот возьмем к примеру компрессор РУТс, он воздух сжимает и выдает в ресивер крайне неравномерно, туда сюда гоняя воздух, т.е. с высокими затратами,. Смысл постепенного сжатия, чтобы сжать воздух без рывков ни как в РУТс - "изохорически", а "политропно", как в Лисхольме, приближая сжатие к "изотерме". В машине Тверского, и еже с ней, изменение объемов происходит мгновенно, что приводит к большим потерям энергии, и падению КПД. А винтовая машина обеспечивает нагнетание в разы больше чем любая другая, с высоким КПД, чего еще желать. Единственная проблема, как пристроить к высокооборотной винтовой паре малооборотную расширительную машину с высоким крутящим моментом, да чтоб без клапанов.

В общем, я не против колхоза, лишь бы не нашей деревне.
Согласен, не склонен и навязывать, мы просто обмениваемся соображениями, и не более того. У меня и без этого тоже есть чем заняться.
 
Последнее редактирование:
Вы слишком упрощаете проблему.
А Вы значит недооцениваете такие механизмы, никакого туда сюда. Чем быстрее сжатие, тем меньше потерь энергии.
Единственная проблема, и очень серьезная, это очень большие пики крут. момента. Двигатель на такой основе будет не слабо колбасить по кручению вдоль оси. Далее длинный список преимуществ.
Ну да ладно, все равно мы здесь своими секретами делиться не будем. Я по крайне мере точно. Поэтому не будем спорить.
 
По поводу ваших винтов.
Зачем тащить воздух вдоль этих винтов, отнимая у него теплоту? Не проще ли сжимать этот воздух сразу на входе, как у масляных насосов, например. И, так же как и у масляных насосов, вместо второго винта использовать корпус, как на картинка RVD.

Это намек на то, что если продолжать развивать эту логику, то неизбежно упираешься в роторно поршневой двигатель.
А если есть острое желание отделить систему сжатия от камеры сгорания, а оную от системы расширения, то проще использовать, на мой взгляд, систему коловратов Тверского, только с современными S-образными кулачками. Как на водяных насосах. Вот вам и любое сжатие и за один присест и ничего не надо изобретать.

Посмотреть вложение 509540
Компрессор должен иметь внутреннюю степень сжатия, а детандер - степень расширения. Машина тверского, нагнетатель Рутса, шестеренчатый насос не подходят на роль компрессора. Только на роль НАСОСА! Поэтому придется тащить воздух вдоль витков. А что бы снизить тепловые потери надо увеличить быстроходность машины. Чем выше обороты, тем меньше тепла успевает проникать в стенку. Схема двигателя и бесконтактная работа позволяют крутить винты до высоких оборотов. Газодинамика и непрерывное горение топлива в бочке (камере сгорания) так же позволяет быстро, полностью и эффективно сжигать топливо, причем даже низкосортное.
 
А что бы снизить тепловые потери надо увеличить быстроходность машины. Чем выше обороты, тем меньше тепла успевает проникать в стенку.
Полностью согласен. Только если сжатие происходит за четверть оборота ротора, то высокие обороты не нужны. Соответственно не нужен и редуктор.

Не совсем понятно, что подразумевается под внутренней степенью сжатия.
В моей конструкции на основе Тверского (полностью проработана) сжатие в каждой из двух симметричных камер начинается в пустую камеру сгорания, выдавливается в нее 100% воздуха и перекрывается самим телом ротора. Далее эстафета передается детандеру, в котором объем расширения больше чем объем сжатия.
 
двухклапанная конструкция имеет 16% пропускной способности от площади головки, четырехклапанная - 26 %, шторковая до 42% без единого поворота потока
Слишком большая пропускная способность тоже плохо. Входящий поток должен иметь определенную скорость, свыше 50м/с слышал. Иначе плохое смесеобразование.

А может быть гидропривод этих шторок? Так же от кулачков, но в удобном месте. Работать точно будет, правда, при запуске нужна система подготовки (автоматическое удаление воздуха и т.п.) А во время работы система будет обновляться в каждом цикле.
 
Не совсем понятно, что подразумевается под внутренней степенью сжатия.

Имеется в виду внутреннее между винтами политропное сжатие, а в машине Тверского сжатие с "мгновенным изменением объемов", это не адиабата, и даже не изотерма, а изохора, которая несет колоссальные газодинамические потери.

Слишком большая пропускная способность тоже плохо.

Тут вы не правы, чем меньше скорость потока на входе, тем меньше потери, тем лучше, а в целом, снятие ограничение по пропускной способности на входе (60 м/сек) и выпуске ( до 200 м/сек), снимает одно из ограничений по росту оборотов, и это один из главных лимитирующих факторов мешающих форсировать моторы. Сказанное справедливо и для винтов, высокая скорость и большие объемы прокачки через винтовой компрессор воздушной массы являются хорошим козырем такой машины против поршневого ДВС.
 
А может быть гидропривод этих шторок? Так же от кулачков, но в удобном месте. Работать точно будет, правда, при запуске нужна система подготовки (автоматическое удаление воздуха и т.п.) А во время работы система будет обновляться в каждом цикле.

В шторковом приводе лучше применить десмодромный привод, это идеальное решение для органов управления. Он туда легко и встраивается.
 
Любопытно было бы взглянуть...

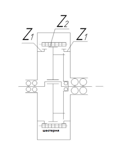
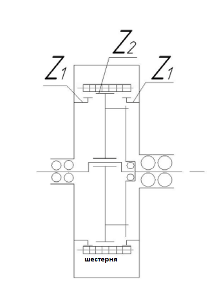
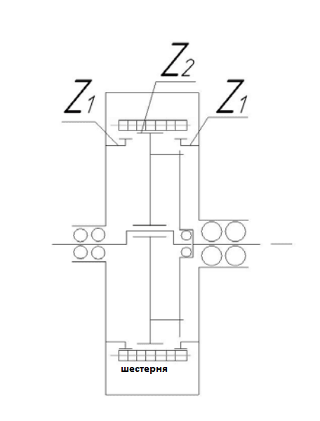
Рекомендую... вот схема, которая сильно упрощает передачу вращения ваших высокооборотных винтов на выходной тихоходный вал - дёшево и сердито.
 

Вложения

дёшево и сердито.
То что "сердито" это точно. Для приводов общепромышленного применения это нормально. Для авиационных редукторов это просто опасно. Что морской, что авиационный регистры очень консервативные вещи. Все правила у них писаны кровью и жизнями людей. Все эти цепи, ремни и прочие "подтяжки" не для авиации. Закон Паркинсона гласит: "Увеличение числа элементов это путь к гибели системы". Цепь имеет слишком много элементов и сочленений. Удел авиации обычные зубчатые редукторы без извращений.
 
  • Мне нравится!
Reactions: BSM
Паркинсона гласит: "Увеличение числа элементов это путь к гибели системы".
Этот закон опровергла электроника. Миллиарды элементов в чипе работают годами не выключаясь.
Правда, на всякий случай, для автомобилей оставили 90 нанометровую технологию, чтобы была 100%-ная надежность. Это только авиаторы думают (профессионалы, не чайники), что автомобили хлам, никакие детали от них нельзя ставить на авиацию. 😉
 
Цепь имеет слишком много элементов и сочленений. Удел авиации обычные зубчатые редукторы без извращений.
Есть точно такая же эксцентриковая планетарная передача, где вместо ненадежной цепи планетарная шестерня
эксцентрик.png
 
  • Мне нравится!
Reactions: RVD
Последнее редактирование:
Назад
Вверх