• Вышел новый выпуск программы ФлайтТВ, посвященный современным российским ЮПШ (юношеским планерным школам).
    Видео на Youtube. Ссылки на другие платформы и обсуждение в теме на форуме.

Роторно-винтовой двигатель

Да вы только на моих советах и держитесь, потому что сами вы ничего не знаете, вот и носитесь со своей комариной идеей как со списанной торбой.
У нас тут открылся ЧВК Вагнер центр, что от Пригожина, вот обратитесь лучше туда, там любые бредовые идеи обещают бесплатно финансировать. Сегодня кстати первый день презентации по адресу: Питер, ул. Зольная 2.
Чуть со стула не упал от смеха. На ваших советах?)))) Ничего что вы насоветовали я не использовал. Все решения которые я применил были взяты из учебников и обос... ны лично вами. И по переписке не сложно увидеть хронологию событий)))).
Непомерное ЭГО у нашего профессора)))
 
Там такой ресурс не потому что это предел, а потому что больше не нужно.
ну да КАНЕШНА, но я думаю нетрудно назвать ресурс недостижимый в ближайшее десятилетие,
скажем 24 часа или 48- вас устроит такой ресурс у вашего воображаемого двигателя?
 
В продолжении темы: Главная - ЧВК Вагнер центр (wagnercentr.ru)

Приглашаются все желающие отдать безДвозДмездно "родине" свои идеи. Всех посетителей ждет "виниловая долина" на смену "силиконовой", а г. Пригожин выходит на первое место по рейтингу после провала, и позорного бегства Прохорова.
 
У Вас в птс 21079 в первой записи , где преобретатель, частное лицо или воинская часть записана
Первая запись, частное лицо, впрочем смотрите сами..."лишнее" я убрал. Первый покупатель -1999 год, я второй с 2005 года.

025 — копия.jpg
 
Последнее редактирование:
Как и следовало ожидать наши проекты давно перекочевали на запад.
 
у вас опять все украли? Ну как же так!🤔

В отличии от Миллера занимающегося промышленным онанизмом, я всегда занимался и занимаюсь научными изысканиями, и нет ничего зазорного в том, что мне аналогичная идея пришла в 1999 году (на что был взят патент) тогда как шотландец русского происхождения получил патент в 2011 году, то есть разница в 12 лет. Разумеется рациональные мысли не только у меня в голове появляются, пару лет назад видел Авторское свидетельство нашего русского соотечественника, датируемое, кажется 1975 годом. Номер уже не помню, но совпадение конструкции на ролике и в этом Авторском абсолютное, вплоть до мельчайших деталей. Выводы каждый сможет сделать сам.
 
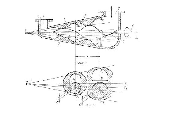
Вот кое что нашел из Советского периода по теме сжатия воздуха, Провоторхов В.С. 1968год. Есть еще более древние проекты

8.jpg
 
Овал с окружностью на конусно-винтовой геометрии не работают 🙁
 
Это точно. Как и сфера с окружностью.
 
mul_3res.gif

Такой вариант с большими камерами воздуха надует больше...
 
Посмотреть вложение 521175
Такой вариант с большими камерами воздуха надует больше...
Должен признать: идея прикольная в том плане, что это альтернативный вариант работы сопряженных профилей, когда элемент с большим количеством конусно винтовых "ручьёв" вращается внутри элемента с на единицу меньшим количеством ручьёв - своего рода конусно-винтовой Ванкель... Вариант с соотношением заходов 3:2 будет более работоспособным по сравнению с представленным Вами вариантом 2:1. А если ещё и сообразить эквидистанты... Это будет просто бомба!!!
 
Назад
Вверх