• Вышел новый выпуск программы ФлайтТВ, посвященный современным российским ЮПШ (юношеским планерным школам).
    Видео на Youtube. Ссылки на другие платформы и обсуждение в теме на форуме.

Самолет "Федот".

В итоге получилось 1.6кг.
 

Вложения

  • IMG_20170414_132650_1CS.jpg
    IMG_20170414_132650_1CS.jpg
    33,9 КБ · Просмотры: 278
  • IMG_20170414_132550.jpg
    IMG_20170414_132550.jpg
    36,8 КБ · Просмотры: 313
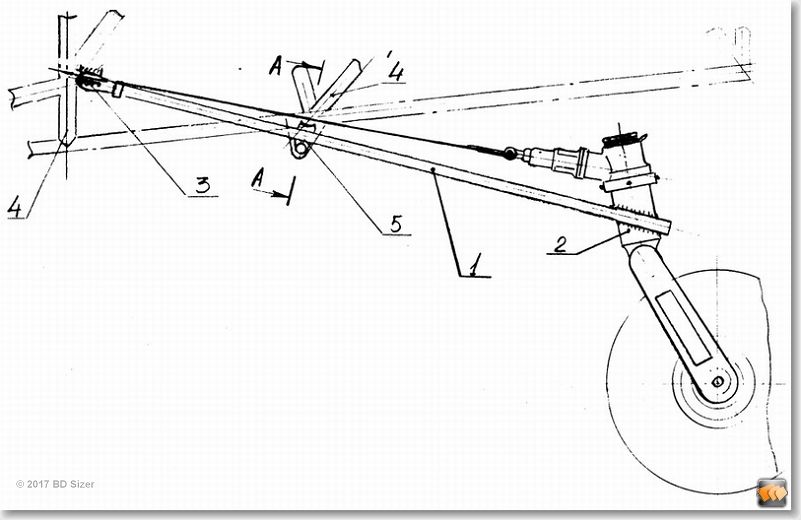
Следующим номером нашей программы будет РУД совмещенный с тормозом и фиксатором заднего колеса. А также кран раздельного торможения. Вопрос к общественности- посмотрел на кран  у людей и меня озадачило наличие четырех штуцеров. Функционально, что дает четвертая дырка? Мне предполагается, что хватит и трех.
 
На первом фото, пост 79, самоцентрующий узел. У него что, ось коническая?
 
Похоже из шаровой опоры от какого то ведерка сделано. Интересней другой момент.похоже в рессоре просто отверстие,нет ни какой ступицы. А от перекоса вилку с колесом спасает лишь площадь сопрягаемых деталей.Интересно оно не сильно болтается?
 
Вилка сидит на конусе, дальше в рессоре цилиндр. Ступици нет зазор выбран подбором шайб. Болтается в допустимых пределах. Дак как же с краном то?
 
rail может быть сваять что то в этом плане(имеется в виду наличие ступицы) .К томуже у Вас очень хорошо получается работать с металлом,доработать узел проблем не составит.
 
To schalke. Сейчас узел готов. И думаю пока переделывать большого смысла нет. Нагрузку держит. А варить рессору , она высокоуглеродистая, может трещать.
Меня заинтересовало решение фиксатора на вашем рисунке. Если можно выложите на обозрение.
 
С рессорой ито правда.А узел не мой-первый попавший в инете.Фиксатор там прост.К ступице приварена трубка с внутренней резьбой.В нее вкручен стакан,в донышке отверстие.А фиксатор,это подпружиненый штивт.К нему трос.В оси отверстие.А на свой хочу костыль постаквить,все одно с грунта летать.
 
С рессорой ито правда.А узел не мой-первый попавший в инете.Фиксатор там прост.К ступице приварена трубка с внутренней резьбой.В нее вкручен стакан,в донышке отверстие.А фиксатор,это подпружиненый штивт.К нему трос.В оси отверстие.А на свой хочу костыль постаквить,все одно с грунта летать.
Замечу следующее.
При такой схеме плотная посадка подпружиненного штифта затруднит до невозможности его вхождение в отверстие на оси, а при свободном вхождении, вследствие очень малых плеч, гарантирован люфт, снижающий достоинства фиксации колеса.
Поэтому, на МАИ-223 фиксатор представлял собой собачку, входящую в прорезь на диске, закрепленном на оси хв. колеса. Все работает, но рулить можно и с зафиксированным колесом, хотя развороты имеют большой радиус - поэтому, на Ларос 100 плечо еще увеличено, а вместо собачки применен крючок наподобие шассийного замка, зацепляющийся за штырь на вилке хв. колеса.
 
Уважаемый Lapshin. Вот честное слово, из данного вами описания мне очень трудно представит конструкцию узлов. Нельзя ли выложить ссылку или фото или схемку или рисунок. Заранее благодарен. 
 
rail купить ткань в складчину идея не плохая.Но 100м наверное тоже лишка.Мне так для обтяжки нужно 20-21м (только крылья). Вам примерно метров сорок.На остатки нужно искать еще кого то.
 
Господа оптимисты, посчитайте ткань из расчёта (Sкр+Sго+Sво)*2+ Sповерхности ф-жа+ 10% на заплатки. И может оказаться, что 100 метров на двоих как раз достаточно.
 
Замполит,у меня две консоли по 4,25м и хордой 1,3м.Элероны на рояльной петле 2,25м хорда 325мм.Полотно шириной 1,55м.И того на консоли четыре куска по 4,35м=17,4.Законцовки  ЦАГИ стекло,тянуть не надо.А отрез ткани 21м,остаток на элероны.Да еще и вырезы под элероны,так что на латки хватит.

Про CH точно не скажу,просто прикинул.Ну прибавь метров 10 ,все одно многовато.
 
Ну, может остаток я возьму 🙂. У меня на крыло в районе 30 квадратов нужно, фюз в десятку уложиться, а на оперение 5-6 придётся.  Грубо прикинув получается 50 метров. Итого 50 метров мне, а остальное вам с коллегой.
 
Блин,опять незадача.Теперь выходит одного рулона мало.У rail нужно спросить сколько ему нужно.Цена больно уж хороша. Артабан по300 продает,а тут 150.
 
Рукоятка управления двигателем, тормозами и фиксатором заднего колеса. Будет анодироваться и покрыта лаком деревянные части.
 

Вложения

  • IMG_20170505_103222.jpg
    IMG_20170505_103222.jpg
    41,5 КБ · Просмотры: 315
Что мешает снять с руда деревянные части и анодировать целиком. А деревяшки позже обработать, и прикрутить на место. Делать надо сразу хорошо, а плохо само получится...(с).
 
Назад
Вверх